
8月27日,据NMPA公示,北京福元医药提交的美阿沙坦钾片获批生产并视同过评。同日北京福元医药还拿下了畅销的尼麦角林片这款心血管系统药物,据药融云数据库显示,尼麦角林片在2023年全国院内市场的销售额超2亿元。

截图来源:NMPA官网
大涨的沙坦药11家药企围攻,北京福元医药斩获首仿
美阿沙坦钾是武田开发的血管紧张素受体拮抗剂(ARB),与其他沙坦类药物作用机制相同,通过阻止血管紧张素与血管上的受体结合,抑制“肾素-血管紧张素-醛固酮”系统(RAAS),从而发挥降压作用。2021年1月,武田药品的美阿沙坦钾片获批中国进口。2022年进入医保。近2年美阿沙坦钾片院内市场迅速放量,2022年销售额超35万元,2023年销售额超1400万,同比增长达4011.62%。

截图来源:药融云全国医院销售数据库
此前,国内只有原研企业武田制药1家拥有美阿沙坦钾片的生产批文。齐鲁制药、仁合益康集团等多家企业已经完成BE试验,并递交仿制申请。在仿制药布局方面,国内共有11家企业递交了美阿沙坦钾片的新4类报产申请。此次北京福元医药顺利获批,斩获首家过评+国内首仿。

截图来源:药融云过评药品汇总数据库
超700亿元心血管系统药物市场,福元医药持续加码
尼麦角林片是一款畅销的脑血管治疗用药,主要用于改善脑梗塞后遗症引起的意欲低下和情感障碍,急性和慢性周围循环障碍,也适用于血管性痴呆,尤其在早期治疗时对认知、记忆等有改善,并能减轻疾病严重程度。据药融云数据库显示,在2023年全国院内市场,心血管系统药物(化学药或生物药)总销售额达到743.5亿元,其中尼麦角林片的销售额超过2亿元。

截图来源:药融云全国医院销售数据库
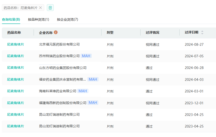
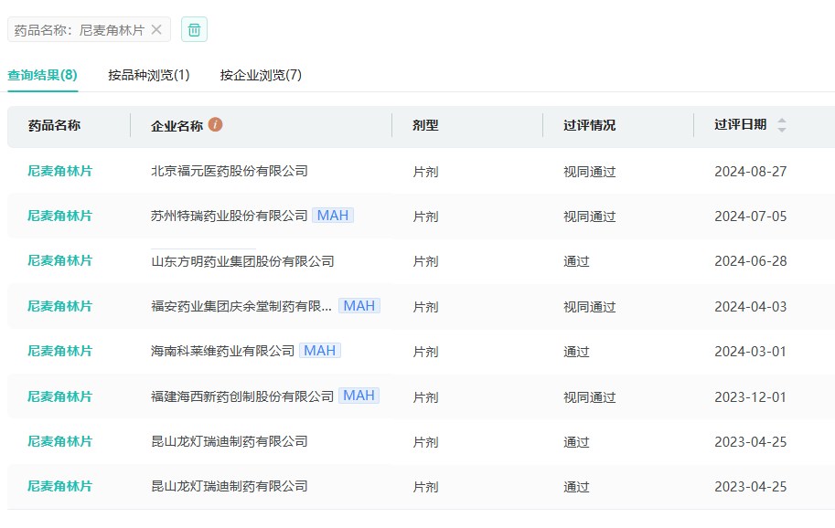
目前,国内有9家企业拥有尼麦角林片生产批文。在仿制药布局方面,有浙江华海药业、华益泰康药业、山东齐都药业等9家药企提交了仿制申请,均在审评审批中。一致性评价方面,尼麦角林片有北京福元医药、福安药业集团、山东方明药业集团等7家药企已过评或视同过评。

截图来源:药融云过评药品汇总数据库
目前,北京福元医药有15款心血管系统药物过评或视同过评,其中替米沙坦氢氯噻嗪片、美阿沙坦钾片、依折麦布辛伐他汀片、氯沙坦钾氢氯噻嗪片4个品种为首家过评。2024年至今,北京福元医药有13个品种过评或视同过评。
参考来源:
[1] NMPA官网
[2] 药融云数据库
<END>
想要解锁更多药物研发信息吗?查询药融云数据库(vip.pharnexcloud.com/?zmt-mhwz)掌握药物基本信息、市场竞争格局、销售情况与各维度分析、药企研发进展、临床试验情况、申报审批情况、各国上市情况、最新市场动态、市场规模与前景等,以及帮助企业抉择可否投入时提供数据参考!注册立享15天免费试用!








川公网安备51019002008863号
本网站未发布麻醉药品、精神药品、医疗用毒性药品、放射性药品、戒毒药品和医疗机构制剂的产品信息
收藏
登录后参与评论
暂无评论