
据《药融云全球在研新药与靶点月报》数据统计,2022年11月共有95个化药1类新药受理号获CDE承办(含补充申请25个),其中国产54个,进口16个,从申请类型来看,包括临床申请67个,上市申请3个,涉及48个品种,55家企业。
11月共有62个1类治疗用生物制品受理号获CDE承办(含补充申请13个),其中国产34个,进口15个,共计49个临床申请,涉及48个品种,58家企业。



图片来源:《药融云11月全球在研新药与靶点月报》
中药方面,11月共有6个中药1类新药受理号获CDE承办,从申请类型来看,包括临床申请4个,上市申请2个,涉及6个品种,9家企业。11月共有103款新药获批临床(共计161个受理号),其中包括51款化药,52款生物制品。(想要获取11月国内获批临床新药的完整信息,关注“药融云”公众号后台回复“报告”,或前往药融云数据库联系药融云客服获取并下载EXCEL表格)
11月有四款新药获批上市,分别为盐酸安舒法辛缓释片(绿叶制药)、林普利塞片(璎黎药业、宣泰药业)、对甲苯磺酰胺注射液(红日药业)和羧基麦芽糖铁注射液(维福制药)。

一、盐酸安舒法辛缓释片——打破一线抗抑郁药多年上市空白
山东绿叶制药的1类创新药盐酸托鲁地文拉法辛缓释片(也被称为盐酸安舒法辛缓释片,商品名:若欣林)获批上市,打破了一线抗抑郁药多年上市空白,也是目前全球唯一一个从药物作用机制到临床效果均被证实的5-羟色胺(5-HT)、去甲肾上腺素(NE)和多巴胺(DA)三重再摄取抑制剂(SNDRIs),为同类首创产品(First-in-class)。
盐酸托鲁地文拉法辛缓释片能够全面而且稳定的改善抑郁症状,快速改善焦虑状态,明显改善快感缺失和认知功能,而且不引起嗜睡、不影响性功能、体重和脂代谢,特别是能够更好的促进抑郁症患者社会功能的恢复。
盐酸托鲁地文拉法辛缓释片-药品研发时间轴(耗时9年)

图片来源:药融云中国药品审评数据库
抑郁症,是一种慢性、反复发作并且可能危及生命的精神类疾病,常表现为持续性的心境低落、悲观厌世、认知和情绪调节障碍、睡眠障碍、食欲紊乱、社交恐惧以及不明原因的身体疼痛等,呈现出高发病率、高致残率、高疾病负担以及高死亡率的特点。
据世界卫生组织统计,全世界有超过3.5亿抑郁症患者,中国的抑郁症患者有超9500万。抑郁症的病因尚不明确,但抑郁症并非简单的功能性精神障碍,而是一种涉及遗传、心理、生物化学和社会环境等因素的疾病。该药品的上市为抑郁症患者提供了更多的治疗选择。
二、林普利塞片——中国首个高选择性PI3Kδ抑制剂
林普利塞片(商品名:因他瑞)是上海璎黎药业自主研发并拥有自主知识产权的1类创新药,适用于既往接受过至少两种系统性治疗的复发或难治滤泡性淋巴瘤成人患者。获批上市后,璎黎药业将与恒瑞医药共同推动因他瑞®在中国的商业化推广。
林普利塞片批准生产审评时间轴(总耗时546天)

图片来源:药融云中国药品审评数据库
滤泡性淋巴瘤(FollicularLymphoma,FL)是来源于滤泡生发中心细胞来源的惰性B细胞肿瘤,为常见的非霍奇金淋巴瘤(Non-Hodgkin’sLymphoma,NHL),在所有的非霍奇金淋巴瘤中大约占22%。通常发生在老年患者,中位年龄是65岁,中位生存时间超过10年,女性发病率较高。多呈现广泛性无痛性淋巴结肿大,诊断时多以弥漫性浸润,累及多个淋巴结、韦氏环、肝脏、脾脏,40-70%可发生骨髓侵犯。
复发或难治滤泡性淋巴瘤表现为首次治疗达到完全缓解后,原发部位再发或新部位扩散/经过规范的初始治疗不能达到完全缓解。部分复发难治患者的后线治疗选择屈指可数,领域存在尚未满足的医疗需求。近年来新型靶向药物的研发,包括PI3Kδ抑制剂等,推动了淋巴瘤领域的精准治疗,也为复发难治淋巴瘤患者带来福音。
林普利塞为磷脂酰肌醇-3-激酶的δ亚型(PI3Kδ)选择性抑制剂。林普利塞片可抑制PI3Kδ蛋白的表达,降低AKT蛋白磷酸化水平,从而诱导细胞凋亡以及抑制恶性B细胞和原发肿瘤细胞的增殖。该药品的上市为经现有治疗手段治疗后复发难治的滤泡淋巴瘤成人患者提供了治疗选择。
三、对甲苯磺酰胺注射液——钟南山挂帅研发
对甲苯磺酰胺注射液是红日药业及其参股公司红日健达康医药共同申报的1类新药,用于治疗严重气道阻塞的中央型非小细胞肺癌。
对甲苯磺酰胺注射液(PTS)是一款治疗晚期实体瘤的小分子药物,由著名医学专家钟南山挂帅研发,用于严重气道阻塞的中央型非小细胞肺癌的治疗,缓解气道阻塞相关临床症状,是国内外第一个通过肿瘤体内注射给药高效、广谱、低毒、特异识别染色的抗癌药物。据悉,PTS 在肿瘤诊断和肿瘤辅助切除领域应用前景广阔,上市后有望迅速达到10亿元的量级。
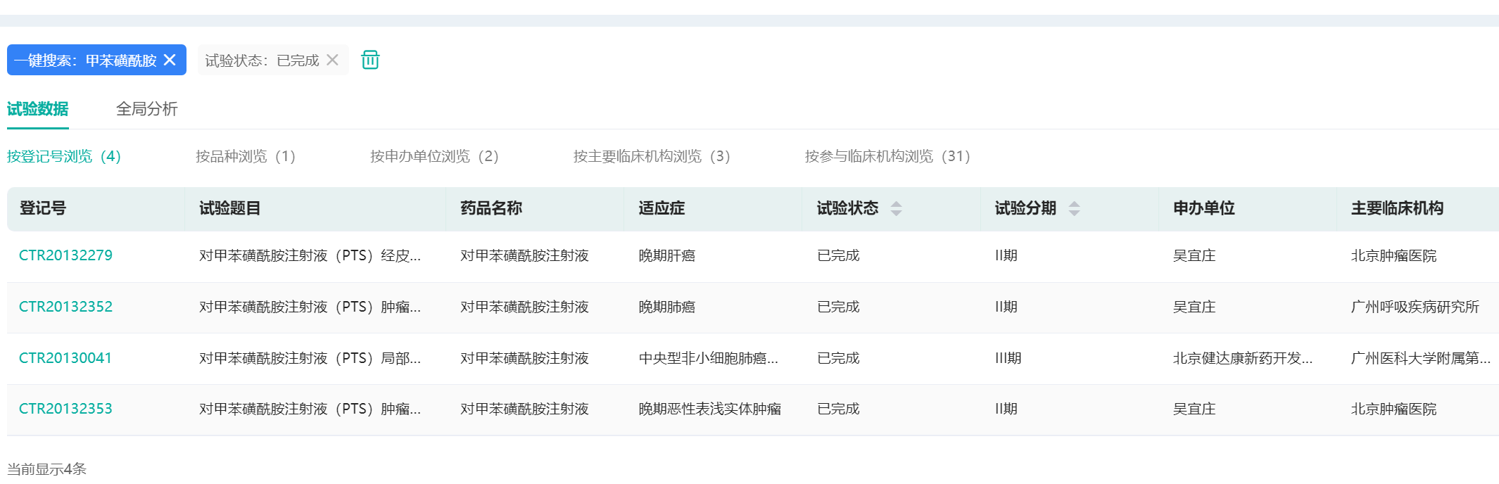
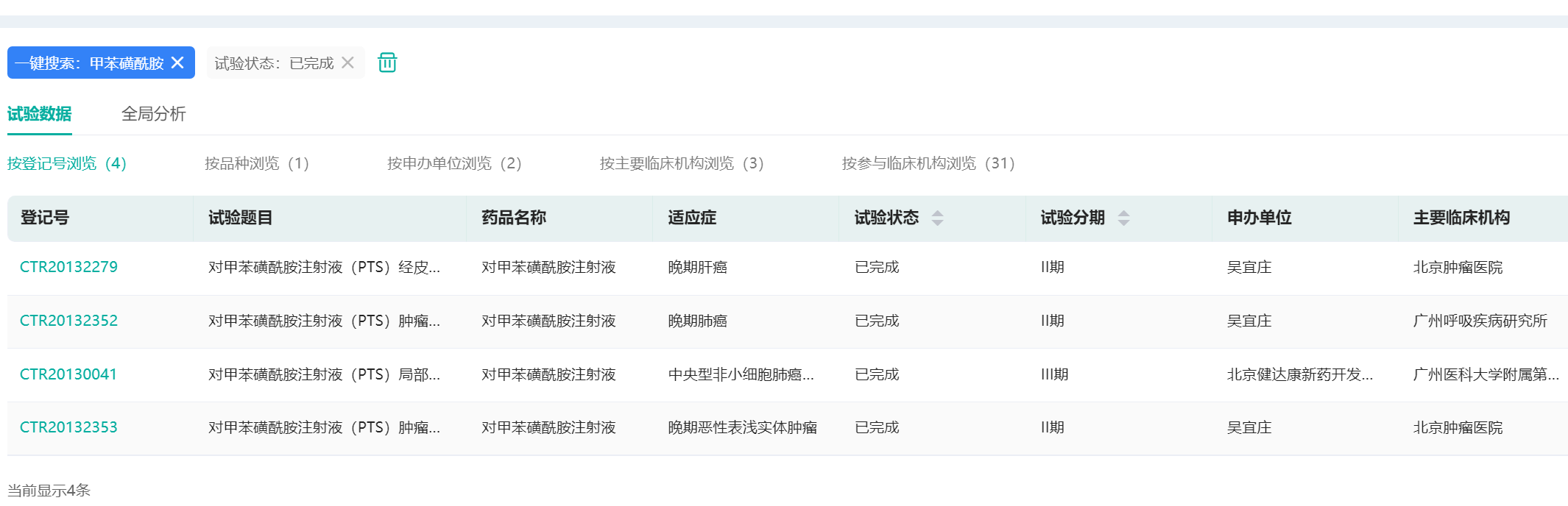
据药融云中国临床试验数据库显示,对甲苯磺酰胺目前已经完成的临床适应症包括晚期恶性表浅实体肿瘤、晚期肺癌、晚期肝癌和中央型非小细胞肺癌伴严重气道阻塞。I期临床试验已证实PTS对乳腺癌、皮肤癌、鼻咽癌及支气管肺癌等癌症治疗有良好效果。
对甲苯磺酰胺已完成临床试验的适应症

图片来源:药融云中国临床试验数据库
中央型肺癌是指起源于肺段支气管开口以近,位置靠近肺门的肺癌,约占肺癌总数的60%~70%。中央型肺癌早期患者症状不明显,发现时多为中、晚期,手术治疗有一定难度。而中央型肺癌易并发阻塞性肺炎等,气道严重阻塞危及生命,历来是临床上的棘手难题。
四、羧基麦芽糖铁注射液——缺铁性贫血患者获益
羧基麦芽糖铁注射液是由维福制药ViforPharma开发,由泰格医药引进中国,用于口服铁制剂无效、不能使用口服铁制剂或临床需要快速输铁的成人缺铁患者的治疗。羧基麦芽糖铁注射液是一种有效的、耐受性良好的蔗糖铁替代品,可用于治疗缺铁性贫血,改善中国患者的血红蛋白反应并纠正缺铁。
据药融云全球药物研发数据库显示,羧基麦芽糖铁注射液(Ferinject)于2007年6月首先在德国上市,随后在英国、瑞士等多个欧洲国家上市,2013年7月获FDA批准在美国上市,目前为止已在80多个国家/地区获得上市许可。
羧基麦芽糖铁注射液已获批上市国家/地区(部分展示)

图片来源:药融云全球药物研发数据库
铁在许多身体过程中起着至关重要的作用,包括红细胞的产生、有效的心脏和大脑功能以及预防感染和疾病。缺铁常见的症状包括疲劳、头晕和呼吸短促,儿童缺铁则会严重损害认知和运动发育。
缺铁不及时治疗可能会发展成缺铁性贫血,这是一种常见的营养性疾病,是由于体内铁的储存不能满足正常红细胞生成的需要而发生的贫血,常见的治疗方法是口服或注射铁剂。
缺铁和缺铁性贫血是全球前十名的重要健康问题,缺铁性贫血发病率已经超过糖尿病和哮喘等疾病,成为全球第五大高发疾病。据估计,全球约有三分之一的人有缺铁问题,约7亿人患缺铁性贫血,中国患病率约为20.1%。
羧基麦芽糖铁注射液是目前全球开展最广泛研究的铁剂之一。其由独特的铁核心和羧基麦芽糖外壳构成,可以短时间内给机体补充大量铁元素;并且在进入血液后能被巨噬细胞精确摄取并储存,羧基麦芽糖外壳能控制铁离子释放并供靶器官使用,减少有毒氧化物的形成。
羧基麦芽糖铁注射液专利信息(部分)

图片来源:药融云全球医药专利数据库
羧基麦芽糖铁注射液的专利(专利号WO2004037865A1)将于2023年10月到期,国内已经有多家企业开展临床,包括奥赛康药业、先声药业、恒生制药、正大丰海制药、华威医药等。
想要解锁更多药物研发信息吗?查询药融云数据库(vip.pharnexcloud.com/?zmt-mhwz)掌握药物基本信息、市场竞争格局、销售情况与各维度分析、药企研发进展、申报审批情况、最新市场动态、市场规模与前景等,以及帮助企业抉择可否投入时提供数据参考!注册立享15天免费试用!

<END>







川公网安备51019002008863号
本网站未发布麻醉药品、精神药品、医疗用毒性药品、放射性药品、戒毒药品和医疗机构制剂的产品信息
收藏
登录后参与评论
暂无评论