
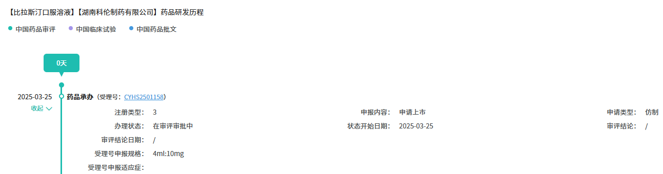
2025年3月25日,湖南科伦制药有限公司按注册分类3类申报的比拉斯汀口服溶液上市申请获受理。公开资料显示, 比拉斯汀(Bilastine)是一种非镇静型长效抗组胺药,属于第2代组胺H1-受体拮抗剂,临床上主要用于过敏性鼻炎(季节性和常年性)和荨麻疹的对症治疗。

截图来源:摩熵医药-中国药品审评审批数据库
作为一种高选择性的二代抗组胺药,比拉斯汀起效快、作用持续时间长,与CYP酶系统无显著的相互作用、耐受性良好。与其他抗组胺药相比,其与H1受体亲和力比西替利嗪高3倍,比非索非那定高6倍。
比拉斯汀(Bilastine)原研产品由西班牙FAES制药开发,最早于2010年8月获准在欧盟上市销售,用于治疗成人和12岁以上青少年的荨麻疹和变应性鼻炎。
据摩熵医药数据库-中国药品审评审批数据库显示,2023年6月,意大利生物制药集团美纳里尼旗下的比拉斯汀片(商品名:力敏能®)通过5.1类新药注册类型获得NMPA批准上市,用于12岁及以上青少年和成年人荨麻疹的对症治疗。
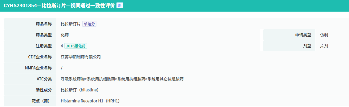
2024年11月,江苏华阳制药比拉斯汀片(商品名:新敏特®)通过4类仿制药注册类型获得NMPA批准上市,成为国内首个过评的产品。
据摩熵医药销售数据库显示,目前这两款药物均未上市销售。


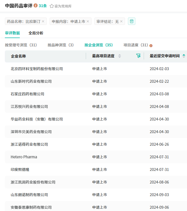
另外,已有山东新时代、石家庄四药、江苏悦兴药业、华益药业、深圳是贝美药业、浙江诺得药业等多家药企提交了比拉斯汀口服溶液上市申请,均获受理,竞争激烈。

截图来源:摩熵医药中国药品审评审批数据库
中国慢性荨麻疹的发病率达到了2.6%-4.2%,超过了全球慢性荨麻疹的发病率。慢性荨麻疹患者的病程更长,复发率较高,不但会给患者造成严重的疾病负担 ,而且大部分病人还会伴有失眠、焦虑等精神方面的问题。因此,急需一种能够被患者接受的、高效的、新颖的治疗方法来解决中国慢性特发性荨麻疹患者对该病的需求。
当前的荨麻疹治疗方案难以满足患者的临床需求,第一代抗组胺药可诱发镇静、精神运动和认知功能降低等副作用,损害患者学习能力并降低工作效率。相较之下,第二代H1抗组胺药的镇静作用较低或极低,无抗胆碱能作用,被推荐为荨麻疹患者新的一线治疗选择。比拉斯汀口服溶液剂型可以准确给药剂量,提高儿童服药便利性和依从性。比拉斯汀口服溶液为过敏性鼻炎和荨麻疹儿童提供了一种新的治疗药物选择。
据摩熵医药销售数据库显示,2023年和2024年上半年全国医院端抗组胺药物的销售额分别为50.94亿元和25.69亿元;全国药店零售端的销售额分别为26.25亿元和12.55亿元。市场巨大。


小结
虽然比拉斯汀申报上市的企业众多,竞争激烈,但其为新一代抗组胺药,相比第一代,有明显的优势,同时目前众多企业都在同一起跑线上,并为形成垄断格局。未来谁能分得抗组胺药物大市场的一杯羹,我们拭目以待。
参考来源:摩熵医药(原药融云)数据库
想要解锁更多药物研发信息吗?查询摩熵医药(原药融云)数据库(vip.pharnexcloud.com/?zmt-mhwz)掌握药物基本信息、市场竞争格局、销售情况与各维度分析、药企研发进展、临床试验情况、申报审批情况、各国上市情况、最新市场动态、市场规模与前景等,以及帮助企业抉择可否投入时提供数据参考!注册立享15天免费试用!








川公网安备51019002008863号
本网站未发布麻醉药品、精神药品、医疗用毒性药品、放射性药品、戒毒药品和医疗机构制剂的产品信息
收藏
登录后参与评论
暂无评论