
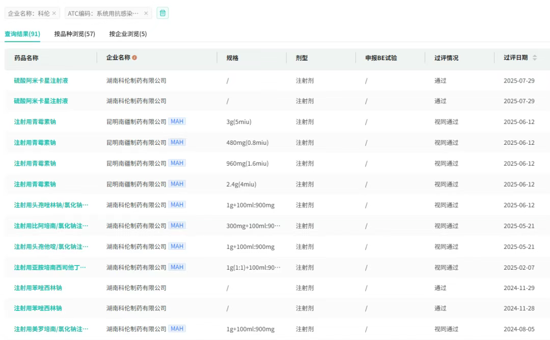
8月8日,CDE官网显示,湖南科伦制药有限公司按4类化药注册申报的注射用甲苯磺酸奥马环素上市申请已获受理。当前国内尚无该药物仿制药获批上市,首仿最终归属何方,值得期待。

截图来源:CDE官网
甲苯磺酸奥马环素(Omadacycline)是一种新型氨甲基环素类抗生素,属于四环素家族,主要用于治疗社区获得性细菌性肺炎(CABP)、急性细菌性皮肤及皮肤结构感染(ABSSSI),被视为应对抗生素耐药危机的“利器”。

截图来源:摩熵医药全球药物研发数据库
2018年,Paratek公司研发的甲苯磺酸奥马环素在美国获批上市。全球抗生素耐药性问题加剧推动新型抗生素需求攀升。数据显示,2022年,奥马环素全球销售额突破2亿美元。
再鼎医药2022--2024年年报显示:甲苯磺酸奥马环素收入净额分别为520万美元、2170万美元和4320万美元,2024年较2023年增长99%。2025年第一季度收入净额为1,510万美元,同比增长52%,显示奥马环素市场覆盖率和渗透率的提升。

中国市场随着临床认知度提升亦呈现快速增长态势。自2021年上市以来,注射用甲苯磺酸奥马环素销售额激增。据摩熵医药数据库显示,该药品2023年在全国院内市场同比暴涨905%,突破亿元规模;2024年持续增长85.26%,销售额翻倍至2.23亿元。












川公网安备51019002008863号
本网站未发布麻醉药品、精神药品、医疗用毒性药品、放射性药品、戒毒药品和医疗机构制剂的产品信息
收藏
登录后参与评论
暂无评论