
查数据,找摩熵!图源:摩熵医药-全球药物研发数据库
国内布立西坦片的首仿由江西科睿药业(青峰药业子公司)于2024年6月夺得,至今仍保持独家获批。仿制药布局方面,成都奥邦药业、浙江京新药业、浙江和泽医药等3家企业已报产并在审。
在临床试验进展上,江西青峰药业、江西科睿药业、宜昌人福药业、四川科伦药业、辰欣药业等7家企业正全力推进Ⅲ期临床试验。与此同时,海南卫康制药(潜山)、乐普制药2家企业处于BE试验阶段,稳步推进上市进程。

查数据,找摩熵!图源:摩熵医药-中国临床试验数据库
然而,口服溶液这一剂型却成了“拦路虎”:
- 2024年5月,海南全星制药上市申请宣告失败。
- 2025年2月28日,江苏正大丰海制药和华益药业科技(安徽)同日宣告上市失败;
- 2026年1月6日,正大丰海(江苏正大丰海制药)再次收到不予批准通知。
目前,布立西坦口服溶液仅有江西科睿药业一家药企报产在审。
该药企的申报已进入发补资料审核阶段,且仅涉及药学相关要求(无临床补充研究要求)。若审评顺利,有望在拿下片剂首仿后,进一步斩获口服溶液的国内首仿资格。

查数据,找摩熵!图源:摩熵医药-中国药品审评数据库
注射液同样不易——扬子江药业四川海蓉药业曾在2021年首家提交上市申请,结果失败;目前仅江西青峰药业在审,另有4家处于临床试验阶段。
👀 比拉斯汀口服溶液:抗组胺新贵,7家企业上市梦碎
比拉斯汀,是一种第二代非镇静性长效抗组胺药,通过选择性拮抗外周H1受体起效,快速、长效、强效且无嗜睡副作用。
原研来自西班牙FAES制药,2010年在欧盟获批;2023年6月,意大利美纳里尼集团的片剂以5.1类新药身份登陆中国。
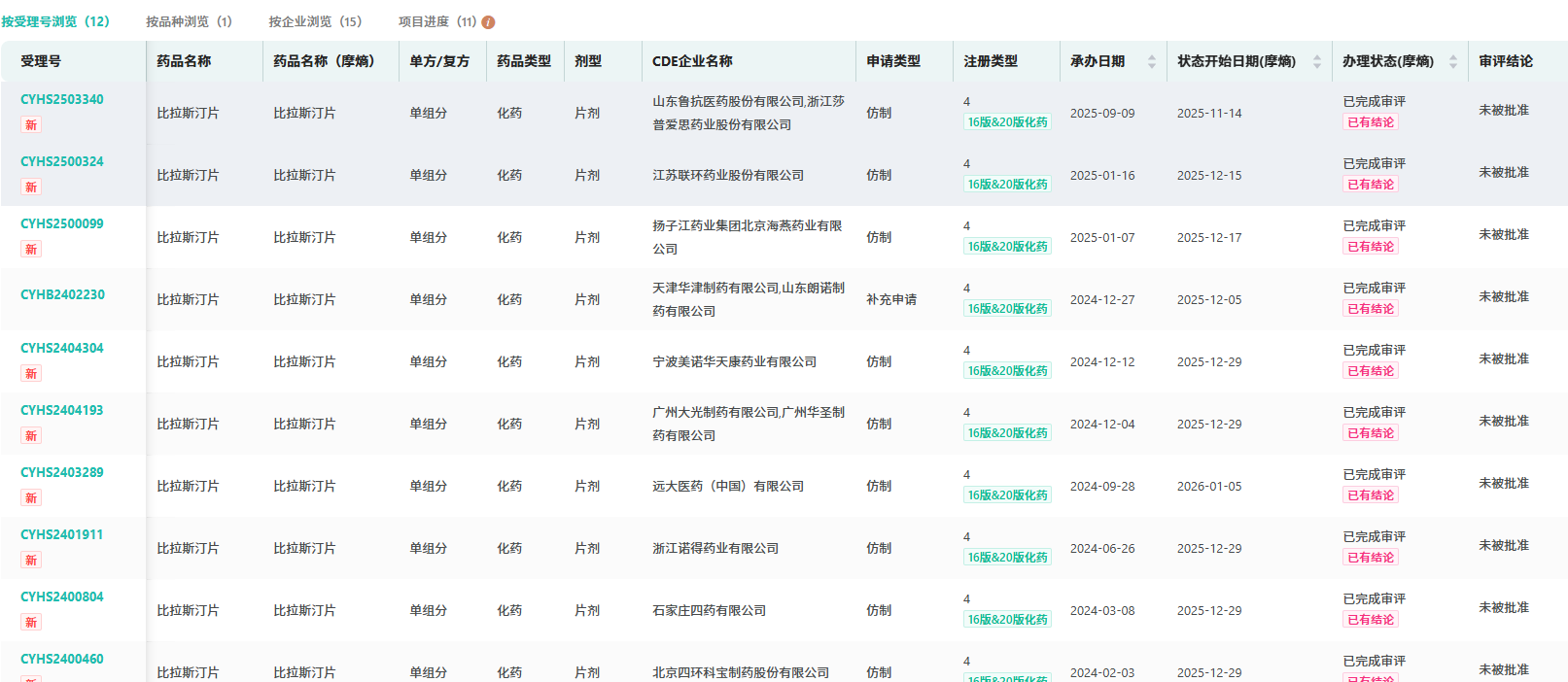
2024年11月,江苏华阳制药拿下国内首仿片剂,目前片剂领域仅有原研、江苏华阳和山东新时代药业获批。据摩熵医药数据库显示,比拉斯汀片在2025年前三季度销售额超千万元。
收藏
登录后参与评论
暂无评论