
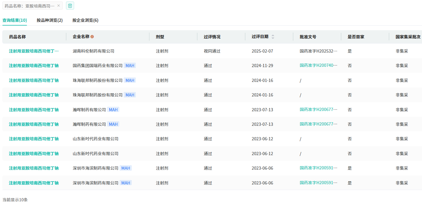
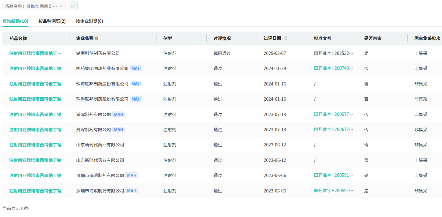
近日,据NMPA官网最新显示,湖南科伦制药提交的4类仿制药注射用亚胺培南西司他丁钠/氯化钠注射液(规格:1.0g/100ml)获批上市并视同通过一致性评价。该产品适用于多种病原体感染、需氧和厌氧菌混合感染及在病原菌未确定前的早期治疗。

截图来源:NMPA
亚胺培南是首个临床应用的碳青霉烯类β-内酰胺抗菌药,其复方制剂自1985年德国上市已有40年历史。国内首创的即配型粉液双室袋亚胺培南西司他丁/氯化钠注射液,因即配即用、高效安全,能有效满足急危重症感染患者的抗感染治疗需求。据摩熵医药数据库显示,近年来注射用亚胺培南西司他丁钠在院内销售额均在24亿元左右,其中默沙东占据市场份额近8成。










川公网安备51019002008863号
本网站未发布麻醉药品、精神药品、医疗用毒性药品、放射性药品、戒毒药品和医疗机构制剂的产品信息
收藏
登录后参与评论
暂无评论