
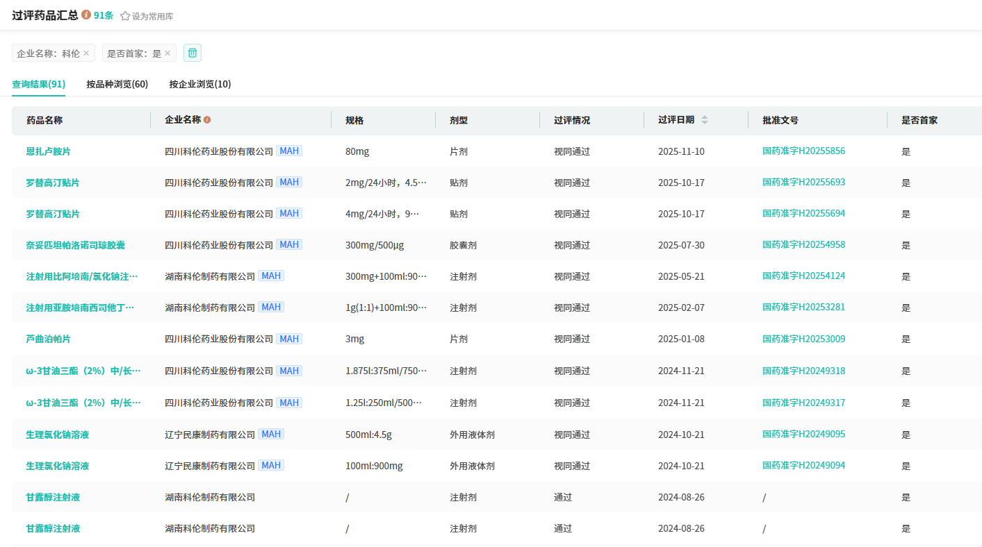
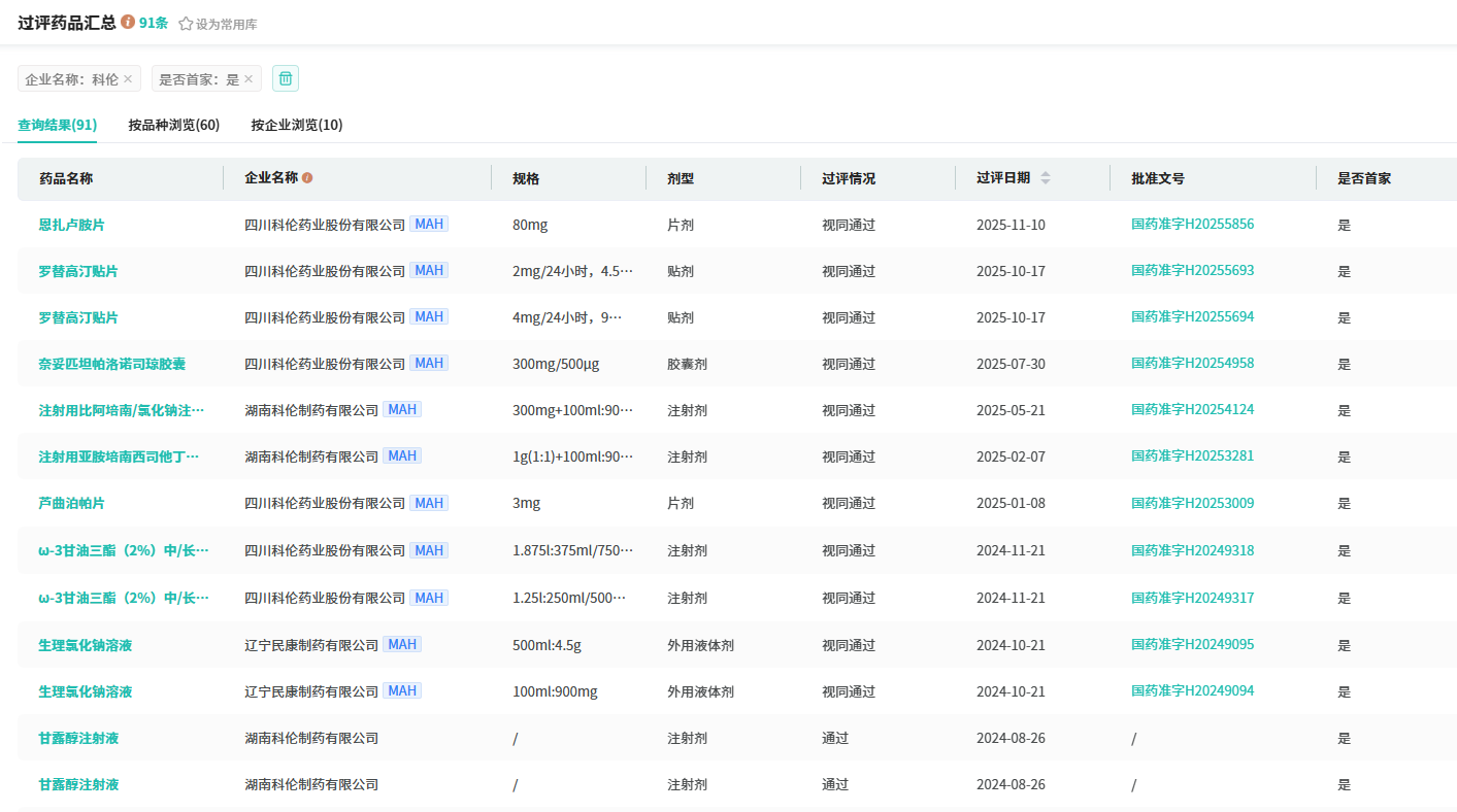
11月18日,据CDE官网显示,湖南科伦制药递交的3类仿制化药注射用青霉素钠/氯化钠注射液的上市申请获受理,该品种是科伦今年布局的第10款粉液双室袋。截至目前,科伦已有11款粉液双室袋获批,其中7款为国内首仿。

截图来源:CDE官网
粉液双室袋制剂自20世纪末就已在美国、日本等发达国家的医疗机构中普及应用,并成为输液产品升级的重要方向。科伦作为国内在该领域的领军企业,正积极深耕这一赛道,全力开拓发展。
科伦布局10款粉液双室袋,直击百亿蓝海市场
据行业报告预估,到2029年,全球粉液双室袋市场规模将达到161.58亿元。在粉液双室袋所涉及的众多药品领域中,注射用青霉素钠/氯化钠注射液在院内市场的发展潜力可期。注射用青霉素钠它以青霉素钠为主成分,可有效治疗敏感菌引发的脓肿、菌血症、肺炎、心内膜炎等多种感染。据摩熵医药数据库显示,注射用青霉素钠在2024年全终端医院销售额超7亿,2025年上半年已超2亿。












川公网安备51019002008863号
本网站未发布麻醉药品、精神药品、医疗用毒性药品、放射性药品、戒毒药品和医疗机构制剂的产品信息
收藏
登录后参与评论
暂无评论