
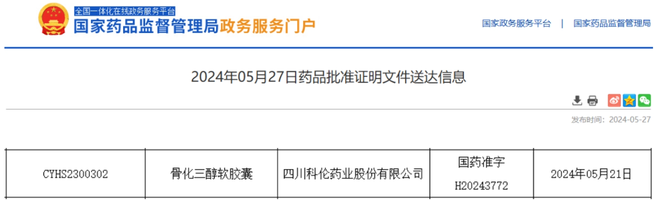
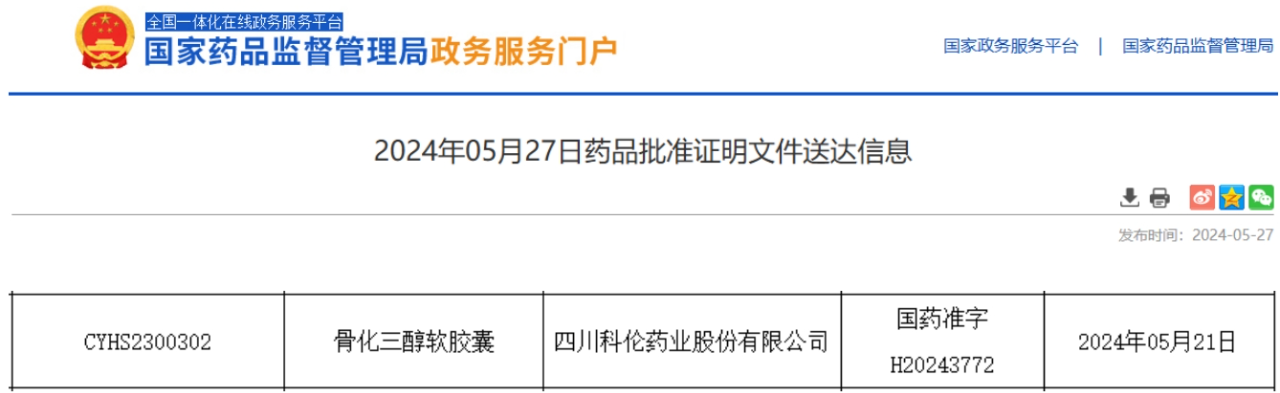
5月27日,据NMPA官网公示,四川科伦药业的骨化三醇软胶囊获批上市并视同过评。据药融云数据统计,今年科伦(含子公司)已有9个品种通过评,并斩获2款首仿。

截图来源:NMPA
骨化三醇软胶囊在2023年3月,纳入第八批国家集采。用于绝经后骨质疏松、术后甲状旁腺功能低下、特发性甲状旁腺功能低下、维生素D依赖性佝偻病等。据药融云数据统计,骨化三醇软胶囊在2022年全国院内销售额近18亿元。

截图来源:药融云全国医院销售数据库
目前国内已上市的骨化三醇主要剂型包括胶囊、软膏、注射剂、口服溶液,其中胶囊剂为销售主力军,占比超过九成。据药融云数据统计,骨化三醇软胶囊有15家企业拥有生产批文,其中有正大制药(青岛)、江苏中治制药、南京海融制药、四川科伦药业等8家药企过评。

截图来源:药融云过评药品汇总数据库
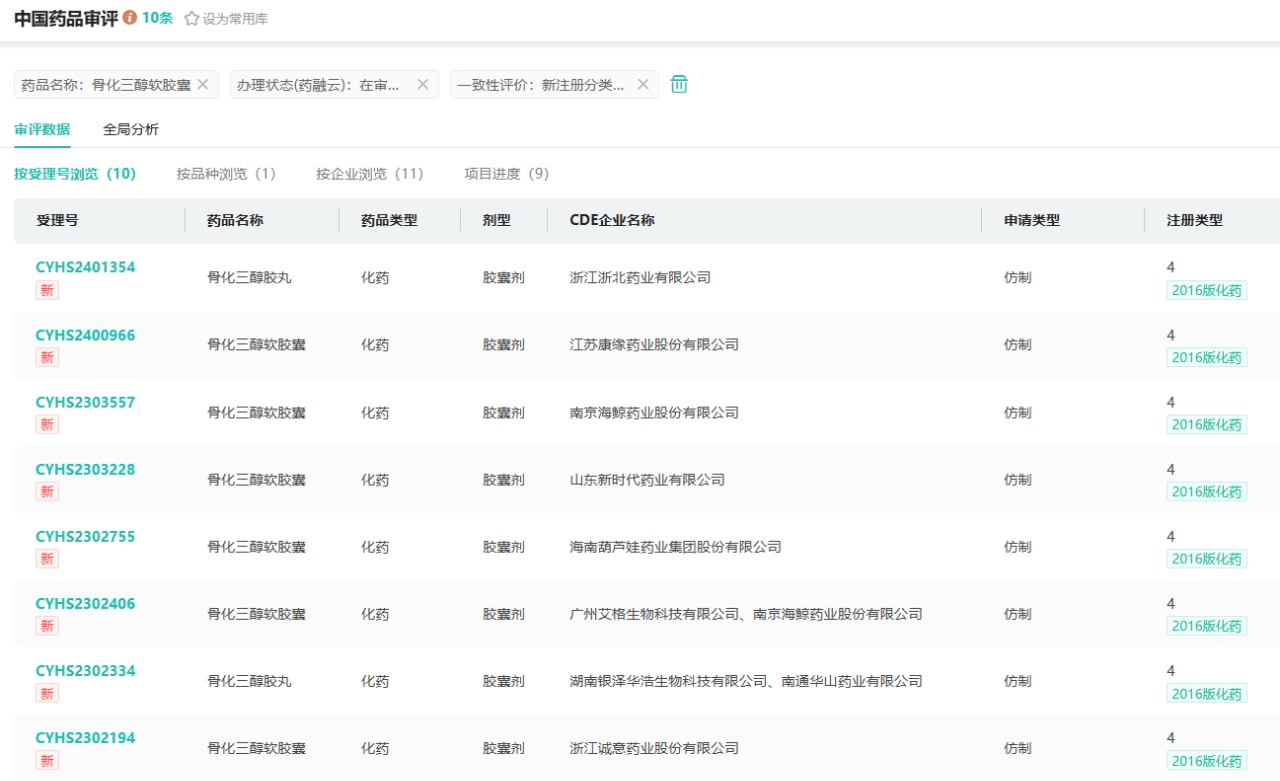
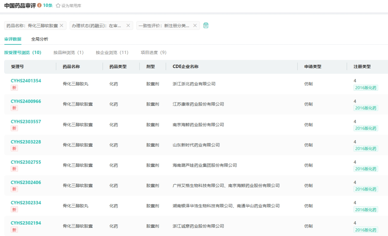
此外,骨化三醇软胶囊有山东新时代药业、江苏康缘药业、浙江浙北药业、海南葫芦娃药业等10家药企提交了4类注册仿制申请,均在审评审批中。

截图来源:药融云中国药品审评数据库
今年(截止5月29日)科伦药业(含子公司)有奥拉帕利片、注射用头孢唑林钠、骨化三醇软胶囊、艾曲泊帕乙醇胺片等9个品种过评,其中ω-3甘油三酯(2%)中长链脂肪乳/氨基酸(16)/葡萄糖(16%)注射液、艾曲泊帕乙醇胺片为首家过评,并斩获首仿。
参考来源:
[1] NMPA官网
[2] 药融云数据库
<END>
想要解锁更多药物研发信息吗?查询药融云数据库(vip.pharnexcloud.com/?zmt-mhwz)掌握药物基本信息、市场竞争格局、销售情况与各维度分析、药企研发进展、临床试验情况、申报审批情况、各国上市情况、最新市场动态、市场规模与前景等,以及帮助企业抉择可否投入时提供数据参考!注册立享15天免费试用!








川公网安备51019002008863号
本网站未发布麻醉药品、精神药品、医疗用毒性药品、放射性药品、戒毒药品和医疗机构制剂的产品信息
收藏
登录后参与评论
暂无评论