
8月5日,据NMPA官网公示,湖南科伦制药提交的注射用美罗培南/氯化钠注射液(规格:0.5g/100ml、1.0g/100ml)获批上市并视同通过一致性评价。该品种是国内首个获批上市的碳青霉烯类粉液双室袋制剂。

截图来源:NMPA官网
注射用美罗培南是第二代广谱碳青霉烯类抗生素,对需氧或厌氧的革兰阳性菌、革兰阴性菌包括多重耐药菌及铜绿假单胞菌均有强大的抗菌作用。临床上适用于成人和儿童由单一或多种对美罗培南敏感的细菌引起的感染1,如肺炎(包括院内获得性肺炎)、尿路感染、腹腔内感染、妇科感染(如子宫内膜炎和盆腔炎)、皮肤软组织感染、脑膜炎、败血症等。据药融云数据库显示,注射用美罗培南在2023年全国院内市场销售额超23亿元。

截图来源:药融云全国医院销售数据库
目前,注射用美罗培南/氯化钠注射液国内仅科伦制药一家药企获批并视同通过一致性评价。该品种是国内首个获批上市的碳青霉烯类粉液双室袋制剂。

截图来源:药融云过评药品汇总数据库
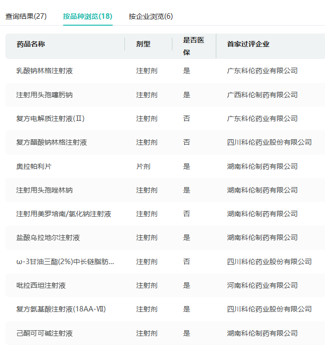
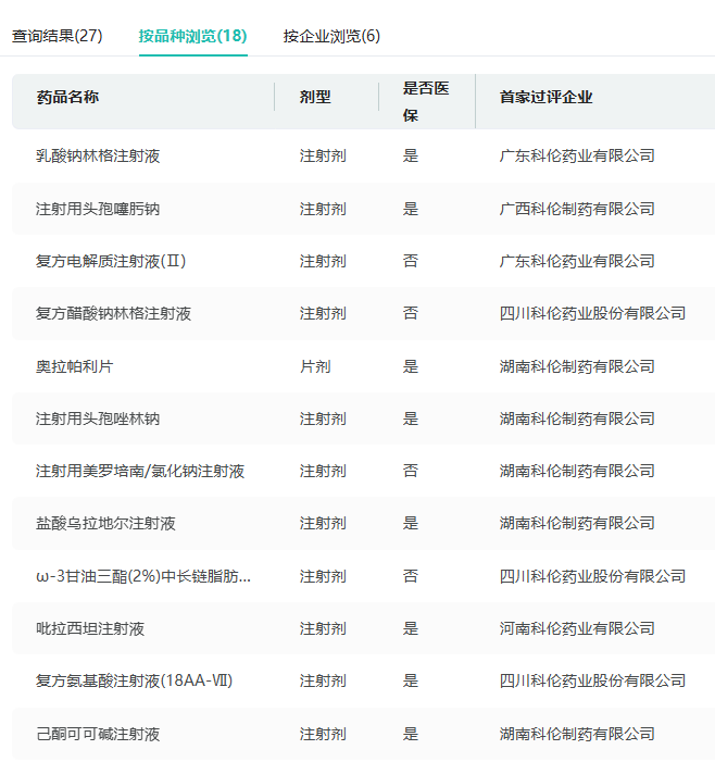
科伦长期以来深耕抗感染领域,产品布局覆盖抗病毒、抗真菌、抗细菌等多个领域,目前已有系列抗感染产品获批或通过一致性评价。在高端抗感染领域已有注射用头孢他啶阿维巴坦钠/氯化钠注射液、注射用头孢他啶阿维巴坦钠、泊沙康唑肠溶片、泊沙康唑口服混悬液、泊沙康唑注射液等产品获批上市。2024年至今,科伦(含子公司)有注射用美罗培南/氯化钠注射液、注射用头孢噻肟钠、注射用头孢唑林钠等18个品种过评。

截图来源:药融云过评药品汇总数据库
此外,科伦已有注射用美罗培南/氯化钠注射液、注射用头孢呋辛钠/氯化钠注射液、注射用头孢他啶/5%葡萄糖注射液、注射用头孢曲松钠/氯化钠注射液、注射用头孢西丁钠/葡萄糖注射液、注射用头孢美唑钠/氯化钠注射液、注射用头孢他啶阿维巴坦钠/氯化钠注射液7款粉液双室袋品种成功获批,是该领域的领军企业。
参考来源:
[1] NMPA官网
[2] 药融云数据库
<END>
想要解锁更多药物研发信息吗?查询药融云数据库(vip.pharnexcloud.com/?zmt-mhwz)掌握药物基本信息、市场竞争格局、销售情况与各维度分析、药企研发进展、临床试验情况、申报审批情况、各国上市情况、最新市场动态、市场规模与前景等,以及帮助企业抉择可否投入时提供数据参考!注册立享15天免费试用!








川公网安备51019002008863号
本网站未发布麻醉药品、精神药品、医疗用毒性药品、放射性药品、戒毒药品和医疗机构制剂的产品信息
收藏
登录后参与评论
暂无评论