
8月13日,据NMPA官网公示,四川科伦药业以仿制药4类报产的艾地骨化醇软胶囊和湖南科伦制药以仿制药4类报产的瑞戈非尼片两大品种同日获批。据药融云数据库显示,今年以来,科伦药业(含子公司)有20个品种过评,其中斩获3款首仿。

截图来源:NMPA官网
艾地骨化醇软胶囊,原研占院内市场半壁江山!
艾地骨化醇软胶囊原研来自中外制药株式会社,用于治疗骨质疏松症,作为国际公认的最新一代活性维生素D类似物,相较骨化三醇、α-骨化醇能为骨质疏松患者治疗带来更精准、优效的解决方案。原研的艾地骨化醇软胶囊于2020年进入国内市场,2022年以后国产仿制药陆续上市,加剧了市场竞争。据药融云数据库显示,2023年肌肉-骨骼系统药物(化药或生物药)在全国院内销售额超200亿元。

截图来源:药融云全国医院销售数据库
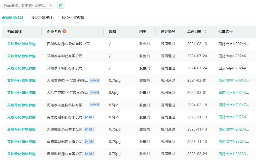
艾地骨化醇软胶囊在2023年全国医院市场TOP50药企的销售榜单中,中外制药株式会社以高达52.54%的市场份额占据榜首。截至目前,艾地骨化醇软胶囊有四川科伦药业、四川国为制药、南京海融制药等8家药企获批并过评。

截图来源:药融云过评药品汇总数据库
超8亿潜力抗癌药获批,科伦药业业绩再创新高
瑞戈非尼片最早由拜耳研发,是一种抗癌药,属于多靶点的、细胞内激酶的小分子抑制剂,通过作用于肿瘤细胞、内皮细胞和外周细胞的多个激酶,从而抑制肿瘤形成、血管新生和肿瘤微环境形成,参与正常细胞功能及病理过程。于2012年9月获得FDA批准上市,2016年底获批进入国内市场。据药融云数据库显示,瑞戈非尼片在2023年全国院内市场的销售额超8亿元,同比增长达3.31%,市场潜力较大。

截图来源:药融云全国医院销售数据库
截至目前,瑞戈非尼片有8家药企拥有生产批文,湖南科伦制药、齐鲁制药、南京正大天晴制药等7家国内药企均已过评。

截图来源:药融云过评药品汇总数据库
值得注意的是,8月13日,科伦药业发布2024年半年度业绩快报,营收118.27亿元,同比增长9.52%,净利润18.00亿元,同比增长28.24%,再创新高。

截图来源:企业公告
2024年至今,科伦药业(含子公司)有瑞戈非尼片 、乳酸钠林格注射液、注射用头孢噻肟钠、奥拉帕利片等20个品种过评,其中斩获注射用美罗培南/氯化钠注射液、ω-3甘油三酯(2%)中长链脂肪乳/氨基酸(16)/葡萄糖(16%)注射液、艾曲泊帕乙醇胺片3个品种首仿。
参考来源:
[1] NMPA官网
[2] 药融云数据库
[3] 四川科伦药业官方披露
<END>
想要解锁更多药物研发信息吗?查询药融云数据库(vip.pharnexcloud.com/?zmt-mhwz)掌握药物基本信息、市场竞争格局、销售情况与各维度分析、药企研发进展、临床试验情况、申报审批情况、各国上市情况、最新市场动态、市场规模与前景等,以及帮助企业抉择可否投入时提供数据参考!注册立享15天免费试用!








川公网安备51019002008863号
本网站未发布麻醉药品、精神药品、医疗用毒性药品、放射性药品、戒毒药品和医疗机构制剂的产品信息
收藏
登录后参与评论
暂无评论