
继4月扬子江药业斩获首仿后,舒更葡糖钠很快又迎来了其第2款国产仿制药。据5月7日NMPA发布的最新一批药品批准证明文件待领取信息,湖南科伦制药的舒更葡糖钠注射液获批上市。据药融云查询,该药为默沙东原研的百亿大品种!此次湖南科伦制药斩获该品种仿制药国内第二家!


截图来源:NMPA官网
舒更葡糖钠注射液被誉为麻醉领域近 20 年的重大药物发现,是全球首个特异性、结合性氨基甾类肌松药拮抗剂。该药原研最早由默沙东研发,于2008年7月首次在欧洲上市,商品名为布瑞亭(Bridion)。根据默沙东的年报,2021年舒更葡糖钠注射液营收达到了15.32亿美元(约合103亿人民币,以5月7日汇率计算),增长27%。舒更葡糖钠注射液已然成为重磅炸弹药物,且依然具有上升空间。


图片来源:默沙东企业财报
而在国内,舒更葡糖钠注射液自2017年获批落地中国,在成人中拮抗罗库溴铵或维库溴铵诱导的神经肌肉阻滞,在儿童和青少年(2~17岁)中仅推荐用于常规拮抗罗库溴铵诱导的阻滞。目前也正处于快速扩容的阶段,2020年舒更葡糖钠注射液院内销售额突破1亿,2021年院内销售额近2.5亿,同比增加63%,市场增长强劲。
舒更葡糖钠注射液院内销售情况

截图来源:药融云全国医院销售数据库
舒更葡糖钠注射液仿制竞争激烈,既拼质量也拼速度。据药融云数据库,舒更葡糖钠注射液国内首仿由扬子江药业拿下,除此次顺利获批的湖南科伦制药外,还有20余家企业也扎堆递交舒更葡糖钠注射液仿制上市申请,其中不乏齐鲁制药、恒瑞医药、南京正大天晴、人福药业等多家明星药企,但均未获批(发放通知件,或尚在审批审批中)。
舒更葡糖钠注射液批文(截至2022.05.06)

截图来源:药融云中国批文数据库
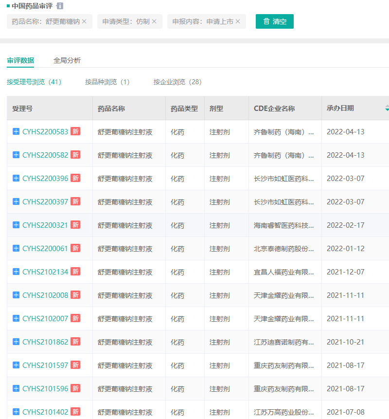
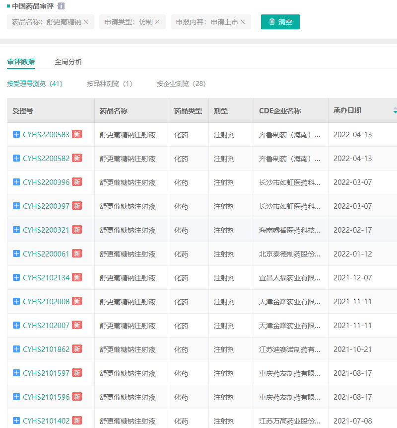
舒更葡糖钠注射液部分报上市企业

截图来源:药融云药品审评数据库
作为国内为数不多成功获批舒更葡糖钠注射液的企业,扬子江药业、湖南科伦制药无疑更具有先发优势,外加这两个企业在国内均有非常成熟的销售渠道,势必会与原研进口企业产生激烈的市场碰撞。随着后续更多的仿制药获批上市,市场争夺战将愈加激烈。
想要解锁更多药企仿制药一致性评价信息吗?查询药融云数据库(https://www.pharnexcloud.com/?zmt-mhwz)掌握药企仿制药申报情况、最新进展、审评情况、一致性评价、竞争格局、销售情况、市场规模与前景,可否投入仿制!注册立享15天免费试用和虎年首份医药数据大礼包!

—END—







川公网安备51019002008863号
本网站未发布麻醉药品、精神药品、医疗用毒性药品、放射性药品、戒毒药品和医疗机构制剂的产品信息
收藏
登录后参与评论
暂无评论