非奈利酮片原研拜耳的专利要到2028年才到期,首仿虽已获批,但专利到期前难上市销售,除非挑战专利。多数企业选3类声明,获批后等专利到期上市;天地恒一则激进提交4.1类声明申请专利无效,最终裁决维持专利有效。

截图来源:摩熵医药全球上市药品专利数据库
还有两年多时间,这30多家药企的产品基本都有望获批。照此情形推断,到2028年,该品种极有可能被纳入集采范围。目前,规格为10mg的非奈利酮片治疗费用约为6元,若两年后纳入集采,价格或许会降至1元左右。
大涨79.3%抗生素大品种,福安药业拿下首仿
头孢托仑匹酯由日本明治制果药业株式会社原研,属第三代头孢类抗生素、PBPs抑制剂。1994年日本首发片剂,2016年进入中国。它通过抑制细菌细胞壁合成广谱抗菌,对产β - 内酰胺酶菌株(如金葡菌等)强效,临床疗效与静脉制剂相当且耐药率低。

截图来源:摩熵医药全终端医院销售数据库
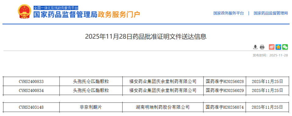
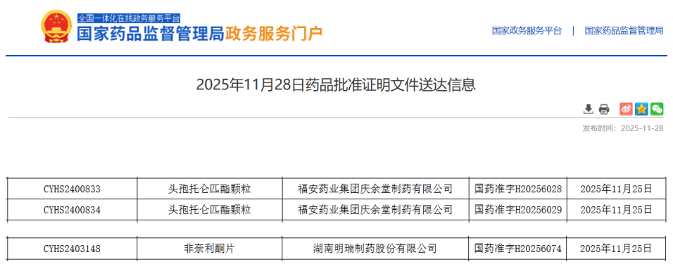
由日本明治原研的头孢托仑匹酯在中国上市已近10年,相关产品涵盖头孢托仑匹酯颗粒与头孢托仑匹酯片。此前,国内头孢托仑匹酯仍处于原研垄断阶段,颗粒剂和片剂均未有任何国内企业仿制获批。此次,福安药业申报的头孢托仑匹酯颗粒成功获批,成为国内该品种的首仿药。

截图来源:摩熵医药过评药品汇总数据库
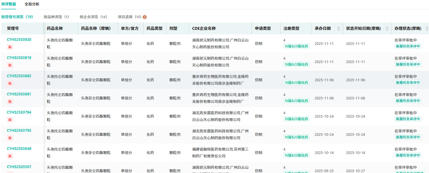
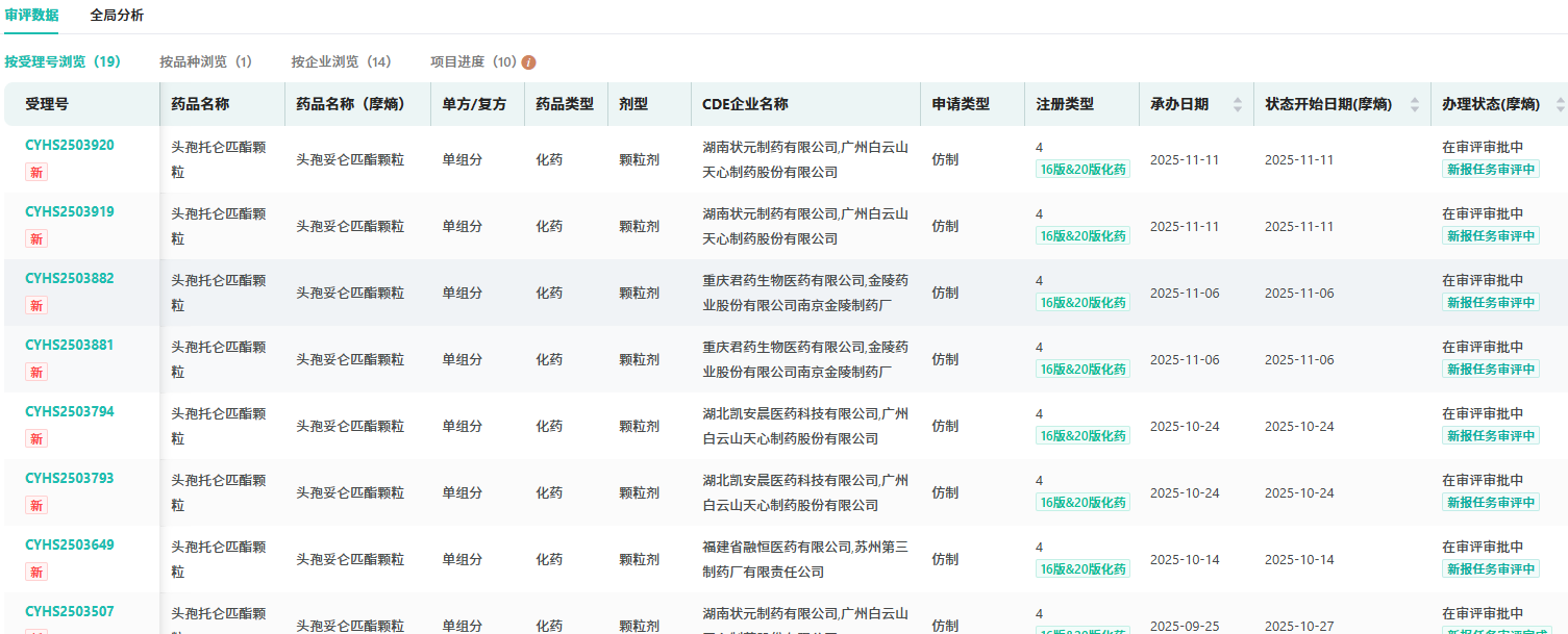
在仿制药布局方面,头孢托仑匹酯颗粒有石家庄四药、苏州盛达药业等14家药企提交了4类仿制申请并进入审评程序。2024年海南葫芦娃药业和北京诚济制药是最早提交头孢托仑匹酯颗粒仿制申请的两家企业,目前申报均未获批。这表明监管部门对该品种仿制药的审评标准较为严格,预计短期内市场格局仍将由原研主导。随着仿制药陆续获批,未来市场竞争格局或将发生显著变化。

截图来源:摩熵医药中国药品审评数据库
近年来国内首仿进展迅速,4类仿制暂时限制于专利,但药企通过早早完成一致性评价抢占先机,如湖南明瑞制药拿下非奈利酮片首仿,后续有望在专利到期后凭借价格与市场认知优势迅速抢占份额。而3类仿制惯于引入国内尚未上市的品种剂型,形成差异化竞争。
结语
此次两款首仿获批,既体现了国内药企的研发实力,也反映出政策支持与市场需求推动下首仿药领域的蓬勃发展态势。未来,随着更多首仿药获批上市,将为患者提供更多质优价廉的药品选择,推动国内医药产业向创新驱动、高质量发展迈进。
附2025年11月28日过评品种(标红为首家过评)

参考来源:
[1] NMPA官网
[2] 摩熵医药(原药融云)数据库
扩展阅读:
1. 非奈利酮片:医保续约再降价,石家庄四药、复星万邦等国内药企竞逐糖尿病肾病市场
2. 葫芦娃药业:头孢托仑匹酯颗粒上市申请获CDE受理,有望夺国内首仿
3. 头孢唑肟钠市场火爆,双雄并起:福安药业与罗欣药业引领过评潮
想要解锁更多药品信息吗?查询摩熵医药(原药融云)数据库(vip.pharnexcloud.com/?zmt-mhwz)掌握药品各国上市情况、药品批文信息、销售情况与各维度分析、市场竞争格局、一致性评价情况、集采中标情况、药企申报审批信息、最新动态与前景等,以及帮助企业抉择可否投入时提供数据参考!注册立享15天免费试用!

收藏
登录后参与评论
暂无评论