
10月31日,海南葫芦娃药业集团提交的4类仿制药头孢托仑匹酯颗粒上市申请获得CDE受理,目前仅有原研企业获批进口。据摩熵医药数据库显示,头孢托仑匹酯颗粒在2023年全国院内市场的销售额超1亿元。

截图来源:CDE
头孢托仑匹酯颗粒为抗菌药,可抑制细菌细胞壁合成,从而发挥杀菌性作用。用于治疗由敏感的葡萄球菌属、链球菌属、消化链球菌属引起的敏感菌感染。据摩熵医药数据库显示,头孢托仑匹酯颗粒在2023年全国院内市场的销售额超1亿元,同比增长达106.38%。

截图来源:摩熵医药(原药融云)全国医院销售数据库
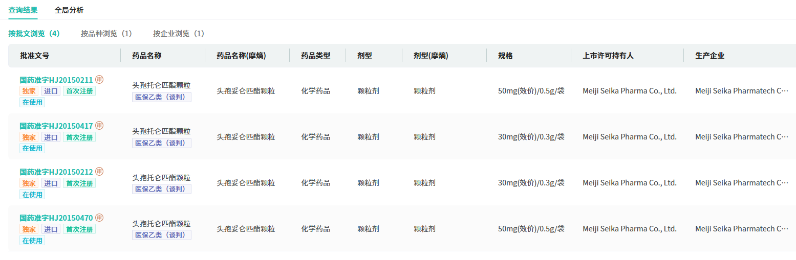
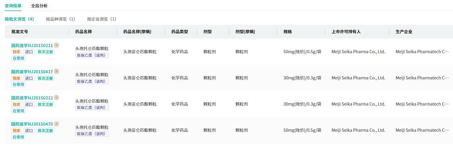
目前仅有原研企业获批进口,国内暂无药企获批。据摩熵医药数据库显示,葫芦娃药业在今年7月提交了一次头孢托仑匹酯颗粒4类仿制药的上市申请。此次再报产,若顺利获批,有望斩获国内首仿。

截图来源:摩熵医药(原药融云)中国药品批文数据库
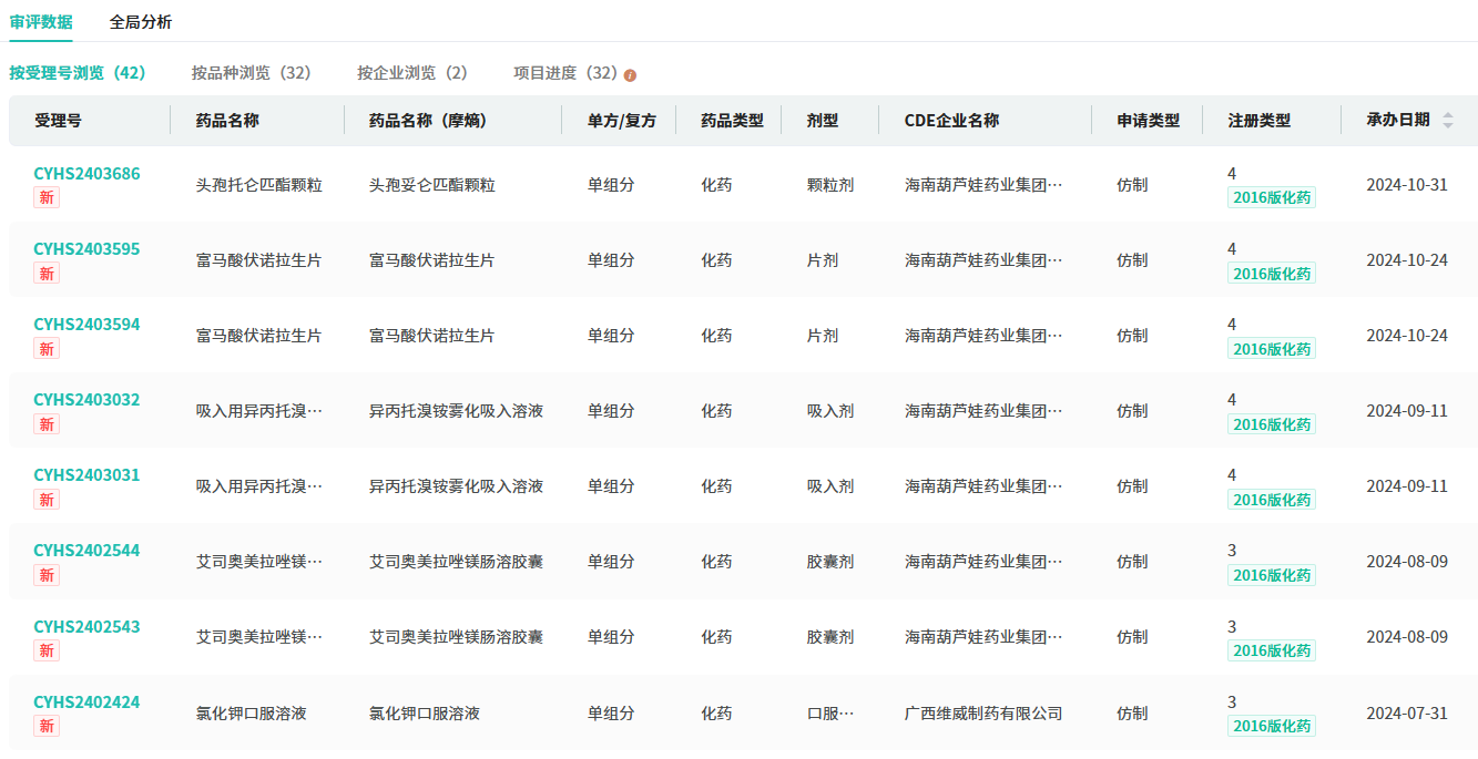
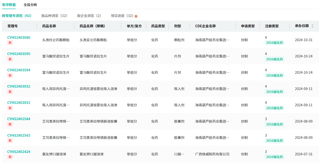
2024年至今,海南葫芦娃药业集团(含子公司)提交了乳果糖口服溶液、头孢妥仑匹酯颗粒、富马酸伏诺拉生片、异丙托溴铵雾化吸入溶液等32个品种的仿制申请,均在审评审批中。

截图来源:摩熵医药(原药融云)中国药品审评数据库
此外,今年以来,海南葫芦娃药业集团(含子公司)有孟鲁司特钠咀嚼片、吸入用乙酰半胱氨酸溶液、地氯雷他定片、头孢地尼颗粒、奥美拉唑肠溶胶囊等13个品种获批并过评。
参考来源:
[1] CDE官网
[2] 摩熵医药(原药融云)数据库
想要解锁更多药物研发信息吗?查询摩熵医药(原药融云)数据库(vip.pharnexcloud.com/?zmt-mhwz)掌握药物基本信息、市场竞争格局、销售情况与各维度分析、药企研发进展、临床试验情况、申报审批情况、各国上市情况、最新市场动态、市场规模与前景等,以及帮助企业抉择可否投入时提供数据参考!注册立享15天免费试用!








川公网安备51019002008863号
本网站未发布麻醉药品、精神药品、医疗用毒性药品、放射性药品、戒毒药品和医疗机构制剂的产品信息
收藏
登录后参与评论
暂无评论