
7月8日,CDE官网显示,石家庄四药有限公司与复星万邦(江苏)医药集团有限公司递交了4类仿制化药非奈利酮片的上市申请,均获受理。

截图来源:CDE官网
非奈利酮是拜耳(Bayer)开发的"first-in-class"非甾体、选择性盐皮质激素受体拮抗剂(MRA)。2021年7月FDA批准非奈利酮在美国上市。2022年6月28日,非奈利酮在中国获批用于与2型糖尿病相关的慢性肾脏病(CKD)成人患者,商品名“可申达”。

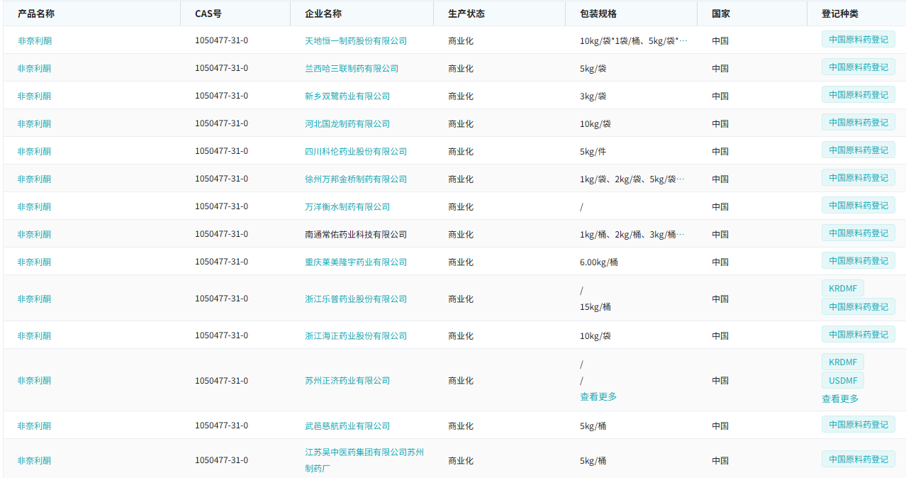
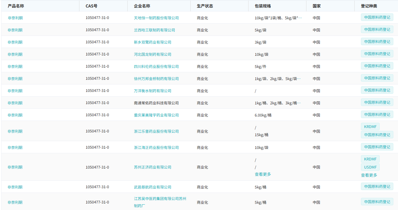
截图来源:摩熵医药全球药物研发数据库
非奈利酮片在国内获批上市后,院内销售额快速攀升,目前累计销售额已突破4亿元。2023年非奈利酮被纳入医保后,销量开始大幅增长。2024年同比增长234.68%,销售额为3.22亿元。













川公网安备51019002008863号
本网站未发布麻醉药品、精神药品、医疗用毒性药品、放射性药品、戒毒药品和医疗机构制剂的产品信息
收藏
登录后参与评论
暂无评论