导读:2022年01月18日药品批准证明文件待领取信息发布,共48个受理号获批/过评。
其中,共有15个一致性受理号过评,其中包括13品规注射剂。


其中,值得注意的是,浙江金华康恩贝旗下的奥美拉唑肠溶胶囊的过评(表格中红色部分)。此次浙江金华康恩贝旗下奥美拉唑肠溶胶囊的过评为第八家过评,此前已有7家过评(见下表)。分别是常州四药制药、海南海灵化学制药、烟台鲁银药业、悦康药业集团、山东罗欣药业、扬子江药业集团 ,以及前几天刚过评的锦州九泰药业。《奥美拉唑肠溶胶囊,高难品种,这家企业拿下第7家过评!》

截图来源:药融云一致性评价数据库
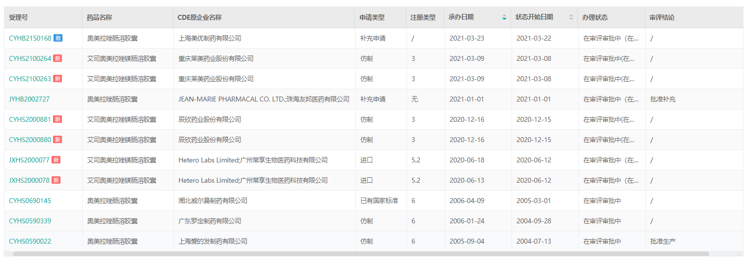
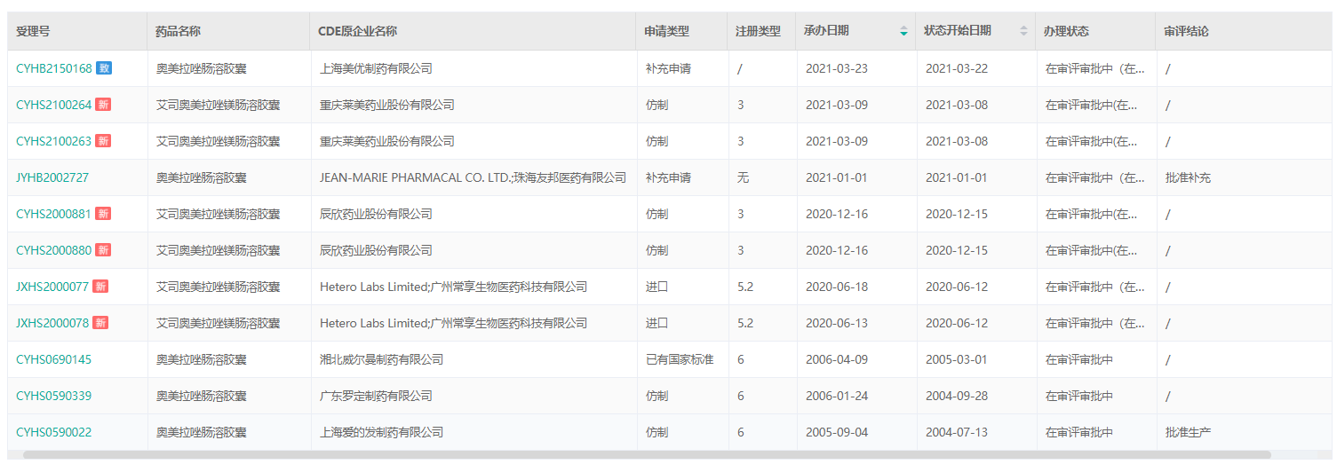
除此之外,还有11家正在审评审批中,预计不日将会陆续获批。

截图来源:药融云中国药品审评数据库
根据药融云的销售数据库来看,奥美拉唑肠溶胶囊的销售数据一直以来都比较平稳,在2014-2019年销售额总体呈持续增长趋势,并于2019年达到峰值9.16亿元。但在2020年开始第一次走下坡路,下跌9.22%。就2021年前两个季度的销售额来看,预计全年销售额同比2020会有一定的回升,挽回下跌的局面。

图片来源:药融云全国医药销售数据库
<END>







川公网安备51019002008863号
本网站未发布麻醉药品、精神药品、医疗用毒性药品、放射性药品、戒毒药品和医疗机构制剂的产品信息
收藏
登录后参与评论
暂无评论