
据CDE官网公示,成都天台山递交的4类仿制化药间苯三酚注射液上市申请已获受理。

截图来源:CDE官网
间苯三酚注射液是一种亲肌性非阿托品非罂粟碱类纯平滑肌解痉药,临床上,间苯三酚治疗急性胃肠炎、胆囊炎、肾绞痛、胆结石等引起的痉挛性腹痛,疗效确切,尤其是对急性胃肠炎、胆囊炎所致腹痛疗效显著。据药融云数据库,近两年间苯三酚院内销售额在13亿元左右,以湖北午时药业、南京恒生制药市场份额最高。

截图来源:药融云全国医院销售数据库
目前,间苯三酚在国内仅有注射剂剂型在产(含间苯三酚注射液、注射用间苯三酚)。间苯三酚注射液有4家药企拥有批文,其中万邦德制药(首家过评)、成都倍特和南京恒生制药已过评,武汉人福已递交一致性评价补充申请,整体市场竞争还算温和。
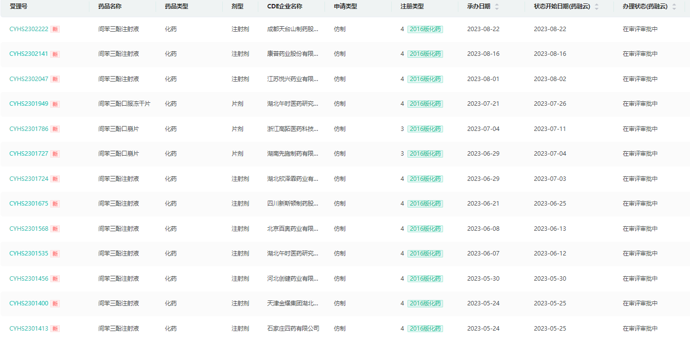
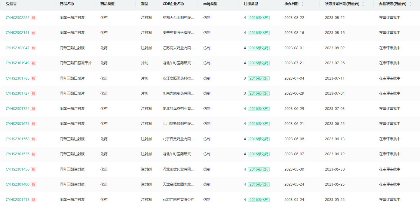
不过当前间苯三酚注射液报产在审的药企已超30家,包括仁合益康、石家庄四药、重庆药友制药等明星药企扎堆申报,可预见该品种后续竞争会愈发激烈。此前间苯三酚注射液/注射用间苯三酚被陆续纳入《广东联盟双氯芬酸等药品集中带量采购》、《2022年京津冀药品联合带量采购》等集采,若后续被纳入国采名单,市场又将面临新一轮洗牌。
间苯三酚相关制剂报产在审企业

数据来源:药融云中国药品审评数据库
此外湖北午时药业还递交了间苯三酚口服冻干片的上市申请,浙江高跖医药、湖南先施制药、仁合益康等药企报产了间苯三酚口腔崩解片,目前这两品种均未有国产仿制获批。

数据来源:药融云中国药品审评数据库
<END>
要解锁更多企业药品研发信息吗?查询药融云数据库(vip.pharnexcloud.com/?zmt-mhwz)掌握药品各国上市情况、药品批文信息、销售情况与各维度分析、市场竞争格局、一致性评价情况、集采中标情况、药企申报审批信息、最新动态与前景等,以及帮助企业抉择可否投入时提供数据参考!注册立享15天免费试用!








川公网安备51019002008863号
本网站未发布麻醉药品、精神药品、医疗用毒性药品、放射性药品、戒毒药品和医疗机构制剂的产品信息
收藏
登录后参与评论
暂无评论