
掌握肺癌ALK第四代靶向药最新消息。随着医药科技的飞速进步,肺癌治疗领域正迎来革命性的变革,ALK第四代靶向药的出现更是为众多患者带来了前所未有的治疗希望。
肺癌ALK抑制剂的出现,改变了间变性淋巴瘤激酶(ALK)阳性晚期非小细胞肺癌(NSCLC)的临床治疗格局。ALK突变堪称肺癌的“钻石突变”,在经历多种靶向药物的序贯治疗后,患者已经达到长期生存和慢性病状态。
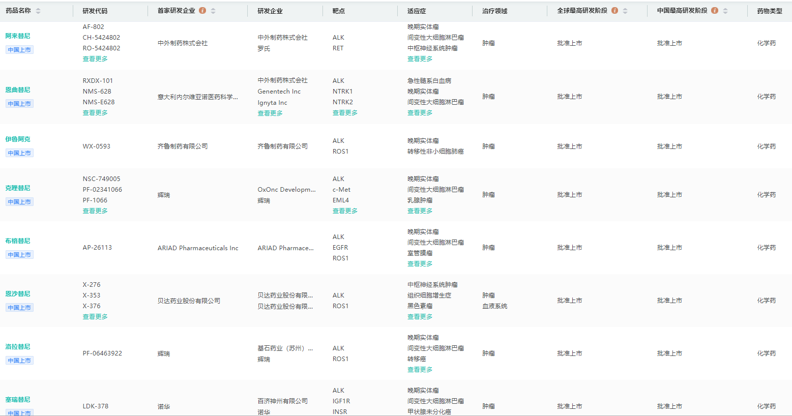
药融云数据库显示,截至目前,全球共有三代9款ALK抑制剂产品上市,其中在国内上市的有8款,包括第一代的克唑替尼,第二代的塞瑞替尼、布格替尼及阿来替尼、恩沙替尼、伊鲁阿克以及第三代的洛拉替尼、恩曲替尼。
国内获批上市的ALK抑制剂

图片来源:药融云全球药物研发数据库
然而,随着治疗的深入,尽管这些药物让很多肺癌患者成功“续命”,耐药也是很多患者面临的新的生存考验,于是全球的目光都聚焦在第四代ALK抑制剂上。
目前,ALK第四代抑制剂已经成功进入临床阶段,其中备受关注的有美国TurningPoint公司研发的TPX-0131、Nuvalent公司研发的NUV-655等。
ALK第四代靶向药——TPX-0131
2020年6月22日,在AACR2020年会上,TurningPointTherapeuti公司研发的第四代ALK抑制剂TPX-0131惊艳亮相。
细胞株实验显示,TPX-0131对ALK融合、ALK单突变和ALK复合突变敏感,尤其是G1202R和复合突变L1196M/G1202R(该复合突变对所有已上市的ALK抑制剂均耐药)。除了对I1171N/S/T和G1269S的敏感性不如塞瑞替尼、阿来替尼和洛拉替尼外,TPX-0131对其它ALK突变的敏感性超过其它ALK抑制剂。
此外,在小鼠实验中,对EML4-ALKG1202R难治耐药、G1202R/L1198F和G1202R/L1196M复合突变的细胞源性异种移植瘤,TPX-0131在10mg/kg每天二次的剂量水平时,显示出良好的抗肿瘤活性。
2021年4月19日,TPX-0131的1/2期FORGE-1临床试验(NCT04849273)开始招募入组患者。同年7月28日,首例患者入组。TPX-01311/2期临床试验FORGE-1研究(NCT04849273)旨在评估新型ALK抑制剂TPX-0131在经治ALK阳性晚期或转移性NSCLC受试者中的安全性、耐受性、药代动力学和疗效。
FORGE-1临床试验(NCT04849273)信息查询

图片来源:药融云全球临床试验数据库
2022年,百时美施贵宝以每股76美元的价格,总额41亿美元完成了对TurningPointTherapeuti的收购。
遗憾的是,2023年5月26日,临床试验官网发布最终信息显示,由于其风险/收益的不利变化,TPX-0131的1/2期FORGE-1临床试验已终止。
ALK第四代靶向药——NUV-655
NUV-655(NVL-655)是Nuvalent公司研发的第四代ALK/ROS1酪氨酸激酶抑制剂。在设计上,NVL-655兼顾了抗ALK活性、脑渗透性、对单一和复合耐药突变的抑制活性,并且可避免TRK相关的神经毒性,以应对在三代ALK-TKI耐药后无药可用的困局。
NVL-655旨在在对第一代、第二代和第三代ALK抑制剂产生耐药性的肿瘤中保持活性,包括具有溶剂前沿G1202R突变或复合突变G1202R/L1196M(“GRLM”)、G1202R/G1269A(“GRGA”)或G1202R/L1198F(“GRLF”)。
细胞试验表明,NVL-655能有效抑制EML4-ALKV1或V3的人细胞系和Ba/F3细胞。同时,对G1202R、G1202R/L1196M、G1202R/G1269A和G1202R/L1198F突变都高度敏感。
动物研究中,NVL-655每日两次口服1.5mg/kg治疗,可使G1202R/L1196M突变的小鼠皮下移植瘤明显缩小。而洛拉替尼(每日两次口服10mg/kg,近似于人体剂量100mg,每日一次)治疗只能起到一定的抑制作用,小鼠肿瘤仍然增长。
2022年6月9日,Nuvalent公司宣布开启NVL-655的ALKOVE-1 1/2期临床研究,首例肺癌患者已经成功接受治疗。ALKOVE-1(NCT05384626)是一项多中心、开放性标签的1/2期临床研究,评估NVL-655在晚期ALK阳性NSCLC和其他实体瘤患者中的安全性和有效性,包括ALK耐药突变和中枢神经系统转移的患者。
2023年10月,Nuvalent公司在第35届AACR年会上公布了第四代ALK抑制剂NVL-655早期临床数据。体外实验显示NVL-655可以抑制第1代和第2代ALK抑制剂的耐药突变G1202R和第3代ALK抑制剂的耐药突变G1202R/L1196M、G1202R/G1269A和G1202R/L1198F等。NVL-655的血脑穿透屏障潜能与洛拉替尼类似,而且对TRKB没有抑制活性,避免了可能的神经毒性。

在2023年ELCC大会上,ALKOVE-1的研究结果被公布。数据显示,截至2023年8月8日,剂量递增阶段纳入了93例ALK融合阳性实体瘤患者,接受了NVL-655(剂量范围为15-200mgqd)的治疗。98%为NSCLC,脑转移占58%;43例有ALK二次突变,其中单突变19例,复合突变24例;中位治疗线数3,既往治疗中,57%接受过化疗,44%服用过第一代ALK抑制剂(克唑替尼),95%服用过第二代ALK抑制剂(多为阿来替尼),83%服用过第三代ALK抑制剂(洛拉替尼)。
研究结果:
(1)截至2023年8月8日,51例NSCLC患者可供疗效评估,ORR为39%(20/51),所有肿瘤部分缓解患者仍保持疾病稳定,最长已超过1年。另外,仍有67%(34/51)患者继续服用NVL-655,中位治疗持续时间3.4个月(0.3-12.3),中位反应时间为6.1周(5.1-12.3)。
(2)在试验剂量≥50mgqd中,41例患者可评估疗效,ORR为44%(18/41)。
(3)肿瘤影像学的评估显示,NVL-655治疗在没有已知的ALK耐药突变的患者中,ORR为22%;在ALK单一或复合耐药突变的患者中,ORR竟高达54%。
(4)药动学与药效学:NVL-655的治疗剂量≥50mgQD可增加对中枢神经系统单一和复合突变的覆盖。但对于不同的突变,治疗剂量上可能存在差异。药效动力学初步数据显示,NVL-655在一个很宽的剂量范围内,可以完全清除患者外周血中的ALK耐药突变。
药动学

药效学

(5)安全性方面,NVL-655耐受性良好,治疗相关不良事件(TRAEs)较轻,最大耐受剂量(MTD)和二期推荐剂量(RP2D)仍未确定。常见的TRAE(≥5%)是转氨酶升高(ALT升高19%,≥3级6%;AST升高18%,≥3级4%)、恶心(10%)、味觉障碍(8%)、便秘(6%)、疲劳/外周水肿(各占5%;外周水肿≥3级1%)。
值得注意的是,NVL-655表现出良好的耐受性,这表明NVL-655可能是头一款能对多种ALK耐药突变有效的选择性靶向药。该药还涉及了ALK突变中的G1202R和I1171N的单一突变和复合突变,还可治疗脑转移,以及避免TRK抑制(简单理解为该药可减少神经中枢不良反应)。
2024年2月,Nuvalent公司宣布启动ALKOVE-1的2期部分,这是其NVL-655用于ALK阳性非小细胞肺癌和其他实体瘤患者的1/2期临床试验,此前该公司已与美国食品和药物管理局就150mg每日一次的推荐2期剂量(RP2D)保持一致。
ALKOVE-1试验的2期部分将在北美、欧洲、亚洲和澳大利亚进行。单臂、开放标签2期部分旨在为接受过TKI预处理的ALK阳性NSCLC患者进行注册,并为未接受过TKI的ALK阳性NSCLC患者提供初步研究。
非小细胞肺癌药物市场规模
肺癌是全球发病率和病死率均排名第一的恶性肿瘤。在我国全部肺癌病例中,非小细胞肺癌(NSCLC)约占85%,ALK阳性肺癌约占NSCLC病例的3-5%。尽管比例不高,但我国每年ALK阳性肺癌新发病例数接近35,000例,大多数在确诊时已是晚期。
2020年中国癌症死亡例数前十的癌症类型

数据来源:IARC(世界卫生组织国际癌症研究机构)
随着肺癌发病率的逐年上升和患者对创新药物的需求增加,近年来我国非小细胞肺癌靶向药市场规模保持高速增长态势。2022年我国非小细胞肺癌(NSCLC)靶向药市场规模542亿元,其中生物药类产品规模184.8亿元;小分子靶向药类规模357.2亿元,小分子靶向药物占据总市场份额的65.9%以上。
ALK靶向药“三代同堂”的治疗药物竞争格局
目前,“老中青”三代ALK抑制剂产品同台竞技,如何排兵布阵以达到最佳的治疗获益,不仅是临床应中争论的焦点问题,更影响着ALK抑制剂市场竞争格局。
随着ALK抑制剂不同代际产品的批准上市,ALK阳性晚期NSCLC正在逐步实现“慢病化”。ALK抑制剂市场规模也由2016年的1.4亿元迅速增长至2021年的34.6亿元,六年复合增长率达66.8%。
克唑替尼是第一代ALK抑制剂产品,享受到先发红利,在2018年以前,整体市场份额由其占领。随着第二代ALK靶向药产品的获批上市,克唑替尼的份额逐渐被分割,特别是阿来替尼在2019年以后取得迅速的发展,带领第二代ALK产品占比由2018年的8.9%迅速提升至67.5%,替代克唑替尼成为市场龙头。
在第三代ALK产品洛拉替尼上市后(2022年4月),阿莱替尼顶住了新一代产品的冲击,2022年阿来替尼全球销售约为15.88亿美元,保持了两位数的净销售额增长。在国内医院全终端市场,阿来替尼也保持大幅增长态势,2022年阿来替尼的销售额超17亿元,同比增长21.26%。
阿来替尼国内医院终端市场年度销售趋势

图片来源:药融云全国医院销售(全终端)数据库
鉴于第二代ALK抑制剂巨大的市场潜力,国内医药企业纷纷投入研发资源,力图在这一领域取得领先地位。贝达药业、齐鲁制药、中国生物制药以及首药控股等主流药企均聚焦于第二代ALK抑制剂的研发,寄望复制贝达药业埃克替尼的成功。
展望未来几年,国内二代ALK抑制剂市场的竞争将愈发激烈。除了已在国内市场立足的进口药物,国产ALK创新药亦将形成贝达药业、齐鲁药业、中国生物制药、首药控股等多方竞争的格局。除非有某一方能在疗效上显著超越当前标准药物阿莱替尼,否则市场竞争仍将主要围绕“国产替代”展开。
与此同时,国内药企已开始积极布局第三代ALK抑制剂的研发。首药控股的SY-3505作为国内首个进入临床且研发进度领先的国产三代ALK抑制剂,已于2023年3月获得CDE附条件批准上市。目前,SY-3505的关键性Ⅲ期临床试验已正式启动。
结语:
尽管部分药物在临床试验中遭遇挫折,但这并不意味着ALK第四代靶向药的研发之路就此终止。相反,这为未来药物的研发提供了方向和宝贵的经验。随着第四代ALK靶向药的研发进展,ALK阳性非小细胞肺癌治疗将迈入新纪元。期待未来更多创新药物的问世,攻克耐药难题,为患者提供更优治疗选择。
<END>
要解锁更多企业药品研发信息吗?查询药融云数据库(vip.pharnexcloud.com/?zmt-mhwz)掌握药品各国上市情况、药品批文信息、销售情况与各维度分析、市场竞争格局、一致性评价情况、集采中标情况、药企申报审批信息、最新动态与前景等,以及帮助企业抉择可否投入时提供数据参考!注册立享15天免费试用!








川公网安备51019002008863号
本网站未发布麻醉药品、精神药品、医疗用毒性药品、放射性药品、戒毒药品和医疗机构制剂的产品信息
收藏
登录后参与评论
暂无评论