
近日,据NMPA官网公示,四川制药制剂的仿制药注射用氨苄西林钠通过仿制药一致性评价。据药融云数据统计,该品种在2022年全国院内销售额超5亿元。

截图来源:NMPA官网
注射用氨苄西林钠为抗感染类药物,适用于敏感菌所致的呼吸道感染、胃肠道感染、尿路感染、软组织感染、心内膜炎、脑膜炎、败血症等。据药融云数据统计,该品种在2020年全国院内销售额突破1亿大关,2022年在全国院内市场销售额超5亿元,同比增长达73.96%。

截图来源:药融云全国医院销售数据库
目前,注射用氨苄西林钠有61家企业企业拥有生产批文,其中仅哈药集团制药、四川制药制剂、湖南科伦制药等9家企业过评。

截图来源:药融云过评药品汇总数据库
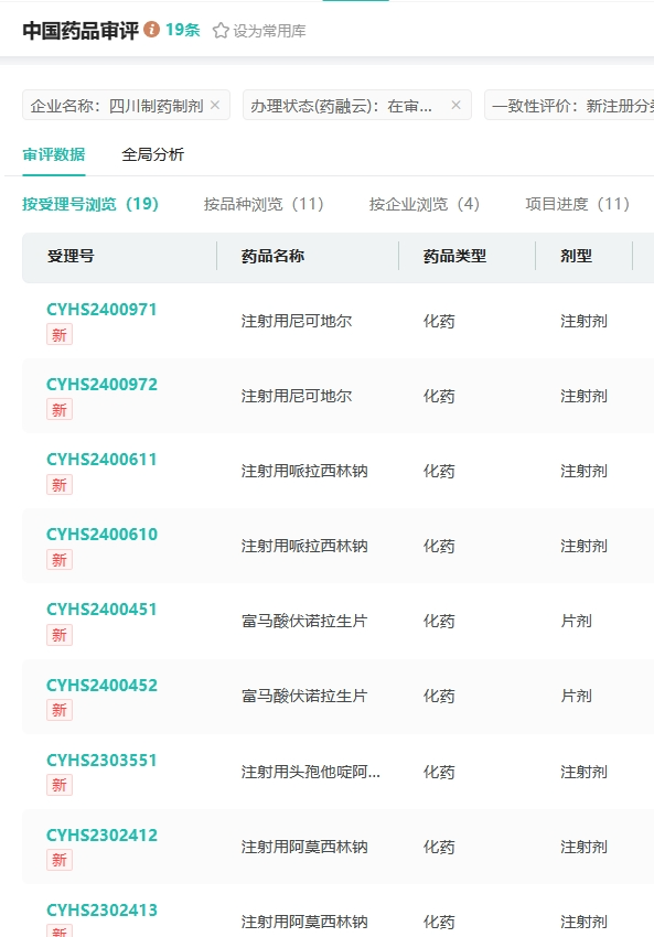
在仿制药布局方面,四川制药制剂已提交了注射用阿莫西林钠、富马酸伏诺拉生片、注射用哌拉西林钠、注射用头孢呋辛钠、注射用头孢唑肟钠等11个品种的仿制申请,均在审评审批中。

截图来源:药融云中国药品审评数据库
截止目前,除此次过评的注射用氨苄西林钠,四川制药制剂还有注射用青霉素钠、普瑞巴林胶囊、注射用头孢呋辛钠、注射用头孢西丁钠等10个品种过评。
<END>
要解锁更多企业药品研发信息吗?查询药融云数据库(vip.pharnexcloud.com/?zmt-mhwz)掌握药品各国上市情况、药品批文信息、销售情况与各维度分析、市场竞争格局、一致性评价情况、集采中标情况、药企申报审批信息、最新动态与前景等,以及帮助企业抉择可否投入时提供数据参考!注册立享15天免费试用!








川公网安备51019002008863号
本网站未发布麻醉药品、精神药品、医疗用毒性药品、放射性药品、戒毒药品和医疗机构制剂的产品信息
收藏
登录后参与评论
暂无评论