
7月24日,据NMPA官网最新公示,罗欣药业其下属子公司山东罗欣药业集团的注射用头孢哌酮钠舒巴坦钠一致性评价补充申请获批过评。此外,其下属子公司山东罗欣乐康制药的蒙脱石散一致性评价补充申请获批过评。

截图来源:NMPA官网
注射用头孢哌酮钠舒巴坦钠是一种高效抗感染复方制剂,有效防止头孢哌酮酶解,提升抗菌活性,并拓宽抗菌谱,展现出良好的协同效果。适用于敏感菌引发的多部位感染,包括呼吸道、泌尿道、腹腔及皮肤软组织等感染。据药融云数据库显示,该品种在2023年全国院内市场销售额超70亿元。

截图来源:药融云全国医院销售数据库
在全国院内销售规模超过千亿元的系统用抗感染药物(包括化学和生物药)市场中,注射用头孢哌酮钠舒巴坦钠持续稳坐“销冠”宝座。在2023年,该产品以9.03%的市场份额稳居榜首,进一步巩固了其销冠地位。

截图来源:药融云全国医院销售数据库
目前,注射用头孢哌酮钠舒巴坦钠有超过百家企业拥有生产批文。在众多竞争者中,仅山东罗欣药业、国药集团、湖南科伦制药、齐鲁安替制药、苏州二叶制药等18家企业通过一致性评价。
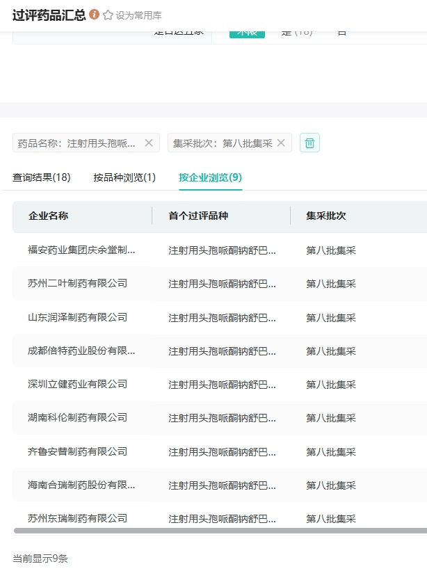
值得一提的是,福安药业集团、苏州二叶制药、山东润泽制药、成都倍特药业、深圳立健药业、湖南科伦制药、齐鲁安替制药、海南合瑞制药以及苏州东瑞制药这9家药企的注射用头孢哌酮钠舒巴坦钠纳入8批集采。

截图来源:药融云过评药品汇总数据库
截止目前,罗欣药业(含子公司)有38个品种获批过评,今年以来仅注射用头孢哌酮钠舒巴坦钠、蒙脱石散2个品种获批过评。据药融云数据库显示,目前,国内共有45家药企拥有蒙脱石散批文,其中35家药企已过评。
参考来源:
[1] NMPA官网
[2] 药融云数据库
<END>
想要解锁更多药物研发信息吗?查询药融云数据库(vip.pharnexcloud.com/?zmt-mhwz)掌握药物基本信息、市场竞争格局、销售情况与各维度分析、药企研发进展、临床试验情况、申报审批情况、各国上市情况、最新市场动态、市场规模与前景等,以及帮助企业抉择可否投入时提供数据参考!注册立享15天免费试用!








川公网安备51019002008863号
本网站未发布麻醉药品、精神药品、医疗用毒性药品、放射性药品、戒毒药品和医疗机构制剂的产品信息
收藏
登录后参与评论
暂无评论