
近日,随着国家“新十条”(关于进一步优化落实新冠肺炎疫情防控措施的通知)政策出台,对疫情防控措施进一步优化,市民群众常备药物等问题受到关注。布洛芬、右美沙芬、复方氨酚烷胺胶囊、连花清瘟等新冠相关药物成为“爆款药”,各大城市均供不应求,断货严重。
具有降温和抑制肺部炎症双重作用的布洛芬,是缺货最严重的药品,持续处于“一药难求”的状态。每盒单价几元到一百不等的布洛芬,在线上线下都很难以购得。

图片来源:网络
一、十亿院内市场,强生占据TOP1
布洛芬为芳基丙酸类非甾体抗炎药,可以抑制前列腺素合成,具有解热镇痛及抗炎作用。可用于治疗关节炎,如骨性关节炎、类风湿性关节炎、强直性脊柱炎,还可用于治疗痛风;可用于缓解轻至中度疼痛,如头痛、关节痛、偏头痛、牙痛、肌肉痛、神经痛、痛经等;还可缓解一般感冒和流行性感冒引起的高热。
据药融云数据库查询,目前在我国国内批准上市的布洛芬相关药品批文有高达六百多条,涉及40+种剂型、700+个品规、400+家企业。据统计,布洛芬在我国院内的销售额峰值曾达到14亿元,近两年有些许下降,2021年的销售额为12亿元。受此次群众哄抢影响,预计布洛芬在今年Q4的销售额将出现暴增。

截图来源:全国医院销售(全终端)数据库
从近三年(2021、2020、2019)的院内(全终端)销售额来看,布洛芬相关制剂市场占比较为领先的是布洛芬缓释胶囊(33.16%)和布洛芬混悬液(28.86%)。在生产企业方面,强生为布洛芬销售市场TOP1,主要因其包揽了混悬液制剂超四成市场。其次是中美天津史克制药、成都苑东生物、珠海润都制药、湖北唯森制药......


截图来源:全国医院销售(全终端)数据库
二、41个品规过评,石药集团剂型最多
据统计,截至2022年12月11日,共有41个布洛芬相关品规通过一致性评价(含视同),其中布洛芬缓释胶囊12个、布洛芬颗粒10个、布洛芬片8个、布洛芬注射液8个、布洛芬混悬液2个、布洛芬软胶囊1个。石药集团欧意药业过评剂型最多,先后拿下了布洛芬颗粒、布洛芬片。
布洛芬通过仿一致性评价情况

截图来源:CDE官网
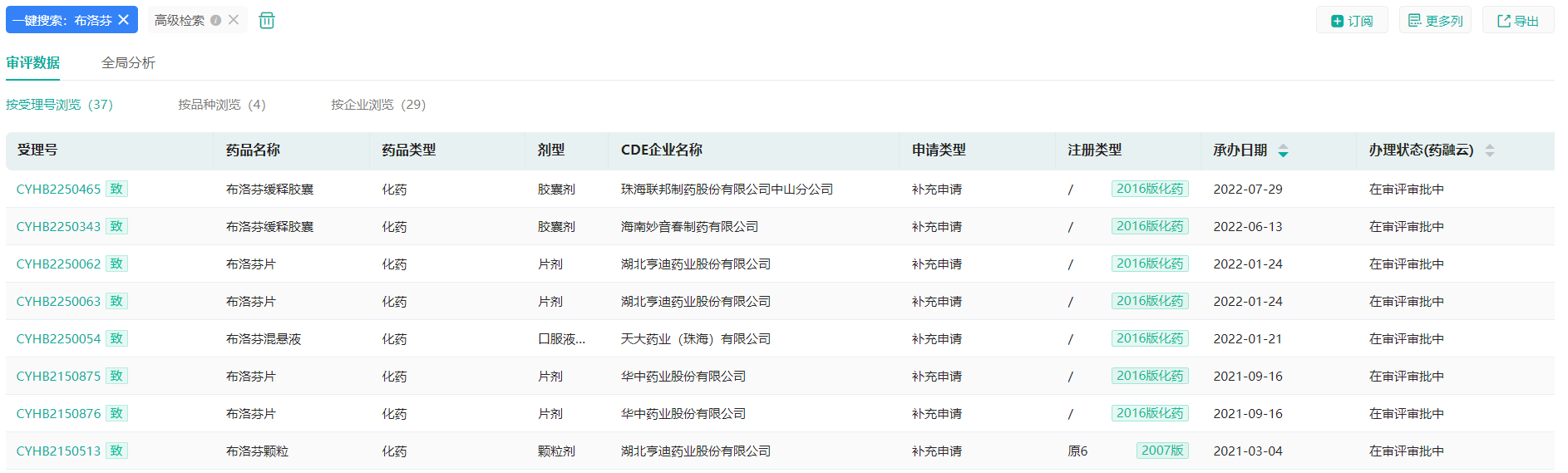
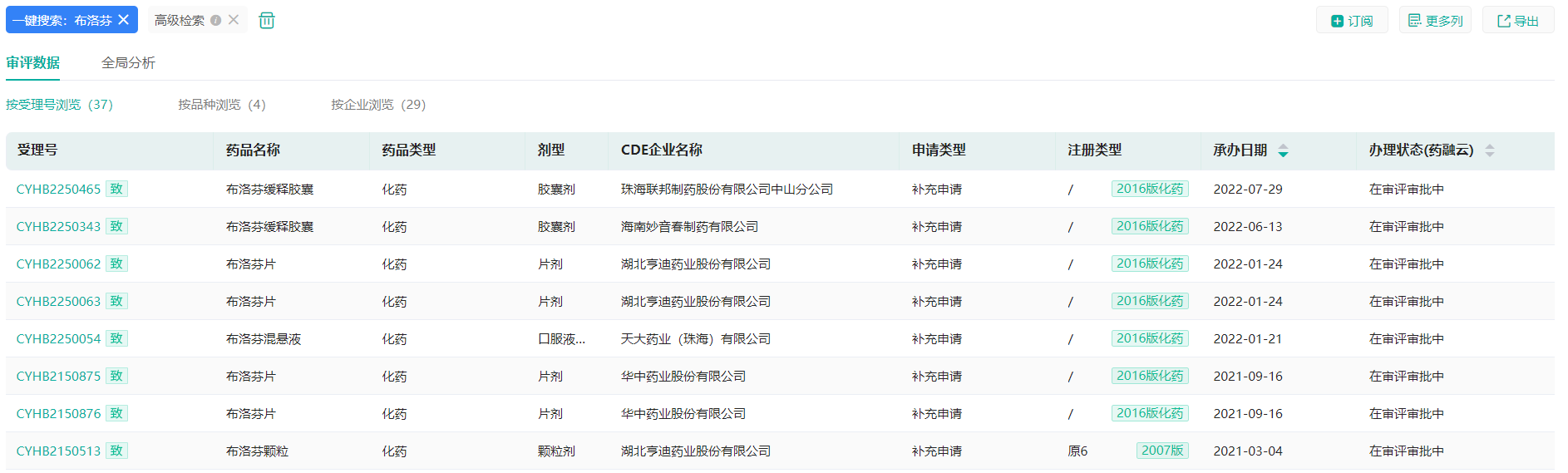
据药融云数据库显示,布洛芬一致性评价现还有8条在审评审批中,包括2条布洛芬缓释胶囊(珠海联邦制药、海南妙音春制药)、2条布洛芬片(湖北亨迪药业、华中药业)、1条布洛芬混悬液(天大药业)、1条布洛芬颗粒(湖北亨迪药业)。
布洛芬一致性评价在审评审批情况

截图来源:药融云中国药品审评数据库
除了通过一致性评价外,原研地产化品种,上海强生制药的2品规布洛芬混悬液(美林),以及中美天津史克制药的布洛芬缓释胶囊(芬必得)也被列入参比制剂!据NMPA/CDE官网显示,目前共有20余个品规被列入参比制剂(备注:列表仅供参考,详细信息请查询NMPA/CDE官网发布的参比制剂目录)。

截图来源:NMPA/CDE官网
三、入集采,药品最高降价89.43%
据药融云数据库查询,布洛芬已有4个制剂先后被纳入了国家集采。其中,布洛芬缓释胶囊、布洛芬颗粒被纳入了第三批国家药品集中采购名单,布洛芬片、布洛芬注射液被纳入了第四批国家药品集中采购名单。平均降幅60.45%,涉及22个品规,14家企业,包括吉林四环制药、石药集团欧意药业、山东新华制药、倍特药业、杭州民生制药等。

截图来源:药融云药品集中采购数据库
其中,布洛芬颗粒药品价格降幅最大:黑龙江诺捷制药降价89.43%,中选价格0.13元/粒(200mg)、1.04/盒(8片)。在山西、辽宁、吉林、黑龙江、山东、河南、湖北、广西等省份供应,其中,山东(44.03%)、河南(30.57%)、广西(16.42%)为首年约定主要采购地区。杭州民生制药则中标了布洛芬注射液的药品最大降幅(76.08%),中选价格23.43/支(800mg)、117.13/盒(5支)。在福建、江西、山东、河南、广东、广西、重庆、四川、云南等省份供应,其中云南(64.69%)为首年约定主要采购地。
布洛芬集采品种降幅情况

截图来源:药融云药品集中采购数据库
四、不必慌张,理性屯药
现查询各大网购平台,我们会发现都对新冠相关药物有限购政策,购买时会显示“12月10日至12月31日该药品每日限购1件”,且有的还要求门店自取,每个ID限购一盒。商家表示,由于各城市疫情严重,药品到不了货,其店内的布洛芬库存紧张、面临缺货。
虽然布洛芬销售紧俏,但其他同类药物备货都很充足。多家药店货架上,抗感解毒类药物种类丰富,针对咽痛、鼻塞等不同症状,都有相对应药物在售。比如具备退烧作用的西药:泰诺、新康泰克;中药:小柴胡颗粒,荆防颗粒等等。如果体温超过38.5℃,可以考虑用这些药去退烧,单选一种即可,且要在医生的正确指导下服用。
而买药难的现象确实普遍存在,面对如何解决缺货问题,日前多地市监局、药监局给出了回应。北京市药监局13日表示,将通过全国范围内调配货源、协调扩大产能、强化价格执法等手段,保障市民基本用药需求。郑州市市监局也表示,已了解到相关情况,正在联系企业加紧生产。
“故,我们在此呼吁大家不必惊慌抢购,应理性囤药!”个人购药自用本无可厚非,但若想大量囤药再涨价倒卖,就有触犯法律的风险。有律师提醒,如果是囤积药品并倒卖,也很容易被认定为经营行为,如果没有药品经营许可显然是违法的,甚至可能触犯非法经营罪。
参考来源:
[1] 网络
[2] CDE官网
[3] NMPA官网
[4] 药融云数据库
想要解锁更多药品信息吗?查询药融云数据库(vip.pharnexcloud.com/?zmt-mhwz)掌握药品国上市情况、药品批文信息、申报情况、销售情况与各维度分析、市场竞争格局、一致性评价、入选国家集采情况、最新动态、市场规模与前景等,以及帮助企业抉择可否投入时提供数据参考!注册立享15天免费试用!

<END>







川公网安备51019002008863号
本网站未发布麻醉药品、精神药品、医疗用毒性药品、放射性药品、戒毒药品和医疗机构制剂的产品信息
收藏
登录后参与评论
暂无评论