
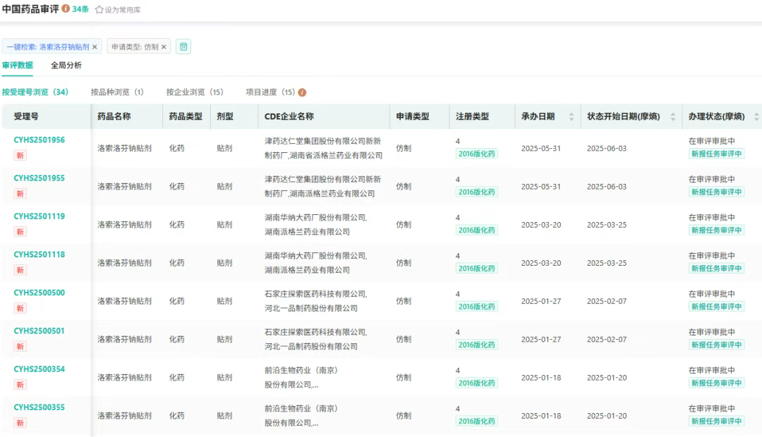
8月15日,CDE官网显示,苏州弘森药业和南京九霄药业联合申报的洛索洛芬钠贴剂上市申请已获受理。据摩熵医药数据库显示,2024年洛索洛芬钠院内销售额超25亿元,该剂型尚无仿制药获批上市,已有15家企业参与首仿争夺。

截图来源:CDE官网
洛索洛芬钠贴剂是一种非甾体抗炎药(NSAID)的外用剂型,主要用于局部消炎镇痛,适用于缓解肌肉、关节或软组织的轻至中度疼痛(如肌肉劳损、关节炎、扭伤等)。其原研企业为LEAD CHEMICALCO.LTD,销售公司为第一三共。

截图来源:摩熵医药全球药物研发数据库
洛索洛芬钠作为20世纪80年代后期上市的改良型非甾体抗炎药,于1999年底进入中国市场,当前在院内销售领域呈现出迅猛的增长态势。据摩熵医药数据,该药2023年同比递增21.29%,成功突破20亿大关;2024年继续保持增长势头,同比增幅达20.20%,销售额攀升至25.23亿元。












川公网安备51019002008863号
本网站未发布麻醉药品、精神药品、医疗用毒性药品、放射性药品、戒毒药品和医疗机构制剂的产品信息
收藏
登录后参与评论
暂无评论