
近日,CDE官网显示,山东新时代药业有限公司按4类化药注册申报的尼可地尔片上市申请申请已获受理。作为上市40余年的经典抗心绞痛药,尼可地尔院内年销售额超14亿元,“老药翻红”成为新一代“卷王”,并成功入围新国采。

截图来源:CDE官网
尼可地尔(Nicorandil)作为一类兼具硝酸酯样作用和ATP敏感性钾通道(KATP)开放作用的双重机制药物,用于治疗不稳定型心绞痛,为冠心病常用药物。

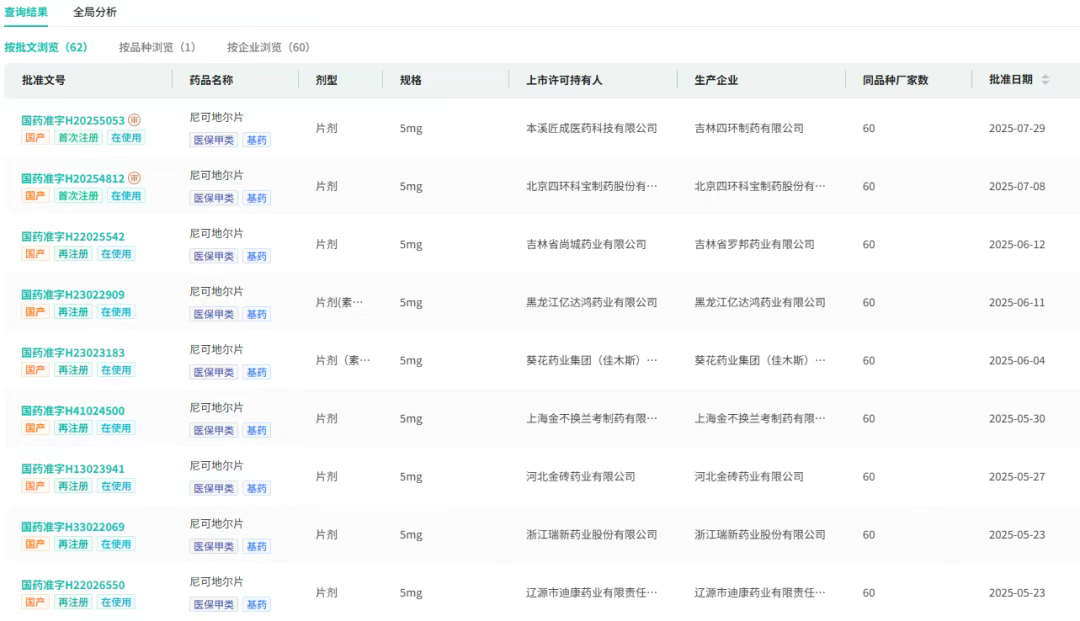
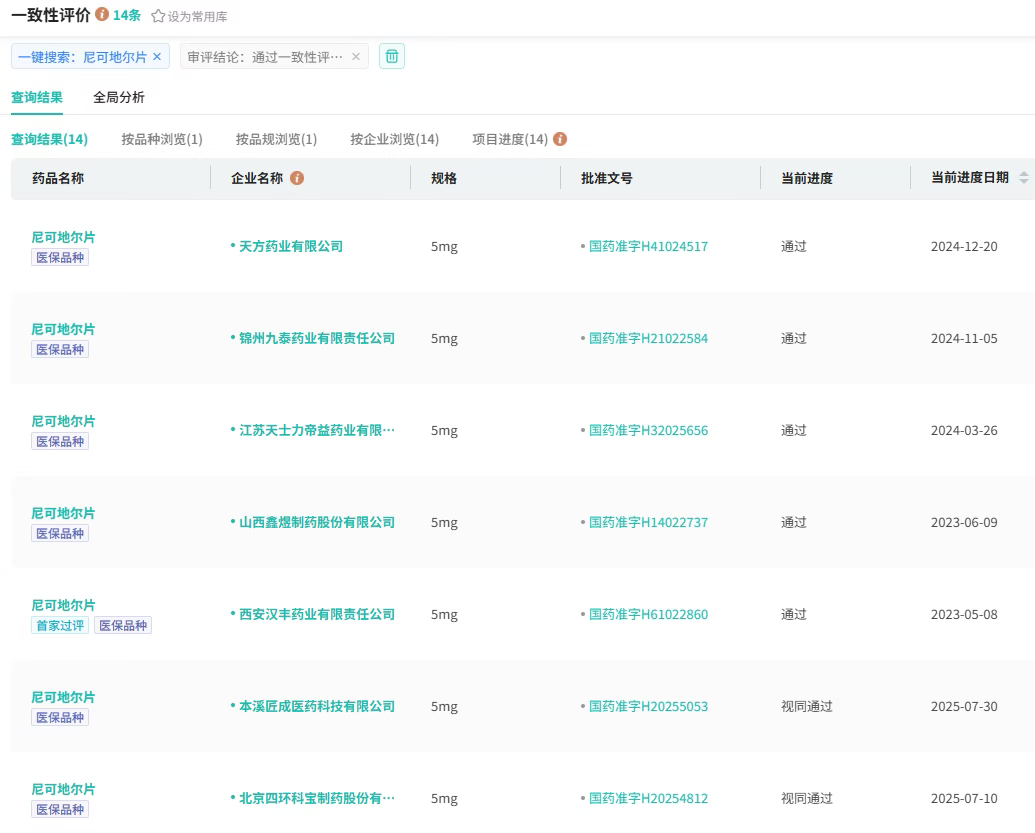
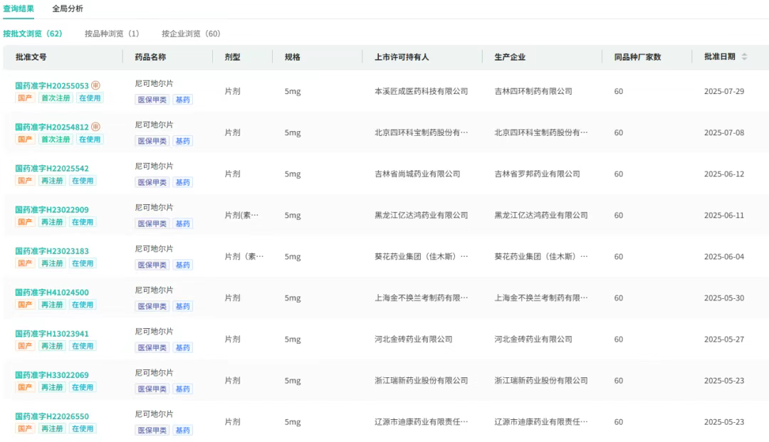
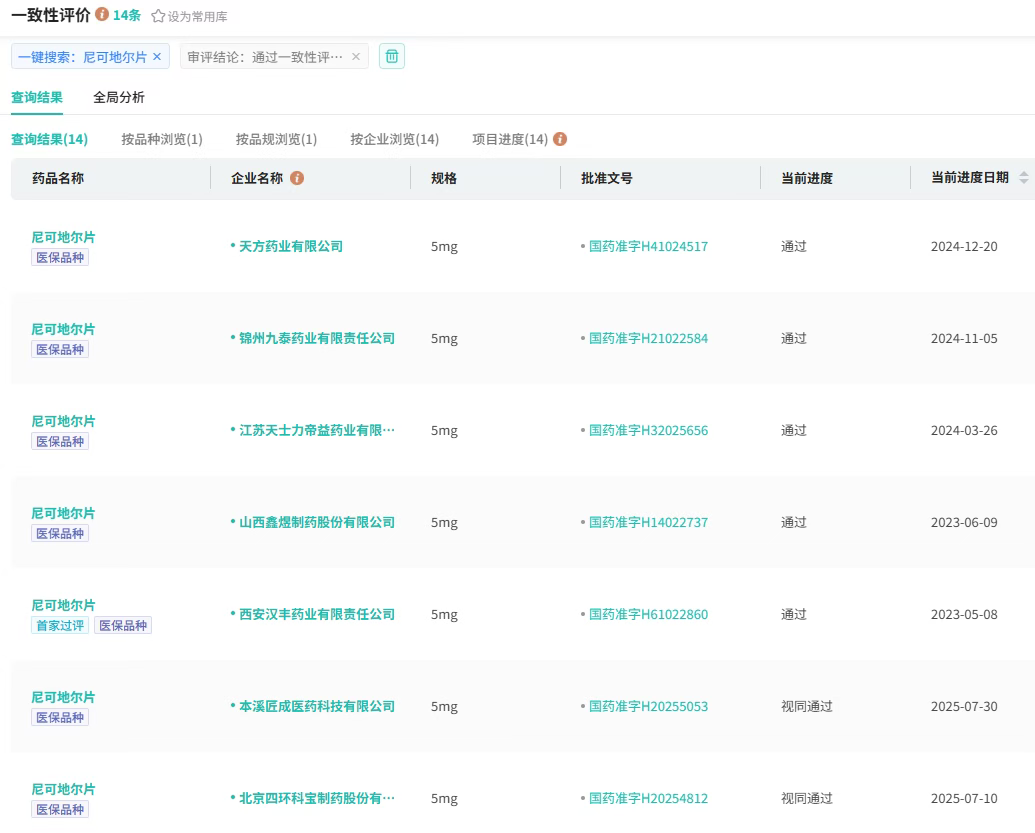
截图来源:摩熵医药全球药物研发数据库
该药物由日本中外制药株式会社原研,片剂于1984年在日本上市;1993年,注射用尼可地尔获批。2006年,原研尼可地尔片进入中国市场,商品名为“喜格迈”。目前其为国家医保甲类药物,并被列入2018版国家基药目录。
据摩熵医药数据库显示,尼可地尔在我国院内累计销售额突破103亿元,2022年以19亿元创下峰值,随后两年销售额下滑,2024年则降至14.64亿元,同比下降8.53%。













川公网安备51019002008863号
本网站未发布麻醉药品、精神药品、医疗用毒性药品、放射性药品、戒毒药品和医疗机构制剂的产品信息
收藏
登录后参与评论
暂无评论