
10月14日,据NMPA官网最新公示,山东新时代药业提交的沙库巴曲缬沙坦钠片获批并过评,据药融云数据库显示,沙库巴曲缬沙坦钠片在2023年全国院内市场的销售额超30亿元。

截图来源:NMPA官网
沙库巴曲缬沙坦钠片为诺华研发,于2015年7月获FDA批准上市用于治疗心衰,2017年获NMPA批准进入国内市场。该品种是全球首个血管紧张素受体脑啡肽酶抑制剂(ARNI),用于射血分数降低的慢性心力衰竭和原发性高血压。沙库巴曲缬沙坦钠片于2019年起进入国家医保乙类谈判目录,市场规模一路上涨,据药融云数据库显示,沙库巴曲缬沙坦钠片在2023年全国院内市场的销售额超30亿元,同比增长达54.12%。

截图来源:药融云全国医院销售数据库
沙库巴曲缬沙坦钠片多年来,市场全部由诺华制药独占,据药融云数据库显示,2019年至2023年,诺华制药在国内院内市场已累计拿下80.62亿元的销售额。若第十批国家药品集中采购将沙库巴曲缬沙坦钠片纳入其中,这一稳固的市场格局预计将迅速且提前发生显著变化。

截图来源:药融云全国医院销售数据库
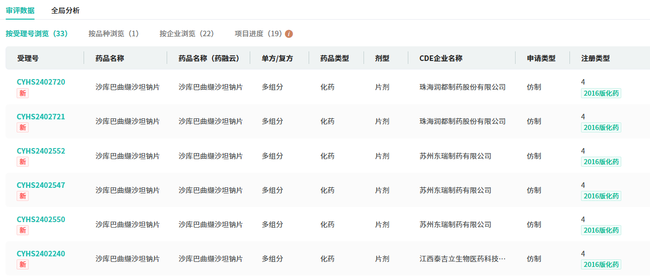
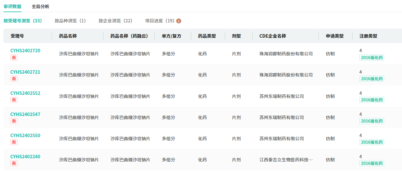
在仿制药布局方面,除山东新时代药业,目前沙库巴曲缬沙坦钠片有江苏万高药业、重庆圣华曦药业、华润双鹤药业等21家药企提交了4类仿制申请,均在审评审批中。

截图来源:药融云中国药品审评数据库
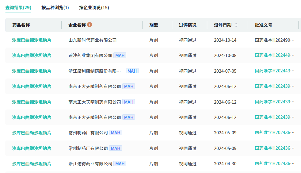
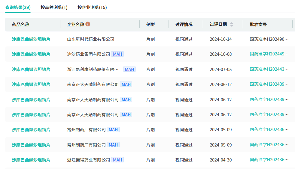
此前,国内已有14家本土企业的沙库巴曲缬沙坦钠片获批上市,包括正大天晴药业、石药集团欧意药业、四川科伦药业、齐鲁制药(海南)等。此次山东新时代药业的沙库巴曲缬沙坦钠片顺利获批上市,成为国产第15家。

截图来源:药融云过评药品汇总数据库
2024年至今,山东新时代药业(含鲁南贝特制药)有沙库巴曲缬沙坦钠片、注射用地西他滨 、磷酸奥司他韦胶囊等20个品种获批并过评,其中酒石酸托特罗定片、阿昔莫司胶囊2款为首家过评品种。
参考来源:
[1] NMPA官网
[2] 药融云数据库
<END>
想要解锁更多药物研发信息吗?查询药融云数据库(vip.pharnexcloud.com/?zmt-mhwz)掌握药物基本信息、市场竞争格局、销售情况与各维度分析、药企研发进展、临床试验情况、申报审批情况、各国上市情况、最新市场动态、市场规模与前景等,以及帮助企业抉择可否投入时提供数据参考!注册立享15天免费试用!








川公网安备51019002008863号
本网站未发布麻醉药品、精神药品、医疗用毒性药品、放射性药品、戒毒药品和医疗机构制剂的产品信息
收藏
登录后参与评论
暂无评论