
近日,据NMPA官网公示,山东新时代药业提交的3款4类仿制药硝苯地平控释片、异氟烷、吸入用硫酸沙丁胺醇溶液同日获批。2024年至今,该药企已有28款品种获批并过评。

截图来源:NMPA官网
34亿+重磅品种,原研药企市场表现亮眼
硝苯地平控释片由拜耳公司研发,是一款长效降压药物,主要用于高血压、冠心病以及慢性稳定型心绞痛(即劳累性心绞痛)的治疗,以其长期稳定的降压效果著称。据摩熵医药数据库显示,硝苯地平控释片在2023年全国医院销售(全终端)的销售总额超34亿元。

近日,据NMPA官网公示,山东新时代药业提交的3款4类仿制药硝苯地平控释片、异氟烷、吸入用硫酸沙丁胺醇溶液同日获批。2024年至今,该药企已有28款品种获批并过评。

截图来源:NMPA官网
硝苯地平控释片由拜耳公司研发,是一款长效降压药物,主要用于高血压、冠心病以及慢性稳定型心绞痛(即劳累性心绞痛)的治疗,以其长期稳定的降压效果著称。据摩熵医药数据库显示,硝苯地平控释片在2023年全国医院销售(全终端)的销售总额超34亿元。
从激烈的市场竞争格局来看,原研药企的硝苯地平控释片凭借62.21%的市场份额稳居榜首,彰显了其在研发实力、产品质量及市场认可度方面的绝对优势。紧随其后的是上海现代制药,以8.01%的市场份额位居第二,虽与榜首存在一定差距,但其在国内药企中已属佼佼者,展现出了强劲的市场竞争力。

截图来源:摩熵医药(原药融云)全国医院销售(全终端)数据库
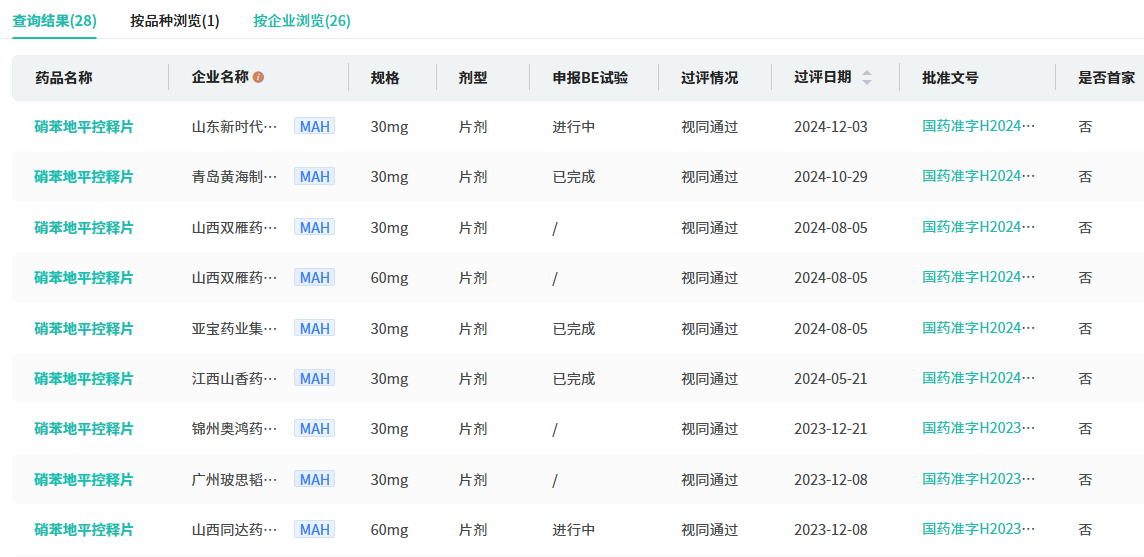
截至目前,硝苯地平控释片有27家企业拥有生产批文,其中广州一品红制药、上海现代制药、扬子江药业集团、海南先声药业、石药集团欧意药业等26家药企过评。

截图来源:摩熵医药(原药融云)过评药品汇总数据库
吸入用硫酸沙丁胺醇溶液是选择性β2-肾上腺素受体激动剂,适用于对传统治疗方法无效的慢性支气管痉挛的治疗,及严重的急性哮喘发作的治疗。据摩熵医药数据库显示,2023年吸入剂在全国医院销售(全终端)的销售总额超260亿元,其中,吸入用硫酸沙丁胺醇溶液销售额突破4亿元,同比增长达138.12%,位列吸入剂销售TOP15品种之中。
目前已有仁合益康集团、四川普锐特药业、山东新时代药业等21家药企获批生产吸入用硫酸沙丁胺醇溶液,并视同过评。吸入用硫酸沙丁胺醇溶液已被纳入第四批集采,河北仁合益康药业、四川普锐特医药、浙江福瑞喜药业、苏州弘森药业4家企业中标。

截图来源:摩熵医药(原药融云)过评药品汇总数据库
在吸入剂领域,目前山东新时代药业已有异氟烷、吸入用七氟烷、吸入用硫酸沙丁胺醇溶液3款品种过评。2024年至今,山东新时代药业有28款品种过评,其中异氟烷、酒石酸托特罗定片、阿昔莫司胶囊3款品种为首家过评。
参考来源:
[1] NMPA官网
[2] 摩熵医药(原药融云)数据库
想要解锁更多药物研发信息吗?查询摩熵医药(原药融云)数据库(vip.pharnexcloud.com/?zmt-mhwz)掌握药物基本信息、市场竞争格局、销售情况与各维度分析、药企研发进展、临床试验情况、申报审批情况、各国上市情况、最新市场动态、市场规模与前景等,以及帮助企业抉择可否投入时提供数据参考!注册立享15天免费试用!

11050
2026年01月07日 08:00
收藏
登录后参与评论
暂无评论