
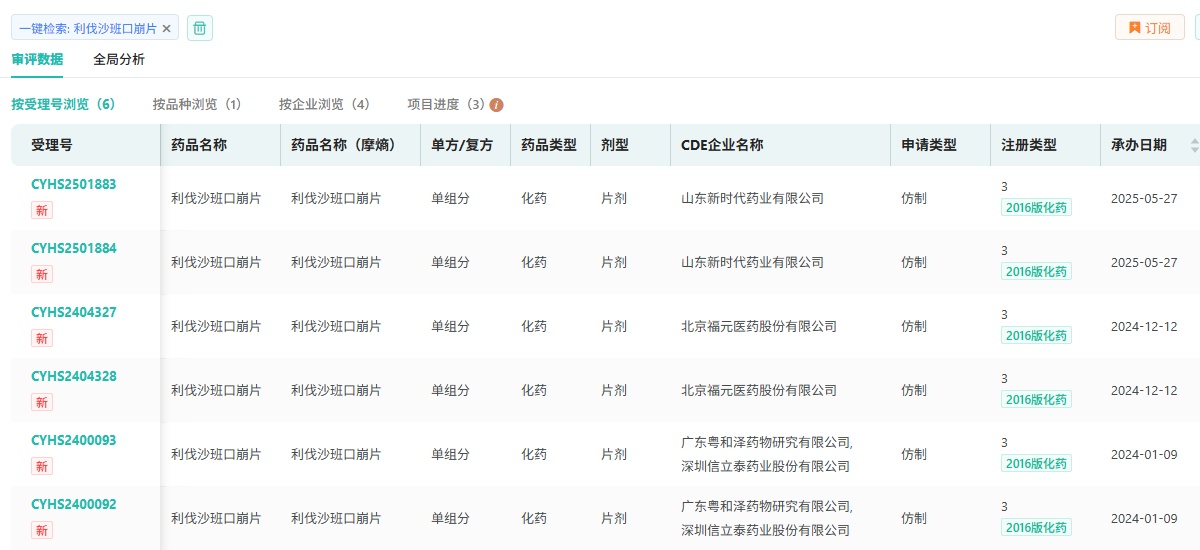
5月27日,据CDE官网显示,山东新时代提交的3类仿制化药利伐沙班口崩片上市申请已获受理。若成功获批,或将成为国产首仿。

截图来源:CDE官网
公开资料显示,利伐沙班作为新型口服抗凝药,是全球第一个直接、高度选择性和竞争性的Xa因子抑制剂,通过直接抑制Xa因子可以中断凝血瀑布的内源性和外源性途径,抑制凝血酶的产生和血栓形成。

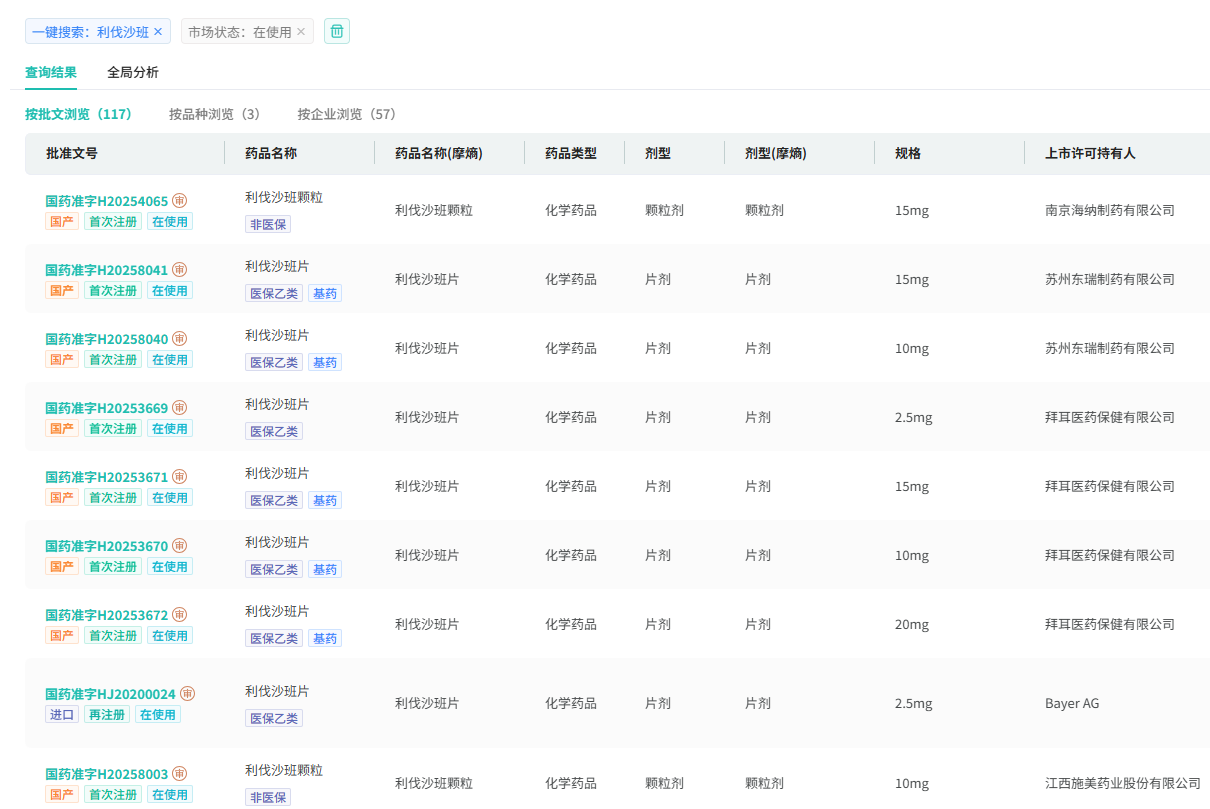
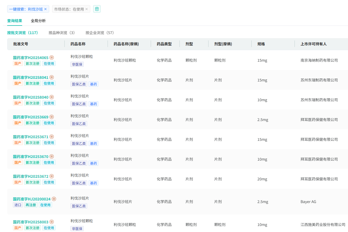
该原研药由拜耳(Bayer)和强生子公司西安杨森(Janssen)联合研发,2008年9月获EMA批准,并于加拿大首次上市,2009年进入中国市场,商品名拜瑞妥,同年进入国家医保。2011年11月获FDA批准。在全球范围内,利伐沙班已经在超过130个国家或地区获批上市,为多种静脉和动脉血栓栓塞患者提供保护。从市场规模来看,口服抗栓药市场广阔,近年来在国内拥有近200亿的销售额。随着全球老龄化程度的加深以及心脑血管疾病发病率的上升,抗栓药物的市场需求持续攀升。

图片来源:摩熵咨询《口服抗栓药物市场研究专题报告》
利伐沙班作为该领域的明星产品,占据了相当大的市场份额。自上市以来,全球销售额一路高歌猛进,2019年利伐沙班全球销售额超过69亿美元。2021年销售额达到75亿美元,排在全球畅销药第12位。2022年全球销售额约为73亿美元,全球畅销药第7位。利伐沙班片作为国家医保乙类品种,在国内市场一直稳步增长,2021年利伐沙班片销售额突破50亿元,但在集采后销售额急速下降。其在第五批集采被纳入,共纳入10mg、15mg、20mg三种规格,有14家企业中标,平均降幅90.54%,最高降幅高达99.42%,堪称集采的“降价之王”。据摩熵医药数据库显示,该品种截止2024年在全国院内市场的销售总额超169亿元。










川公网安备51019002008863号
本网站未发布麻醉药品、精神药品、医疗用毒性药品、放射性药品、戒毒药品和医疗机构制剂的产品信息
收藏
登录后参与评论
暂无评论