
近日,据NMPA官网公示,山东新时代药业的4类仿制化药他达拉非片和甲磺酸仑伐替尼胶囊同日获批上市并视同通过一致性评价。据药融云数据统计,2022年在全国院内销售(化学或生物药)泌尿系统药物产品TOP10中,他达拉非片排名第5。在全国院内销售(化学或生物药)抗肿瘤药产品TOP20中,甲磺酸仑伐替尼胶囊排名15。2023年至今,山东新时代药业提交了40个品种的仿制申请,已有9个品种获批,今年6月,斩获盐酸沙丙蝶呤片首仿。

截图来源:NMPA官网
潜力黑马“他达拉非”,全球销售达250亿!
他达拉非片原研药由美国礼来公司研制开发,是一种选择性、可逆性的磷酸二酯酶 5(PDE5)抑制剂,于 2003 年在美国上市,2004年作为治疗男性勃起功能障碍(ED)的药物在美国上市,商品名为“CIALIS”(希爱力),2005 年进入中国市场。主要治疗男性勃起功能障碍(ED),肺动脉高压,良性前列腺增生(BPH)。
据悉,潜力黑马“他达拉非”在国际上销售已达十多年,在ED市场一直占据领先地位,。截至2017年,他达拉非全球销售额高达254.6亿元,在欧美市场,PDE5抑制剂中他达拉非的市场占有率也排在第一,市场潜力巨大。公开数据显示,礼来他达拉非片 2016 年和 2017 年的销售额分别为 24.56 亿美元和 23.04 亿美元, 2018 年全球销售额大幅下滑 18.52 亿美元。据药融云数据统计,2022年他达拉非片在全国院内销售超1亿元,同比增长达7.9%,在全国院内销售(化学或生物药)泌尿系统药物产品TOP10中,他达拉非片排名第5。

截图来源:药融云全国医院销售数据库
据药融云数据统计,除此次的山东新时代药业,国内还有浙江康恩贝制药、江苏华阳制药、江苏联环药业、浙江赛默制药等36个企业提交了他达拉非片的仿制申请,均在审评审批中,此次他达拉非片是山东新时代药业首个获批的抗ED药物。
斩获9大重磅品种,13亿抗肿瘤药最新拿下
甲磺酸仑伐替尼胶囊是一种口服的多靶点小分子靶向药物,给药后可快速吸收起效,且耐受性良好。 甲磺酸仑伐替尼(商品名:乐卫玛)是第三代抗肿瘤血管生成的靶向药物,仑伐替尼最早由日本卫材Eisai Co.开发,是一种口服多靶点激酶抑制剂(TKI),酪氨酸激酶(RTK)受体抑制剂,适用于既往未接受过全身系统治疗的不可切除的肝细胞癌患者等。据药融云数据统计,2022年甲磺酸仑伐替尼胶囊在全国院内销售超13亿元,同比增长达69% ,在全国院内销售(化学或生物药)抗肿瘤药产品TOP20中,甲磺酸仑伐替尼胶囊排名15。

截图来源:药融云全国医院销售数据库
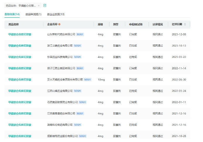
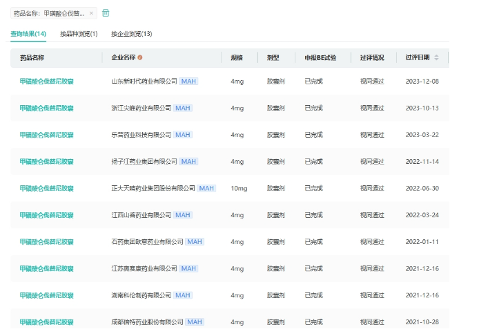
据药融云数据统计,除原研,甲磺酸仑伐替尼胶囊目前国内有13家企业获批生产,并视同通过一致性评价。此次甲磺酸仑伐替尼胶囊是山东新时代药业最新拿下的抗肿瘤药。

截图来源:药融云过评药品汇总数据库
2023年至今,山东新时代药业提交了40个品种的仿制申请,已有9款产品获批并视同一致性评价,在2022年全国院内销售合计超60亿元。于今年6月斩获盐酸沙丙蝶呤片为首仿。9款获批产品涵盖抗肿瘤和免疫调节药、血液和造血系统用药、生殖泌尿系统和性激素类药物、神经系统用药等治疗大类。

截图来源:药融云中国药品审评数据库
<END>
要解锁更多企业药品研发信息吗?查询药融云数据库(vip.pharnexcloud.com/?zmt-mhwz)掌握药品各国上市情况、药品批文信息、销售情况与各维度分析、市场竞争格局、一致性评价情况、集采中标情况、药企申报审批信息、最新动态与前景等,以及帮助企业抉择可否投入时提供数据参考!注册立享15天免费试用!








川公网安备51019002008863号
本网站未发布麻醉药品、精神药品、医疗用毒性药品、放射性药品、戒毒药品和医疗机构制剂的产品信息
收藏
登录后参与评论
暂无评论