
8月14日,据CDE官网显示,山东新时代药业提交的4类仿制药磷酸芦可替尼片上市申请已获受理。据药融云数据库显示,该品种在2023年全国院内市场的销售额达5.3亿元。

截图来源:CDE
磷酸芦可替尼片(捷恪卫,Jakavi/Jakafi)由Incyte和Novartis共同研发,2009年诺华与Incyte达成合作协议,获得芦可替尼美国以外市场的商业化权利。它是一款小分子JAK1/JAK2激酶(Janus相关激酶)抑制剂,2011年获FDA批准上市,主要用于治疗中危或高危的骨髓纤维化。于2017年8月在中国正式上市。2019年,该药物被纳入国家医保目录。
据药融云数据库显示,2023年芦可替尼在全球销售额达43亿美元。在国内市场,2023年磷酸芦可替尼片在全国院内的销售额达5.3亿元,同比增长达21.12%,市场前景可观。

截图来源:药融云全国医院销售数据库
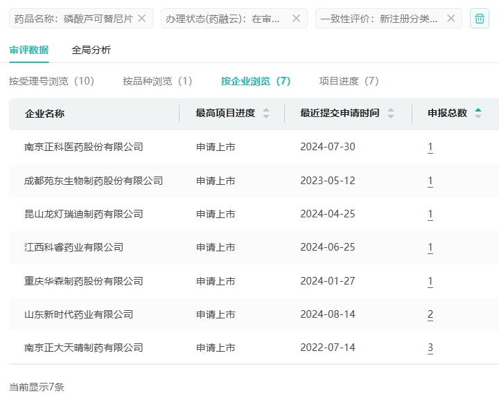
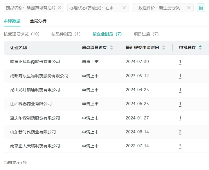
截至目前,磷酸芦可替尼片在国内共有南京正大天晴、山东新时代药业、南京正科医药、成都苑东生物制药、江西科睿药业、重庆华森制药等7家药企申报仿制上市,角逐首仿。若此次山东新时代药业能顺利获批,首仿药有望后来者居上。

截图来源:药融云中国药品审评数据库
原研芦可替尼在中国市场的专利将于2028年到期,国产药企争夺首仿名额的竞争日益激烈。随着专利到期的临近,国内药企正加紧研发和临床试验。
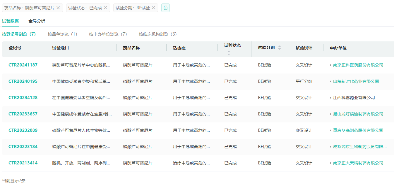
目前,磷酸芦可替尼片有江西科睿药业、南京正科医药、南京正大天晴制药等药企已完成BE试验。正大天晴在国内开展的磷酸芦可替尼片人体生物等效性试验已经完成,适应症为:治疗中危或高危的原发性骨髓纤维化、真性红细胞增多症继发的骨髓纤维化或原发性血小板增多症继发的骨髓纤维化,治疗疾病相关脾肿大或疾病相关症状。

截图来源:药融云中国临床试验数据库
2024年至今,山东新时代药业(含子公司)提交了磷酸芦可替尼片、依托泊苷注射液、普拉洛芬滴眼液、泊沙康唑注射液等18个品种的申请上市,均在审评审批中。
参考来源:
[1] CDE官网
[2] 药融云数据库
<END>
想要解锁更多药物研发信息吗?查询药融云数据库(vip.pharnexcloud.com/?zmt-mhwz)掌握药物基本信息、市场竞争格局、销售情况与各维度分析、药企研发进展、临床试验情况、申报审批情况、各国上市情况、最新市场动态、市场规模与前景等,以及帮助企业抉择可否投入时提供数据参考!注册立享15天免费试用!








川公网安备51019002008863号
本网站未发布麻醉药品、精神药品、医疗用毒性药品、放射性药品、戒毒药品和医疗机构制剂的产品信息
收藏
登录后参与评论
暂无评论