
据药融云数据库获悉:近期,LL-50 注射液获准开展临床。

截图来源:药融云中国药品审评数据库
注册分类:化学药品1类
申请人:四川大学华西医院、宜昌人福药业有限责任公司
审批结论:根据《中华人民共和国药品管理法》及有关规定,经审查,2023年5月16日受理的LL-50注射液临床试验申请符合药品注册的有关要求,同意本品开展用于外科手术麻醉和急性疼痛控制的临床试验。
LL-50注射液为宜昌人福和四川大学华西医院联合开发的新型长效局麻药,是一种钠离子通道阻滞剂,临床拟用于外科手术麻醉和急性疼痛控制。国内目前尚无同类型产品上市。
截至目前,宜昌人福在该项目上的累计研发投入约为人民币1.45亿元。根据我国药品注册相关的法律法规要求,宜昌人福在收到上述药物临床试验通知书后,将着手启动药物的临床研究相关工作,待完成临床研究后,将向国家药品监督管理局递交临床试验数据及相关资料,申报生产上市。
关于宜昌人福
宜昌人福药业公司是一家具有悠久历史的大型综合性制药企业,地处湖北省宜昌高新区(自贸片区)。公司现拥有员工4800余人,上市公司人福医药集团股份公司和国药集团药业股份公司为公司第一、二大股东。宜昌人福药业公司是国家麻醉药品定点研发生产企业、中国麻醉药品生产行业领军企业和亚洲最大的麻醉药品研发生产企业,麻醉产品占国内市场60%以上份额,产品远销其它国家和地区。
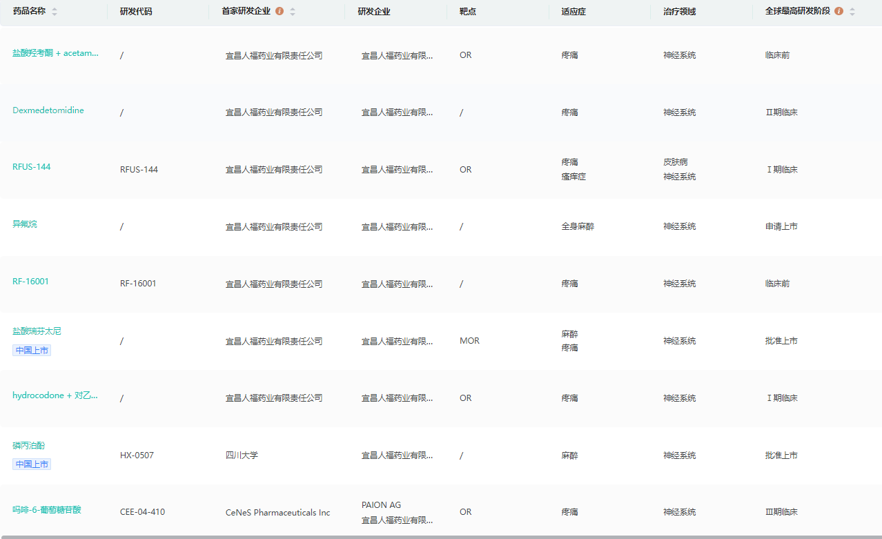
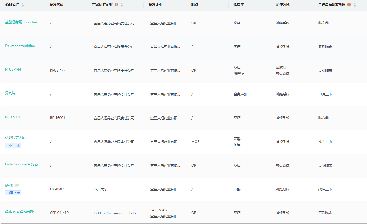
公司研发管线(部分)

截图来源:药融云全球药物研发数据库
参考资料:
1.公司官网
2.药融云数据库
<END>
要解锁更多企业药品研发信息吗?查询药融云数据库(vip.pharnexcloud.com/?zmt-mhwz)掌握药品各国上市情况、药品批文信息、销售情况与各维度分析、市场竞争格局、一致性评价情况、集采中标情况、药企申报审批信息、最新动态与前景等,以及帮助企业抉择可否投入时提供数据参考!注册立享15天免费试用!








川公网安备51019002008863号
本网站未发布麻醉药品、精神药品、医疗用毒性药品、放射性药品、戒毒药品和医疗机构制剂的产品信息
收藏
登录后参与评论
暂无评论