
日前,据CDE官网显示,两大明星药企提交的4类仿制药的上市申请获受理,分别是重庆药友制药递交的多巴丝肼片和四川科伦药业递交的罗替高汀贴片。目前,多巴丝肼片在国内由罗氏独家生产销售,而罗替高汀贴片是国内首款申报上市的仿制药,两品种在国内暂无药企获批,若两大明星药企顺利获批,有望获得首仿。

截图来源:CDE官网
超6亿大品种,重庆药友制药抢首仿
多巴丝肼片为帕金森治疗药物,原研来自罗氏,是左旋多巴和苄丝肼的复方制剂,在临床试验和治疗应用中已经证明这一比例具有最佳疗效,与单独大剂量左旋多巴疗效相当。
据药融云数据统计,多巴丝肼片在全国院内销售呈现稳步增长的趋势,2022年全国院内销售超6亿元,同比增长达12.19% 。

截图来源:药融云全国医院销售数据库
目前,国内获批上市的多巴丝肼剂型主要有2种,分别是片剂和胶囊剂。其中,片剂为其主要剂型。多巴丝肼片在国内由罗氏独家生产销售,该品种,重庆药友制药若顺利获批,有望获得首仿。
据药融云数据库统计,重庆药友制药(含子公司)累计已有42个品种(66规格)视同通过了一次性评价,其中盐酸克林霉素胶囊、吲达帕胺片、注射用赖氨匹林、盐酸文拉法辛片4个品种为首家过评。
除此次递交的多巴丝肼片,重庆药友制药(含子公司)还有39个品种(47个品规)已递交仿制上市申请,均在审评审批中。

截图来源:药融云中国药品审评数据库
24亿罗替高汀贴片,科伦药业率先出击
罗替高汀由原研企业UCB Pharma(优时比)研发,罗替高汀贴片于2006年获欧洲药物管理局(EMA)批准上市,随后2007年获美国FDA批准上市,是全球首个治疗帕金森症的透皮贴剂。2018年获NMPA批准上市,用于治疗早期和晚期特发性帕金森病。已公布的临床试验结果显示,罗替高汀贴片能够有效改善早期帕金森患者的运动症状,显著缩短中国进展期帕金森患者的关期时间,预防和减缓运动并发症的发生以及改善患者睡眠障碍。
据企业财报统计,罗替戈汀作为全球销量最大的帕金森病治疗药物,目前约占该类药物销量的22%。其中,原研罗替高汀贴片在2022年全球市场销售额为3.05亿欧元,约23.8亿元人民币。
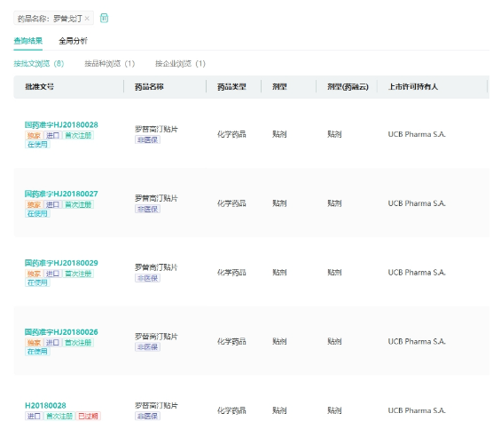
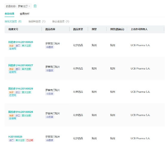
目前,国内仅有原研UCB Pharma S.A.的罗替高汀贴片上市销售,该品种国内市场前景较好。若四川科伦药业顺利获批,有望取得首仿。

截图来源:药融云中国药品批文数据库
2023年至今,科伦药业有25个品种(39个品规)过评,其中注射用头孢西丁钠葡萄糖注射液、注射用头孢他啶阿维巴坦钠/氯化钠注射液、泊沙康唑口服混悬液、乳酸钠林格注射液、注射用头孢呋辛钠/氯化钠注射液5个品种为首家过评。
<END>
要解锁更多企业药品研发信息吗?查询药融云数据库(vip.pharnexcloud.com/?zmt-mhwz)掌握药品各国上市情况、药品批文信息、销售情况与各维度分析、市场竞争格局、一致性评价情况、集采中标情况、药企申报审批信息、最新动态与前景等,以及帮助企业抉择可否投入时提供数据参考!注册立享15天免费试用!








川公网安备51019002008863号
本网站未发布麻醉药品、精神药品、医疗用毒性药品、放射性药品、戒毒药品和医疗机构制剂的产品信息
收藏
登录后参与评论
暂无评论