
10月29日,据NMPA官网最新公示 ,重庆药友制药和山西普德药业2家药企提交的3类仿制药注射用盐酸罗沙替丁醋酸酯同日获批。至此,该品种已形成14+1家企业的竞争格局,市场竞争愈发白热化。

截图来源:NMPA
盐酸罗沙替丁醋酸酯是一款组胺H2受体拮抗剂,主要是治疗与胃酸分泌相关疾病的药物,临床上用于上消化道出血(由消化性溃疡,急性应激性溃疡,出血性胃炎等引起)的低危患者。近年来,注射用盐酸罗沙替丁醋酸酯销售规模持续上涨,据摩熵医药数据库显示,注射用盐酸罗沙替丁醋酸酯在2023年全国院内市场的销售额逼近10亿元。

截图来源:摩熵医药(原药融云)全国医院销售数据库
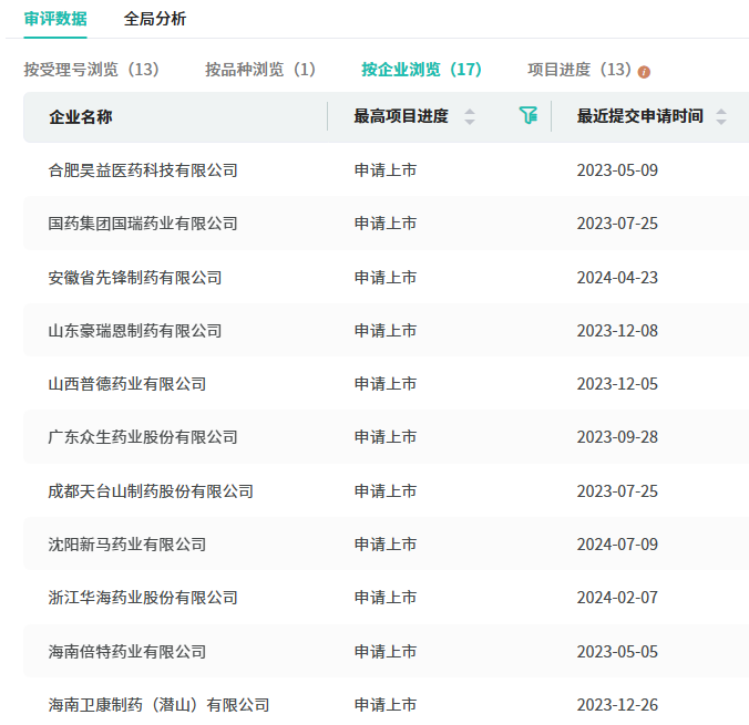
此前,国内有12家企业拥有注射用盐酸罗沙替丁醋酸酯生产批文。在仿制药布局方面,注射用盐酸罗沙替丁醋酸酯有国药集团国瑞药业、浙江华海药业、海南倍特药业等17家药企提交了仿制申请,均在审评审批中。

截图来源:摩熵医药(原药融云)中国药品审评数据库
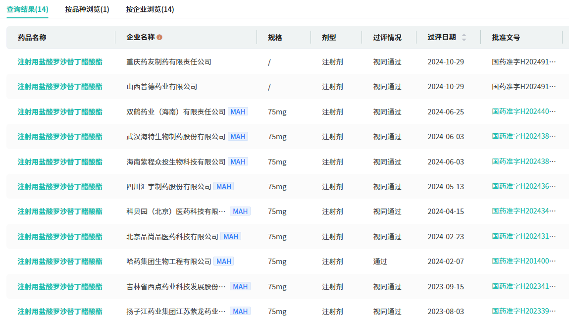
近期,国家发布了第十批集中采购报量目录,其中包含了注射用盐酸罗沙替丁醋酸酯。截至目前,注射用盐酸罗沙替丁醋酸酯已有包括重庆药友制药、瑞阳制药、扬子江药业集团江苏紫龙药业、四川汇宇制药、山西普德药业等在内的14家国内药企过评,形成了14+1的企业竞争格局,市场竞争态势日趋白热化。

截图来源:摩熵医药(原药融云)过评药品汇总数据库
2024年至今,重庆药友制药有阿立哌唑口崩片、利培酮口崩片、甲磺酸仑伐替尼胶囊、盐酸依匹斯汀胶囊、盐酸鲁拉西酮片等21个品种过评,其中盐酸依匹斯汀胶囊为首家过评品种。
参考来源:
[1] NMPA官网
[2] 摩熵医药(原药融云)数据库
<END>
想要解锁更多药物研发信息吗?查询摩熵医药(原药融云)数据库(vip.pharnexcloud.com/?zmt-mhwz)掌握药物基本信息、市场竞争格局、销售情况与各维度分析、药企研发进展、临床试验情况、申报审批情况、各国上市情况、最新市场动态、市场规模与前景等,以及帮助企业抉择可否投入时提供数据参考!注册立享15天免费试用!








浙公网安备33011002015279
本网站未发布麻醉药品、精神药品、医疗用毒性药品、放射性药品、戒毒药品和医疗机构制剂的产品信息
收藏
登录后参与评论
暂无评论