
11月5日,据CDE官网显示,重庆药友制药提交的4类仿制药吸入用乙酰半胱氨酸溶液上市申请获受理。据摩熵医药数据库显示,该品种在2023年全国院内市场的销售额超21亿元。

截图来源:CDE
吸入用乙酰半胱氨酸溶液为国家医保乙类产品。它是一种通过呼吸道途径给药的药物,其给药途径具有直达作用部位、起效迅速、使用方便、安全等特点,主要用于治疗浓稠黏液分泌物过多的呼吸道疾病,如急性支气管炎、慢性支气管炎及其病情恶化者、肺气肿、黏稠物阻塞症以及支气管扩张症。据摩熵医药数据库显示,吸入用乙酰半胱氨酸溶液在2023年全国院内市场的销售额超21亿元,同比增长达3.21%。

截图来源:摩熵医药(原药融云)全国医院销售数据库
目前,吸入用乙酰半胱氨酸溶液在国内已有29家企业拥有生产批文,其中仁合益康集团、四川普锐特药业、扬子江药业集团江苏紫龙药业、江苏康缘药业等23家企业已过评。此外,重庆药友制药目前暂无吸入剂品种获批过评,吸入用乙酰半胱氨酸溶液是重庆药友制药首个布局的吸入剂产品。

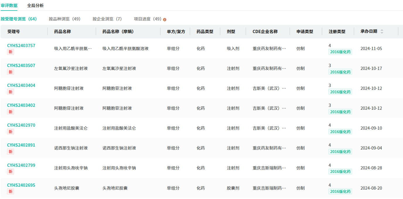
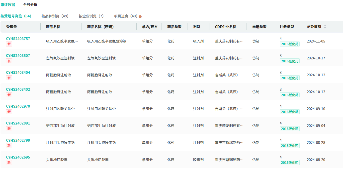
截图来源:摩熵医药(原药融云)中国药品审评数据库
据摩熵医药数据库显示,目前,重庆药友制药(含子公司)提交了布瑞哌唑片、利培酮片、厄贝沙坦片、奥氮平片、注射用卡非佐米、注射用美罗培南等超40款品种的仿制申请,均在审评审批中。

截图来源:摩熵医药(原药融云)中国药品审评数据库
2024年至今,重庆药友制药(含子公司)已有阿立哌唑口崩片、利培酮口崩片、甲磺酸仑伐替尼胶囊等21个品种获批并过评,其中盐酸依匹斯汀胶囊为首家过评品种。
参考来源:
[1] CDE官网
[2] 摩熵医药(原药融云)数据库
想要解锁更多药物研发信息吗?查询摩熵医药(原药融云)数据库(vip.pharnexcloud.com/?zmt-mhwz)掌握药物基本信息、市场竞争格局、销售情况与各维度分析、药企研发进展、临床试验情况、申报审批情况、各国上市情况、最新市场动态、市场规模与前景等,以及帮助企业抉择可否投入时提供数据参考!注册立享15天免费试用!








川公网安备51019002008863号
本网站未发布麻醉药品、精神药品、医疗用毒性药品、放射性药品、戒毒药品和医疗机构制剂的产品信息
收藏
登录后参与评论
暂无评论