
近日,据CDE官网显示,扬子江药业递交的4类仿制化药西甲硅油乳剂的上市申请获受理。该品种目前国内仅4家药企(含1家原研企业)获批生产销售,其中2家过评。

截图来源:CDE官网
西甲硅油(Simethicone)由德国柏林化学股份有限公司(Berlin-ChemieAG)研制开发的新型口服纳米乳剂,是临床常用的祛泡剂,主要用于治疗由胃肠道中聚集了过多气体而引起的不适症状,可用于腹部影像学检查的辅助用药。因其安全性高,可作为婴幼儿腹胀消泡。
高壁垒仿制药大涨64%,扬子江药业最新入场!
我国消化内镜市场迅速发展,2012年全国普查数据显示,消化内镜诊疗例数居世界首位。随着消化道检查的重视程度提升和最新指南的发布,祛泡剂在消化内镜检查中的应用将更加广泛,相关产品市场空间巨大。
据药融云数据统计,目前国内西甲硅油获批的相关品种众多,有乳剂、口服乳剂等多种剂型。2021年西甲硅油相关品种院内销售额近8亿,其中西甲硅油乳剂近1.5亿元,同比增长了64%。2022年院内销售1.8亿元,同比增长27%,作为指南中唯一推荐的祛泡剂,随着纳入医保等利好因素影响,预计未来西甲硅油在胃肠镜检查领域有广阔市场前景。

截图来源:药融云全国医院销售数据库
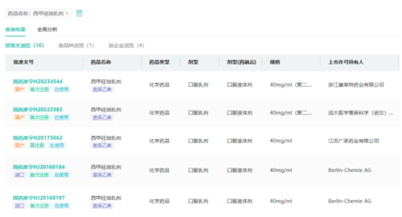
由于西甲硅油的消泡特性,普通乳化剂无法包裹,技术难度非常大,目前国内西甲硅油乳剂有浙江康莱特药业、远大生命科学(武汉)有限公司、江苏广承药业和原研Berlin-Chemie AG拥有批文。

截图来源:药融云中国药品批文数据库
作为高壁垒口服乳剂品种,西甲硅油乳剂受众人群广(婴儿至成人),安全有效、市场潜力可期。除了此次申报上市的扬子江药业外,江苏万高药业、浙江康莱特药业、湖南九典制药、北京北陆药业等12家企业也递交了4类仿制上市申请,均在审评审批中。
37个品种布局,瞄准6大首仿,27大重磅品种获批
目前,扬子江药业还提交了注射用卡非佐米、泊马度胺胶囊、依托咪酯乳状注射液等37个品种(除原料药)的仿制申请,其中有比拉斯汀片、醋酸钠林格葡萄糖注射液、丁酸氯维地平乳状注射液、复方电解质注射液(III)、甲磺酸沙芬酰胺片、注射用卡非佐米6大品种国内暂无企业获批,若顺利获批,有望斩获首仿。

截图来源:药融云中国药品审评数据库
2023年扬子江药业有27大品种获批并通过一致性评价,其中斩获盐酸奈康唑乳膏、瑞戈非尼片、氨氯地平贝那普利胶囊3大品种首仿。
<END>
要解锁更多企业药品研发信息吗?查询药融云数据库(vip.pharnexcloud.com/?zmt-mhwz)掌握药品各国上市情况、药品批文信息、销售情况与各维度分析、市场竞争格局、一致性评价情况、集采中标情况、药企申报审批信息、最新动态与前景等,以及帮助企业抉择可否投入时提供数据参考!注册立享15天免费试用!








川公网安备51019002008863号
本网站未发布麻醉药品、精神药品、医疗用毒性药品、放射性药品、戒毒药品和医疗机构制剂的产品信息
收藏
登录后参与评论
暂无评论