
近日,据NMPA官网公示,成都苑东生物制药递交的3类仿制化药盐酸纳布啡注射液的上市申请获批并通过一致性评价。据药融云数据统计,目前该品种在国内仅4家企业获批。

截图来源:NMPA
盐酸纳布啡属于κ受体激动剂/μ受体部分拮抗型镇痛药,临床上可用于舒缓中至重度疼痛,也能作为联合麻醉时的辅助用药。此前,国内纳布啡由人福药业独家生产销售,且已于2021年3月通过一致性评价。自2017年成功纳入国家医保目录以来,纳布啡的使用量呈现出迅猛的增长态势。据药融云数据统计显示,盐酸纳布啡注射液在2023年全国医院内的销售额突破10亿元大关,同比增长达6.69%。

截图来源:药融云全国医院销售数据库
据药融云数据统计,截至目前,国内仅有扬子江、人福药业、国药集团以及苑东生物这四家企业获得了盐酸纳布啡注射液的批准,并成功通过了一致性评价。苑东生物作为第四家获批的企业,再次证明了其在神经系统药物研发领域的卓越实力和市场竞争力。这一突破不仅为苑东生物赢得了市场份额,也为神经系统疾病患者提供了更多优质的治疗选择。

截图来源:药融云过评药品汇总数据库
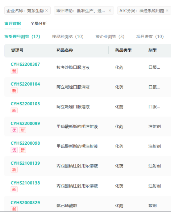
近年来,苑东生物在神经系统药物领域展现出了显著的研发实力和市场竞争力。该公司积极投入研发,致力于不断创新和优化神经系统用药,以满足日益增长的医疗需求。目前,苑东生物已经成功获批并过评了枸橼酸咖啡因注射液、丙戊酸钠注射液、奥氮平片、甲硫酸新斯的明注射液等10款神经系统用药。

截图来源:药融云中国药品审评数据库
此外,苑东生物还提交了贝前列素钠片、达可替尼片等多款仿制药的上市申请,目前正在审评审批中。
<END>
要解锁更多企业药品研发信息吗?查询药融云数据库(vip.pharnexcloud.com/?zmt-mhwz)掌握药品各国上市情况、药品批文信息、销售情况与各维度分析、市场竞争格局、一致性评价情况、集采中标情况、药企申报审批信息、最新动态与前景等,以及帮助企业抉择可否投入时提供数据参考!注册立享15天免费试用!








川公网安备51019002008863号
本网站未发布麻醉药品、精神药品、医疗用毒性药品、放射性药品、戒毒药品和医疗机构制剂的产品信息
收藏
登录后参与评论
暂无评论