
6月20日,据NMPA官网公示,安徽省先锋制药的注射用头孢唑林钠通过一致性评价。据药融云数据库显示,注射用头孢唑林钠在2023年全国院内的销售额近14亿元。

截图来源:NMPA官网
头孢唑林钠由日本藤泽药品株式会社率先研发,为第一代头孢菌素类抗生素,抗菌谱广。适用于治疗敏感细菌所致的呼吸道感染、尿路感染、皮肤及软组织感染、骨和关节感染、败血症、感染性心内膜炎、肝胆系统感染、生殖系统感染和围手术期预防感染等。据药融云数据库显示,注射用头孢唑林钠在2023年全国院内的销售额近14亿元,同比增长达6.38%。

截图来源:药融云全国医院销售数据库
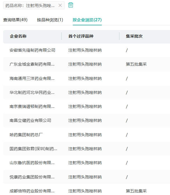
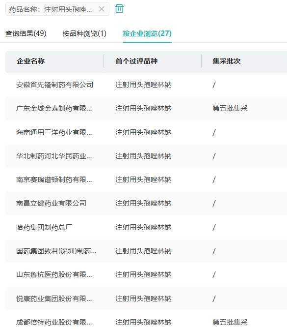
目前,注射用头孢唑林钠有安徽省先锋制药、广东金城金素制药、华北制药等27家药企过评,其中海南广升誉制药是首家过评的药企。

截图来源:药融云过评药品汇总数据库
注射用头孢唑林钠在国内市场竞争激烈,国内有超70家企业拥有生产批文,包括安徽省先锋制药、齐鲁安替制药、成都倍特药业、湖南科伦制药等。

截图来源:药融云中国药品审评数据库
在仿制药布局方面,安徽省先锋制药提交了奥利司他胶囊、注射用头孢唑肟钠、米诺地尔搽剂、马来酸氟伏沙明片、左氧氟沙星注射液等16个品种的仿制申请,均在审评审批中。
2024年至今,安徽省先锋制药已有注射用头孢呋辛钠、注射用头孢唑林钠、注射用头孢曲松钠等7个品种过评。
参考来源:
[1] NMPA官网
[2] 药融云数据库
<END>
想要解锁更多药物研发信息吗?查询药融云数据库(vip.pharnexcloud.com/?zmt-mhwz)掌握药物基本信息、市场竞争格局、销售情况与各维度分析、药企研发进展、临床试验情况、申报审批情况、各国上市情况、最新市场动态、市场规模与前景等,以及帮助企业抉择可否投入时提供数据参考!注册立享15天免费试用!








川公网安备51019002008863号
本网站未发布麻醉药品、精神药品、医疗用毒性药品、放射性药品、戒毒药品和医疗机构制剂的产品信息
收藏
登录后参与评论
暂无评论