
8月27日,据NMPA公示,石家庄四药提交的重酒石酸去甲肾上腺素注射液、间苯三酚注射液两大品种同日获批并视同通过一致性评价。据药融云数据库显示,重酒石酸去甲肾上腺素注射液在2023年全国院内市场的销售额超15亿元。

截图来源:NMPA官网
重酒石酸去甲肾上腺素注射液属于临床必需易短缺药,也是国家医保甲类品种和基药品种。主要用于治疗急性心肌梗塞、体外循环、嗜铬细胞瘤切除等引起的低血压,对血容量不足所致的休克或低血压,也可用于治疗椎管内阻滞时的低血压及心跳骤停复苏后血压维持。据药融云数据库显示,重酒石酸去甲肾上腺素注射液在2023年全国院内市场的销售额超15亿元。

截图来源:药融云全国医院销售数据库
此前,重酒石酸去甲肾上腺素注射液有海南倍特药业、华润双鹤药业、山东新华制药等12家药企拥有生产批文;有32家企业报产在审,包括石家庄四药、倍特药业、天方药业、福安药业等。
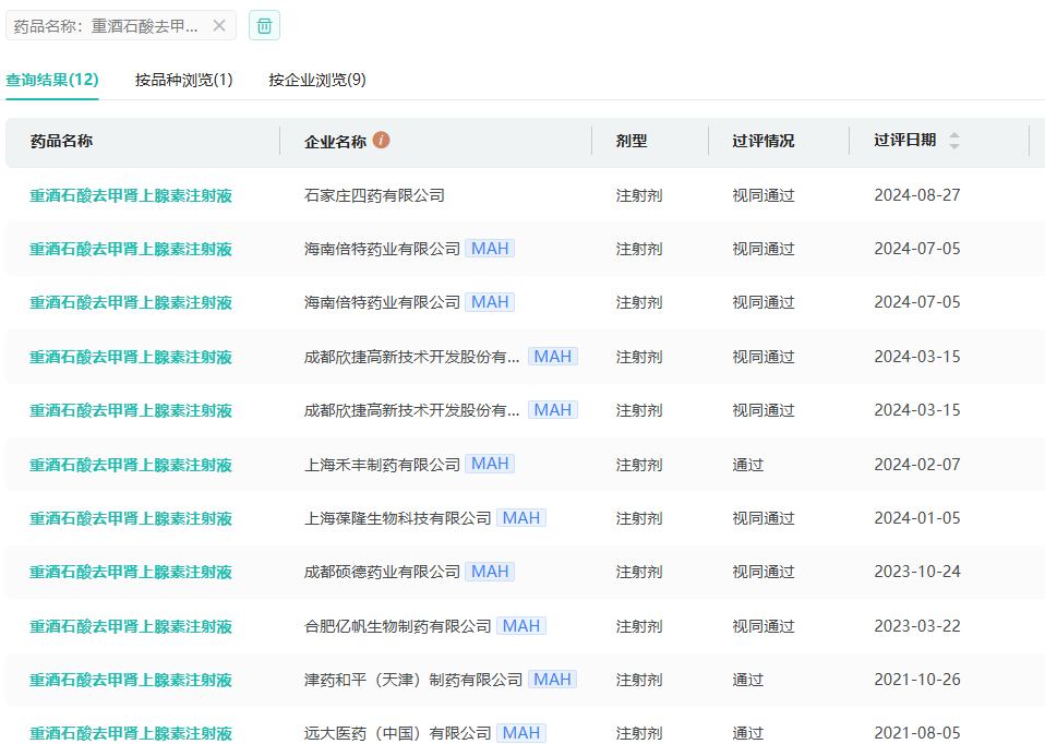
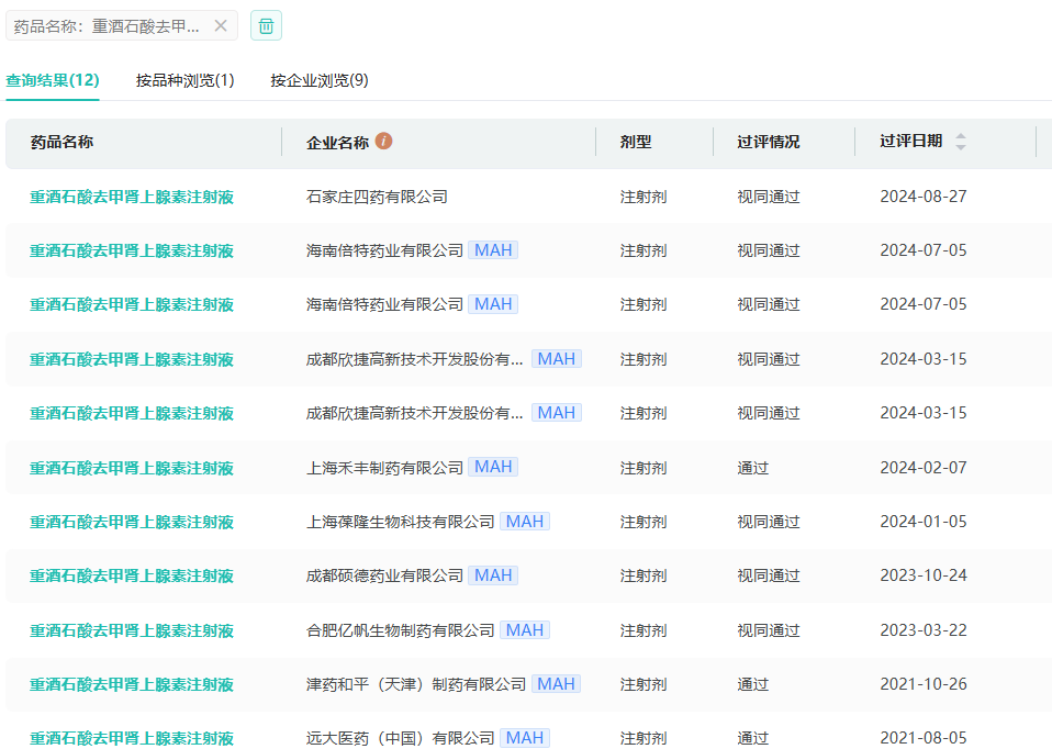
目前,重酒石酸去甲肾上腺素注射液有远大医药(首家)、天津金耀药、合肥亿帆生物医药、海南倍特药业、石家庄四药等9家药企过评。

截图来源:药融云过评药品汇总数据库
间苯三酚注射液用于治疗消化道和胆道功能障碍引起的急性痉挛性疼痛;治疗急性痉挛性尿道、膀胱、肾绞痛;治疗妇科痉挛性疼痛。据药融云数据库显示,该品种在2023年全国院内市场的销售额超8亿元,同比增长达11.08%。

截图来源:药融云全国医院销售数据库
此前,间苯三酚注射液有27家企业拥有生产批文;在仿制药布局方面,湖南科伦制药、山东新时代药业等38家报产在审。2024年至今,石家庄四药有盐酸利多卡因注射液、硫酸镁注射液、丙泊酚中/长链脂肪乳注射液等36个品种过评,其中利奈唑胺干混悬剂、卡左双多巴缓释片、恩他卡朋双多巴片(Ⅱ)、甲磺酸倍他司汀片4个品种为首家过评。
参考来源:
[1] NMPA官网
[2] 药融云数据库
<END>
想要解锁更多药物研发信息吗?查询药融云数据库(vip.pharnexcloud.com/?zmt-mhwz)掌握药物基本信息、市场竞争格局、销售情况与各维度分析、药企研发进展、临床试验情况、申报审批情况、各国上市情况、最新市场动态、市场规模与前景等,以及帮助企业抉择可否投入时提供数据参考!注册立享15天免费试用!








川公网安备51019002008863号
本网站未发布麻醉药品、精神药品、医疗用毒性药品、放射性药品、戒毒药品和医疗机构制剂的产品信息
收藏
登录后参与评论
暂无评论