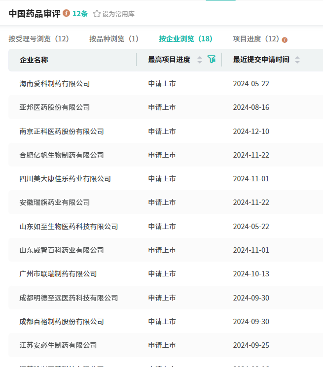
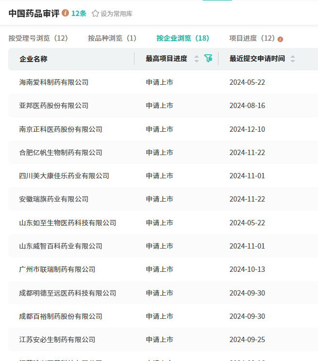
在仿制药布局方面,盐酸纳美芬注射液有江苏安必生制药、成都百裕制药、山东如至生物医药18家药企提交了3类新注册仿制申请,均在审评审批中。

截图来源:摩熵医药(原药融云)中国药品审评数据库
目前,海思科有31个品种过评,其中首家过评有15款。2024年至今有盐酸纳美芬注射液、复方氨基酸注射液(18AA-Ⅶ)、盐酸帕洛诺司琼注射液、培哚普利吲达帕胺片15款品种过评,其中盐酸纳美芬注射液是今年公司首个首家过评的品种。
6款1类新药猛攻百亿市场,16款1类新药持续在研
海思科以“创新”为基石,持续加大研发投入,着力推进创新药研发进程。截至目前,公司已成功斩获25款1类新药的临床试验批文,其中有6款神经系统的1类新药,涉及HSK-21542注射液、苯磺酸克利加巴林胶囊、环泊酚乳状注射液、HSK-21542片、HSK-36357胶囊及环泊酚。据摩熵医药数据库最新数据显示,2023年全国院内神经系统用药市场销售额已超过800亿元,彰显了该领域巨大的市场潜力与需求。

截图来源:摩熵医药(原药融云)全国医院销售数据库
此外,海思科尚有16款1类新药正稳步推进于临床及临床以上的研究阶段。具体而言,这16款新药中,有1款已提交临床申请,2款正申请上市,8款正处于I期临床试验阶段,4款进入II期临床,另有1款已迈入III期临床的关键阶段。这些创新药物广泛涵盖了麻醉镇痛、肿瘤治疗、呼吸系统疾病、代谢性疾病等多个重要医疗领域,展现了海思科在药物研发领域的广泛布局与深厚实力。

海思科凭借出色的研发实力和严格的质量控制,在仿制药和创新药领域均取得了显著成就。未来,随着更多新药的上市和研发推进,海思科将在医药市场中扮演更加重要的角色,为患者带来更多的健康福音。
想要解锁更多药物研发信息吗?查询摩熵医药(原药融云)数据库(vip.pharnexcloud.com/?zmt-mhwz)掌握药物基本信息、市场竞争格局、销售情况与各维度分析、药企研发进展、临床试验情况、申报审批情况、各国上市情况、最新市场动态、市场规模与前景等,以及帮助企业抉择可否投入时提供数据参考!注册立享15天免费试用!

收藏
登录后参与评论
暂无评论