
据药融云统计,刚刚过去的1月中,共有10款1类新药申报上市并获CDE受理,涉及恒瑞医药、信达生物、正大天晴、贝达药业、海思科等多家知名大药企。其中6款均为抗肿瘤和免疫机能调解药物,靶点覆盖EGFR、PD-L1、HDAC和PI3Kδ。
1月的1类新药申报上市盘点(*为纳入优先审评的受理号)

数据来源:药融云中国药品审评数据库
一、肺癌治疗:EGFR药物神仙打架
从靶点来看,本月1类新药申报上市的抗肿瘤药物靶点覆盖EGFR、PD-L1、HDAC和PI3Kδ。其中,EGFR药物最多,共有3款,包括江苏晨泰医药的盐酸佐利替尼片、迪哲医药/上海合全医药的舒沃替尼片和贝达药业的甲磺酸贝福替尼胶囊,三款药物均用于治疗肺癌,同时各有特色。
盐酸佐利替尼片是是全球唯一针对EGFR基因敏感突变、强效的非血脑屏障外排转运蛋白P-gp和BCRP底物的新一代EGFR-TKI,对于EGFR基因19号外显子缺失或L858R的敏感突变,具有完全的血脑屏障穿透能力,可以产生并维持脑组织和脑脊液中的有效药物暴露。本次作为1类新药申报上市的适应症为用于治疗伴中枢神经系统(CNS)转移的晚期EGFR敏感突变非小细胞肺癌患者。
舒沃替尼片是迪哲原研的一款口服、针对多种EGFR突变亚型的高选择性酪氨酸激酶抑制剂(TKI),是迄今为止肺癌领域首个且唯一获中美双“突破性疗法认定”的国创新药,其首选适应症为治疗EGFR 20号外显子插入突变非小细胞肺癌,正在中国、美国、欧洲、韩国、澳大利亚等国家和地区开展注册临床试验。
本月,该1类新药申报上市申请还被纳入优先审评程序,用于既往接受过铂类化疗、携带表皮生长因子受体20号外显子插入(EGFR exon20ins)突变的局部晚期或转移性非小细胞肺癌(NSCLC)的成人患者。
甲磺酸贝福替尼胶囊(赛美纳®,BPI-D0316)是贝达药业针对T790M突变的第三代EGFR-TKI,在NSCLC一线人群中刷新了第三代EGFR-TKI的最高PFS记录。2018年12月,贝达药业与益方生物达成合作,共同拥有贝福替尼在中国大陆、香港和台湾地区的知识产权,并独家拥有在合作区域研发、制造和商业化贝福替尼的权利。
2021年3月,该产品用于既往使用EGFR-TKI耐药后产生T790M突变的局部晚期或转移性NSCLC治疗的上市申请获药监局受理,目前正在审评中。本次贝达药业以1类新药申报上市,拟用于具有表皮生长因子受体(EGFR)外显子19缺失或外显子21(L858R)置换突变的局部晚期或转移性非小细胞肺癌(NSCLC)成人患者的一线治疗。
二、其他抗肿瘤药物:来自信达、正大天晴、亿腾景昂药业
帕萨利司片(parsaclisib)是信达生物自Incyte公司引进的一款强效、高选择性、PI3Kδ抑制剂,此前已被CDE纳入优先审评和突破性治疗品种,拟用于既往接受过至少两种系统性治疗的复发或难治性滤泡性淋巴瘤成人患者。公开资料显示,作为一款针对PI3Kδ的新型口服抑制剂,parsaclisib对于抑制PI3Kδ在恶性B细胞淋巴瘤的生长、存活中起到重要作用。
本次以1类新药申报上市递交上市申请,是用于治疗既往接受过至少两种系统性治疗的复发或难治性滤泡性淋巴瘤(FL)的成人患者。
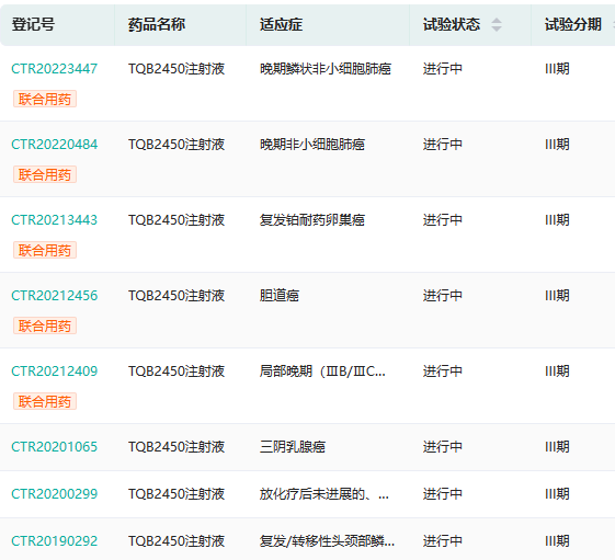
正大天晴的TQB2450注射液是一种全新序列的创新抗PD-L1全人源化单克隆抗体,该药已在中国获批开展多项临床试验,其中针对肺癌、卵巢癌、胆道癌、乳腺癌等癌种的研究已至临床III期阶段。2022年4月,TQB2450注射液被CDE纳入突破性治疗品种,适应症为:既往接受过一、二线化疗方案治疗失败或不能耐受的非微卫星高度不稳定(非MSI-H)或非DNA错配修复缺陷(非dMMR)的复发性或转移性子宫内膜癌。
TQB2450注射液的III期临床试验概况

截图来源:药融云中国临床试验数据库
有业内人士预测,TQB2450注射液获批之后定价可能大于6万元/年。这或将成为继派安普利单抗之后,正大天晴又一业绩增长新支柱。
恩替诺特片是一种新型、口服的选择性组蛋白去乙酰化酶(HDAC)抑制剂,也是亿腾景昂创立以来首款提交1类新药申报上市的创新药。恩替诺特可通过选择性抑制I类HDAC,特别是针对有代表性的HDAC 1、2、3亚型,从而改善和调节组蛋白的超乙酰化并促进特定基因的转录活化,最终抑制细胞增殖、加快终末分化和/或诱导凋亡。
三、中药镇痛药与糖尿病药
诺丽通颗粒是本月1类新药申报上市的唯一一款中药,来自方盛制药。据悉,是天津中医学院第一附属医院闫莉主任医师在中国近代著名中医大家张锡纯先生的代表性方剂“升陷汤”的基础上加减而成,能够直接升提气血至头部,改善脑供血不足情况,迅速缓解头痛、头晕症状,多年应用于临床治疗反复发作性紧张型头痛,疗效显著。
瑞格列汀二甲双胍片(HRX0701)是恒瑞医药开发的二肽基肽酶Ⅳ(DPP-4)抑制剂磷酸瑞格列汀与盐酸二甲双胍固定剂量复方制剂,通过两种不同作用机制达到更好的降血糖作用,同时提高患者用药的依从性。
HSK7653片是一款治疗2型糖尿病的双周制剂,此次的1类新药申报上市申请是由具有其独立知识产权的海思科递交,可通过抑制DPP-4从而提高内源性胰高血糖素样肽-1(GLP-1)和葡萄糖依赖性促胰岛素多肽(GIP)的血浆浓度,以葡萄糖浓度依赖方式促进胰岛素的分泌,最终改善血糖控制。
想要解锁更多药物研发信息吗?查询药融云数据库(vip.pharnexcloud.com/?zmt-mhwz)掌握药物基本信息、市场竞争格局、销售情况与各维度分析、药企研发进展、申报审批情况、最新市场动态、市场规模与前景等,以及帮助企业抉择可否投入时提供数据参考!注册立享15天免费试用!

—END—







川公网安备51019002008863号
本网站未发布麻醉药品、精神药品、医疗用毒性药品、放射性药品、戒毒药品和医疗机构制剂的产品信息
收藏
登录后参与评论
暂无评论