
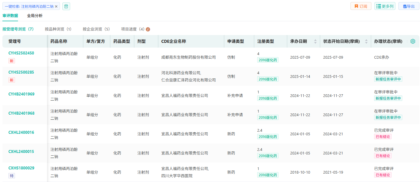
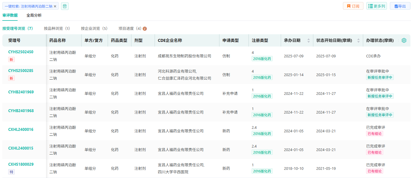
7月9日,CDE官网显示,成都苑东生物制药股份有限公司提交的4类仿制化药注射用磷丙泊酚二钠上市申请已获受理,若顺利获批,有望拿下该品种的首仿资格。

截图来源:CDE官网
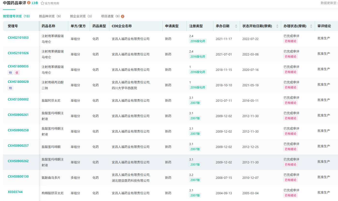
注射用磷丙泊酚二钠(Fospropofol)是一种新型短效静脉全身麻醉药,是中国首款新型水溶性丙泊酚前体药物,也是目前国外研究的最先进全身静脉麻醉药之一。该药由四川大学华西医院联合宜昌人福药业自主研发,属国家“重大新药创制”专项成果,是1.1类新药,于2021年获批正式上市。

截图来源:摩熵医药全球药物研发数据库
其用于成人全身麻醉的诱导,对高脂血症患者具有优势。临床研究表明,磷丙泊酚二钠在全身麻醉诱导、重症监护室(ICU)镇静以及舒适化医疗中具有广泛的应用潜力,尤其在老年患者中显示出循环更稳定的优势。
据摩熵医药销售数据显示,注射用磷丙泊酚二钠在全国医院销售额约为948万元,该产品2023-2024年的销售额增长率分别达591%和641%,市场潜力在持续释放。











川公网安备51019002008863号
本网站未发布麻醉药品、精神药品、医疗用毒性药品、放射性药品、戒毒药品和医疗机构制剂的产品信息
收藏
登录后参与评论
暂无评论