
日前,据NMPA官网公示,湖南科伦制药提交的注射用氨苄西林钠化药通过一致性评价。2023年至今,该公司有24个品种过评,其中注射用氨苄西林钠是最新过评品种。此外,今日湖南科伦制药递交的4类仿制化药他克莫司缓释胶囊(受理号:CYHS2303198/CYHS2303199)上市申请已获CDE受理。

截图来源:NMPA官网
大涨74%抗感染药,院内峰值超5亿
注射用氨苄西林钠为抗感染类药物,适用于敏感菌所致的呼吸道感染、胃肠道感染、尿路感染、软组织感染、心内膜炎、脑膜炎、败血症等。据药融云数据统计,注射用氨苄西林钠在2022年全国院内销售超5亿元,同比增长74% 。

截图来源:药融云全国医院销售数据库
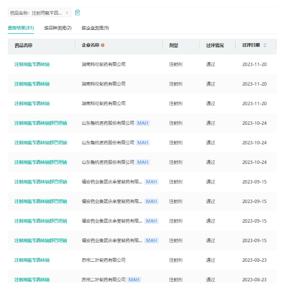
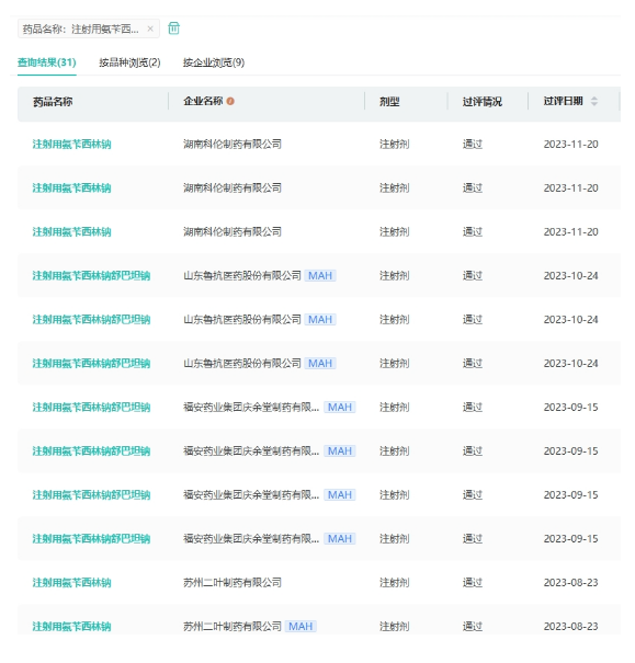
除湖南科伦制药,目前国内已有成都倍特药业、四川制药制剂、湖南天圣药业等58家药企获得生产批文,过评的有山东鲁抗医药、成都倍特药业、苏州二叶制药等8家药企,其中湖南科伦制药是最新过评的企业。

截图来源:药融云过评药品汇总
他克莫司院内峰值达39亿元,胶囊剂型占比超三成
他克莫司由安斯泰来研发,于1993年在日本获批上市,1994年在美国获批上市,商品名为“Prograf”;1998年在我国获批上市,商品名为“普乐可复”。他克莫司缓释胶囊适用于预防肾脏移植术后的移植物排斥反应,预防肝脏移植术后维持期的移植物排斥反应,治疗肾脏或肝脏移植术后应用其他免疫抑制药物无法控制的移植物排斥反应。据药融云数据统计,他克莫司在2022年全国院内销售达39亿元,同比增长4.28% 。

截图来源:药融云全国医院销售数据库
在国内市场,上市的他克莫司包括胶囊、滴眼液、颗粒、注射剂、软膏等多种剂型,胶囊剂型包括他克莫司胶囊和他克莫司缓释胶囊。在全国院内销售免疫抑制剂产品TOP10排名中,他克莫司胶囊居榜首,为主要销售品种,市场份额占比超3成。

截图来源:药融云全国院内销售-全局分析
目前,除原研外,国内还有成都盛迪医药获得了他克莫司缓释胶囊的生产批文,同时通过一致性评价。若湖南科伦制药顺利获批,有望获得国产第2家!此外,除湖南科伦制药,该品种还有辰欣药业、海南合瑞制药等5家企业提交了仿制申请。

截图来源:药融云中国药品审评数据库
2023年至今,湖南科伦制药有24个品种过评,除他克莫司缓释胶囊,还有27个品种提交了仿制申请,均在审评审批中。
<END>
要解锁更多企业药品研发信息吗?查询药融云数据库(vip.pharnexcloud.com/?zmt-mhwz)掌握药品各国上市情况、药品批文信息、销售情况与各维度分析、市场竞争格局、一致性评价情况、集采中标情况、药企申报审批信息、最新动态与前景等,以及帮助企业抉择可否投入时提供数据参考!注册立享15天免费试用!








川公网安备51019002008863号
本网站未发布麻醉药品、精神药品、医疗用毒性药品、放射性药品、戒毒药品和医疗机构制剂的产品信息
收藏
登录后参与评论
暂无评论