
9月9日,据NMPA公示,扬子江药业集团广州海瑞药业的复方聚乙二醇电解质散(III)获批上市。据药融云数据库显示,复方聚乙二醇电解质相关制剂在2023年全国院内市场的销售总额超10亿元。

截图来源:NMPA官网
复方聚乙二醇电解质散用于大肠内窥镜检查和大肠手术前处置时的肠道内容物的清除。据药融云数据库显示,复方聚乙二醇电解质相关制剂在2023年全国院内市场的销售总额超10亿元。

截图来源:药融云全国医院销售数据库
在仿制药布局方面,复方聚乙二醇电解质散(III)目前有南京厚生药业、南京海纳制药、重庆赛诺生物药业等4家药企提交了4类仿制药的申请,均在审评审批中。

截图来源:药融云中国药品审评数据库
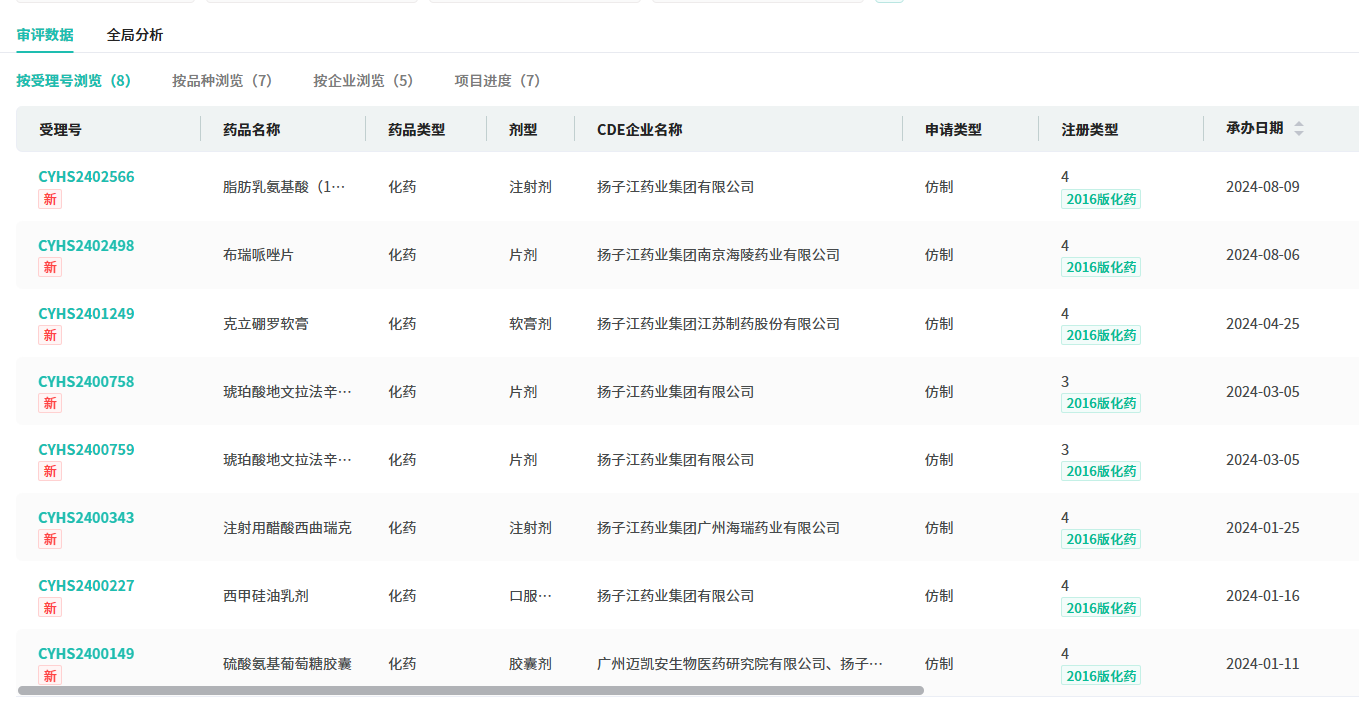
2024年至今,扬子江药业(含子公司)提交了西甲硅油乳剂、琥珀酸地文拉法辛缓释片、克立硼罗软膏等7个品种的仿制申请。

截图来源:药融云中国药品审评数据库
目前,复方聚乙二醇电解质散已上市的相关制剂包括了复方聚乙二醇电解质散(Ⅰ)、复方聚乙二醇电解质散(Ⅱ)、复方聚乙二醇电解质散(Ⅲ)、复方聚乙二醇电解质散(Ⅳ)等多个产品。2024年至今,扬子江药业(含子公司)已有11款品种获批并过评。
参考来源:
[1] NMPA官网
[2] 药融云数据库
<END>
想要解锁更多药物研发信息吗?查询药融云数据库(vip.pharnexcloud.com/?zmt-mhwz)掌握药物基本信息、市场竞争格局、销售情况与各维度分析、药企研发进展、临床试验情况、申报审批情况、各国上市情况、最新市场动态、市场规模与前景等,以及帮助企业抉择可否投入时提供数据参考!注册立享15天免费试用!








川公网安备51019002008863号
本网站未发布麻醉药品、精神药品、医疗用毒性药品、放射性药品、戒毒药品和医疗机构制剂的产品信息
收藏
登录后参与评论
暂无评论