该产品在国内市场以传统片剂为主要剂型,销售渠道集中在B2C端,其中网上药店占比突出。这一格局既显示出终端零售与线上渠道对市场增长的主导作用,也体现了患者自我购买与直接获药需求的持续升温。

截图来源:摩熵医药药品批文数据库
勃起功能障碍(ED)是男性生殖系统发病率最高的疾病之一,其发病率随人口老龄化而激增,到2025年可能有3.22亿男性罹患ED。近年来,中国市场抗ED化药销售额逐年攀升,已接近百亿规模,预计2025年将达109.8亿元。

截图来源:2024年中国抗ED药物行业白皮书
目前在抗ED药物中,PDE5抑制剂应用最为广泛。据同花顺财经报道,中国PDE5抑制剂市场规模从2018年的55亿元增至2023年的93亿元,年复合增长率达11.2%;预计2035年将达152亿元,增长潜力显著。其中,西地那非和他达拉非在网上药店销售中分别位居第一、第二位。

截图来源:摩熵医药网上药店销售数据库
与同类药物相比,伐地那非具有起效时间短、剂量利用率高及不良反应相对较轻等优势,且对生育力无显著影响。
盐酸伐地那非口崩片是伐地那非的创新剂型,放入口腔后迅速崩解,药物成分无需饮水即可进入消化道吸收。相较于传统片剂,起效时间更快,服用更便捷。
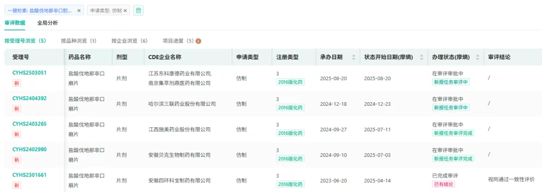
纵观仿制竞争情况,目前国内仅有四环科宝制药的盐酸伐地那非口崩片获批上市,为该剂型首仿。

截图来源:摩熵医药药品批文数据库
除了前文所述的东科康德药业,还有江西施美生物、贝克生物、哈尔滨三联药业等3家企业的上市申请在审评审批中。

截图来源:摩熵医药中国药品审评数据库
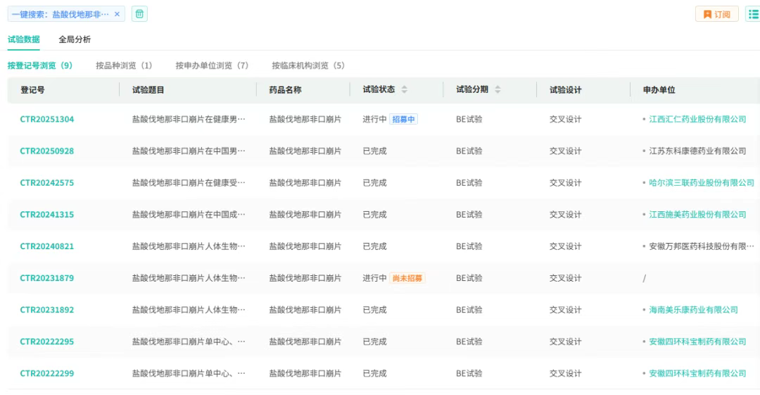
另有江西汇仁药业、安徽万邦医药、海南美乐康药业已进行/完成了相关BE试验。

截图来源:摩熵医药中国临床试验数据库
盐酸伐地那非口崩片作为高端剂型,在市场竞争中具备差异化优势,尤其契合重视用药体验与时效性的患者需求。未来,随着药物研发的持续推进、市场渠道的拓展及患者治疗需求的增长,ED药物市场将涌现更多发展机遇,而国产药物的崛起也将进一步重塑市场竞争格局。
想要解锁更多药物研发信息吗?查询摩熵医药(原药融云)数据库(vip.pharnexcloud.com/?zmt-mhwz)掌握药物基本信息、市场竞争格局、销售情况与各维度分析、药企研发进展、临床试验情况、申报审批情况、各国上市情况、最新市场动态、市场规模与前景等,以及帮助企业抉择可否投入时提供数据参考!注册立享15天免费试用!

收藏
登录后参与评论
暂无评论