基于权威可靠可溯源的全球医药数据信息,为帮助医药行业从业人员盘点国内新药注册申报情况、全球获孤儿药/突破性/快速通道资格认定品种,分析把握每月全球范围内的新药研发情报、临床结果最新动态,以及投融资市场走向,药融咨询每月定时推出《全球在研新药与靶点月报》。
一、2月国内新药获批临床/上市情况盘点
根据药融云数据统计,2023年2月共有130个化药1类新药受理号获CDE承办(含补充申请30个),其中国产88个,进口12个,从申请类型来看,包括临床申请88个,上市申请12个,涉及71个品种,80家企业;共有90个1类治疗用生物制品受理号获CDE承办(含补充申请13个),其中国产71个,进口6个,从申请类型来看,包括临床申请76个,上市申请1个,涉及76个品种,80家企业;共有7个1类中药受理号获CDE承办(含补充申请1个),从申请类型来看,包括临床申请5个,上市申请1个,涉及7个品种,8家企业。
2月共有51款新药获批临床(共计73个受理号),其中包括25款化药,24款生物制品,2款中药;同时还有4款新药获批上市,分别为盐酸凯普拉生片、Ozanimod胶囊、注射用德曲妥珠单抗、阿得贝利单抗注射液。
2023年2月国内获批临床新药(部分)

图片来源:药融云《全球在研新药与靶点月报》
- 1.Ozanimod胶囊——治疗复发型多发性硬化症
国家药品监督管理局批准百时美施贵宝申报的Ozanimod胶囊上市,用于治疗成人复发型多发性硬化,包括临床孤立综合征、复发-缓解型多发性硬化和活动性继发进展型多发性硬化。
Ozanimod胶囊是一款口服选择性S1PR调节剂,通过选择性结合S1PR1和S1PR5,降低血液和淋巴循环中的淋巴细胞数目,减少中枢神经系统的炎症反应。
据药融云数据库显示,2020年3月26日,Ozanimod胶囊首次获FDA批准上市,用于多发性硬化症。2021年5月27日,再次获FDA批准用于溃疡性结肠炎。截至目前,国内已上市的S1PR调节剂仅有3款,除Ozanimod胶囊外,还有诺华的西尼莫德片和盐酸芬戈莫德胶囊。
Ozanimod获批适应症

图片来源:药融云全球药物研发数据库
多发性硬化(MS)是一种以中枢神经系统(CNS)炎性脱髓鞘病变为主要特点的自身免疫性疾病,属于国家卫健委《第一批罕见病目录》即收录的疾病。中国MS患者在社交、工作及医疗经济等方面面临着严重负担,其中68.7%患者因MS影响日常社交,60.0%患者目前无工作,平均每月除去住院费用外的其他医疗费用超九千的患者比例达44.7%。但在面对如此沉重的负担面前,我国MS患者缓解期的疾病修饰药物(DMT)的使用率却极低,仅为18%。希望更多治疗MS的创新药更好地造福患者,延缓和减少残障的发生,提高患者和家庭的生存质量。
- 2.盐酸凯普拉生片——新型抑酸药
国家药监局批准柯菲平医药/复星医药的盐酸凯普拉生片上市,用于十二指肠溃疡和反流性食管炎的治疗。盐酸凯普拉生(商品名:倍稳)是一种新型钾离子竞争性酸阻滞剂,以离子形式直接与K+竞争H+/K+-ATP酶上K+的结合位点,同时抑制静止状态和激活状态的H+/K+-ATP酶,从而使胃酸分泌得到有效抑制。
盐酸凯普拉生片作为一种新型抑酸药,以抑酸快速、强效、持久等优点,在酸相关疾病的治疗中显示出等同于或优于传统PPI的抑酸疗效, 为ARD治疗面临的挑战提供了新的选择。
盐酸凯普拉生片审评概况

图片来源:药融云中国药品审评数据库
2020年,PCAB已在中国胃食管反流病(GERD)专家共识中与PPI一并成为治疗GRED的首选药物。药融云数据库显示,截止目前,国内共有3款P-CAB上市,分别为武田制药的富马酸伏诺拉生片和罗欣药业的替戈拉生片以及此次获批柯菲平的凯普拉生片。而凯普拉生片则是首个由国内本土企业自主研发上市的P-CAB双适应症创新药。此外,已进入临床3期的P-CAB有2款,分别为生诺医药的X842胶囊、大熊制药的盐酸非苏拉赞片。
- 3.注射用德曲妥珠单抗——乳腺癌重磅ADC新药
国家药监局批准阿斯利康/第一三共的注射用德曲妥珠单抗上市,用于治疗既往接受过一种或一种以上抗HER2药物治疗的不可切除或转移性HER2阳性成人乳腺癌患者。注射用德曲妥珠单抗(英文商品名:Enhertu,通用名:德曲妥珠单抗)采用第一三共专有的DXd-ADC技术,由人源化抗HER2lgG1抗体、可裂解的四肽连接子和拓扑异构酶I抑制剂(喜树碱衍生物DXd)组成。
药融云中国药品审评数据库显示,2022年5月6日,注射用德曲妥珠单抗被正式纳入优先审评,用于治疗既往接受过一种或一种以上抗HER2药物治疗的不可切除或转移性HER2阳性成人乳腺癌患者。
注射用德曲妥珠单抗审评时间轴

图片来源:药融云中国药品审评数据库
除了HER2阳性乳腺癌,德曲妥珠单抗在美国还被FDA批准用于治疗HER2低表达乳腺癌、HER2阳性胃癌和胃食管结合部腺癌患者、携带HER2突变的非小细胞肺癌患者等适应症。
- 4.阿得贝利单抗注射液——首个获批小细胞肺癌适应症的国产PD-L1抑制剂
阿得贝利单抗注射液(SHR-1316)为恒瑞医药研发的PD-L1单抗药物,可以解除PD-L1介导的免疫抑制效应,增强杀伤性T细胞的功能,发挥调动机体免疫系统清除体内肿瘤细胞的作用。阿得贝利单抗注射液获得NMPAP批准上市,与卡铂和依托泊苷联合用于广泛期小细胞肺癌患者的一线治疗(《国产第3款PD-L1单抗!恒瑞医药阿得贝利单抗获批,用于小细胞肺癌》)。
阿得贝利单抗是我国首个获批小细胞肺癌适应症的自主研发PD-L1抑制剂,打破了进口PD-L1抑制剂在这一领域的垄断地位,为广大患者带来全新治疗选择。
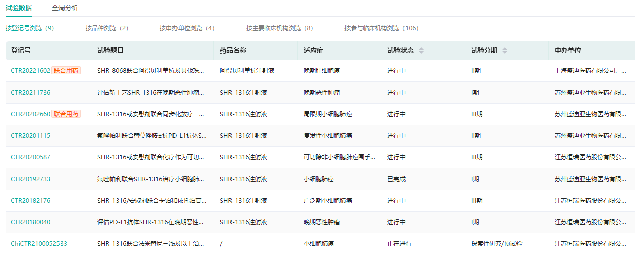
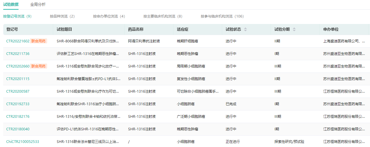
阿得贝利单抗注射液临床试验信息查询(部分)

图片来源:药融云中国临床试验数据库
药融云中国临床试验数据库显示,除已经获批的EC-SCLC适应症外,目前阿得贝利单抗仍在探索其他适应症,其中包括两项3期试验:一是用于局限期小细胞肺癌;二是针对可切除的II-III期非小细胞肺癌围手术期治疗。
二、2月国内创新药投融资事件盘点
据药融云数据统计,2023年2月全球医药大健康行业共发生投融资事件254起,与上月数量比较减少14%,其中融资热度TOP3细分领域分别为创新药、医疗器械耗材、医疗服务,2月融资事件发生数量分别为87起、75起、31起。国内医药大健康行业共发生投融资事件79起,与上月数量比较减少13%,其中医疗器械耗材热度最高,2月共发生融资事件35起,创新药次之(为25起),医药制造/服务、医疗/医药技术、医疗服务、其他发生数量分别为8起、4起、4起、3起。

图片来源:药融云《全球在研新药与靶点月报》
2月创新药大类中,细胞免疫治疗、基因治疗为资本关注的热门赛道;从疾病领域来看,肿瘤为热门投融资疾病领域。从融资轮次来看,2月创新药大类涉及企业总体融资轮次靠前;从融资金额来看,星曜坤泽、原启生物、典晶生物、嘉晨西海、永泰生物、药捷安康、博志研新、星济生物、麦科奥特、和美药业、宁丹新药、复融生物、至善唯新等企业融资金额在1亿元人民币以上。
- 1.四川至善唯新生物科技有限公司
2023年2月1日,基因疗法公司四川至善唯新生物科技有限公司成功完成逾2亿元人民币A+轮融资。本轮融资由国投创业领投,磐霖资本及安信国生基金等跟投,上一轮投资方正心谷资本持续追加投资。BMD资本担任本轮融资的独家财务顾问。本轮融资主要用于至善唯新现有多个产品管线的临床推进和临床前管线的拓展以及公司人才团队的扩展和完善。
至善唯新公司以基因治疗重组病毒载体研发及生产为核心,集基础研究、药物开发和临床级重组病毒产业化制备三大方向于一体,致力于打造国内rAAV基因治疗行业的领军企业。
至善唯新投融资数据查询

图片来源:药融云医药投融资数据库
- 2.苏州复融生物技术有限公司
2023年2月6日,以合成免疫学为技术驱动、聚焦细胞因子等蛋白药物开发的复融生物近日宣布完成超亿元人民币A轮私募融资,本轮融资由普华资本领投,人合资本、方富创投、苏高新创投、苏高新科创天使、黄埔医药基金跟投,老股东凯风创投继续加持,浩悦资本担任本轮融资的独家财务顾问。在本轮资本的助力下,复融生物也将继续加大研发投入,加速推进管线的申报和临床,在细胞因子等蛋白药领域不断拓展布局。
复融生物是一家以合成免疫学为技术驱动、聚焦细胞因子等蛋白药物开发的创新型研发企业。背靠国际知名蛋白药物发现实验室,打造了国际领先的整合式合成免疫技术体系,衍生出F-body长效化技术平台、人工合成新型细胞因子平台、Fc工程化平台、生物分子人工进化平台。四大核心技术可对以细胞因子为代表的蛋白药物进行多维度优化,获得最优产品。领跑管线FL115(IL-15)临床前数据在安全性和疗效方面显著优于领域中代表产品。
- 3.北京永泰生物制品有限公司
2023年2月24日,港股上市公司永泰生物(06978.HK)发布公告称,认购协议项下所有先决条件均获达成。根据相关条款及条件,总金额3亿人民币的可换股债券已发行予投资者。于该公告日期,永泰生物已收到本金总额人民币3亿元。
永泰生物投融资数据查询

图片来源:药融云医药投融资数据库
天士力医药是永泰生物可转债的投资者。根据公告,天士力医药通过3亿元可转债和3.95亿元收购老股的方式,进一步加大对永泰生物的投资。根据公告,该可转债发行完成日期后6个月内,永泰生物将订立一份合约以授予投资者天士力医药销售其EAL®产品的优先购买权。
永泰生物聚焦细胞免疫治疗创新药领域,并已经建立了拥有细胞免疫产品研发所需要的全部技术平台,产品链覆盖了非基因修饰细胞、基因修饰细胞、肿瘤多靶点治疗细胞、肿瘤单靶点治疗细胞等全线肿瘤细胞免疫治疗产品,适应症覆盖了实体瘤和血液肿瘤,构成了阶梯性新产品梯队。
想要获取药融云2月《全球在研新药与靶点月报》完整内容,请关注“药融云”公众号(yrydata),后台回复“报告”领取。
想要解锁更多药物研发信息吗?查询药融云数据库(vip.pharnexcloud.com/?zmt-mhwz)掌握药物基本信息、市场竞争格局、销售情况与各维度分析、药企研发进展、临床试验情况、申报审批情况、各国上市情况、最新市场动态、市场规模与前景等,以及帮助企业抉择可否投入时提供数据参考!注册立享15天免费试用!

<END>








川公网安备51019002008863号
本网站未发布麻醉药品、精神药品、医疗用毒性药品、放射性药品、戒毒药品和医疗机构制剂的产品信息
收藏
登录后参与评论
暂无评论