血管紧张素Ⅱ受体阻断剂(ARB),俗称沙坦类降压药,是临床常用抗高血压药物,被世界卫生组织和我国的高血压治疗指南列为一线降压药物。
据摩熵医药数据显示,当前血管紧张素Ⅱ拮抗药累计销售额突破1693亿元,其中美阿沙坦钾片所属的单方拮抗药占据了1003亿元的市场份额。


截图来源:摩熵医药全国医院销售(全终端)数据库
据悉,美阿沙坦钾片化合物专利已于2025年2月23日到期,制剂专利将于2028年到期。国内多家制药企业已布局该产品开发。
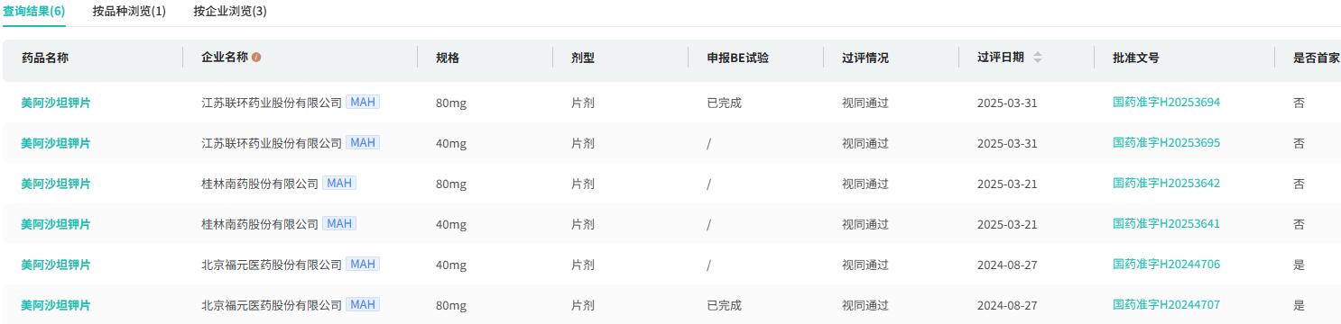
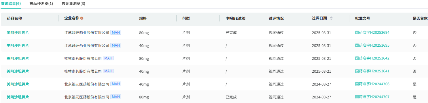
国内仿制情况,根据摩熵医药数据库显示,2024年8月27日,北京福元医药提交的美阿沙坦钾片获批生产并视同过评,拿下国内首仿+首家过评。此外,山东朗诺制药、江苏联环药业也已获得一致性评价。

截图来源:摩熵医药过评药品数据库
截至目前,除国药集团外,还有重庆圣华曦、仁合益康药业、齐鲁制药、合肥立方制药、湖南九典制药等,共24家企提交了美阿沙坦钾片的上市申请,均处于审评阶段。激烈竞争已拉开帷幕,随着审评进程的持续推进,若进展顺利,美阿沙坦钾片纳入集采的时间窗口正在快速逼近。

截图来源:摩熵医药中国药品审评数据库
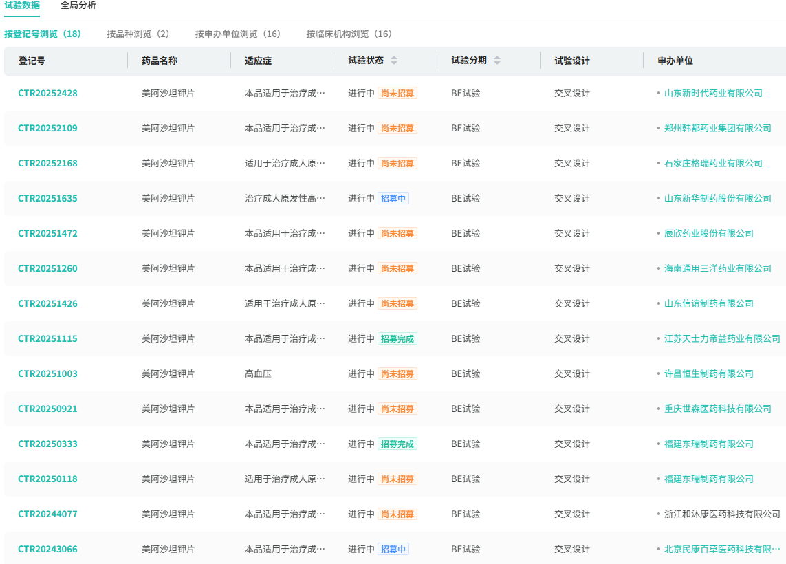
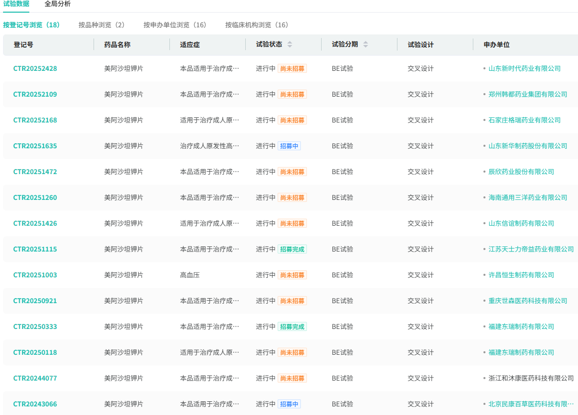
除此之外,还有16家企业的美阿沙坦钾片的BE生物等效实验在开展中。美阿沙坦钾原料药的CDE备案厂家也有18家企业,其中3家企业已经转“A”。

截图来源:摩熵医药中国临床试验数据库
美阿沙坦钾的专利到期之日,或又将是国产仿制药的内卷之时。
小结
面对高血压患病率的持续上升和老龄化趋势的加剧,降压药市场无疑已成为医药行业的战略高地。美阿沙坦钾片作为新一代 ARB 类药物,正以强劲的势头切入这片蓝海。国药集团押注的不仅是一款药物,更是一个千亿级赛道。未来,美阿沙坦钾片究竟能在这片广阔市场中掀起多大波澜,值得行业与患者共同期待。
想要解锁更多药物研发信息吗?查询摩熵医药(原药融云)数据库(vip.pharnexcloud.com/?zmt-mhwz)掌握药物基本信息、市场竞争格局、销售情况与各维度分析、药企研发进展、临床试验情况、申报审批情况、各国上市情况、最新市场动态、市场规模与前景等,以及帮助企业抉择可否投入时提供数据参考!注册立享15天免费试用!

收藏
登录后参与评论
暂无评论