
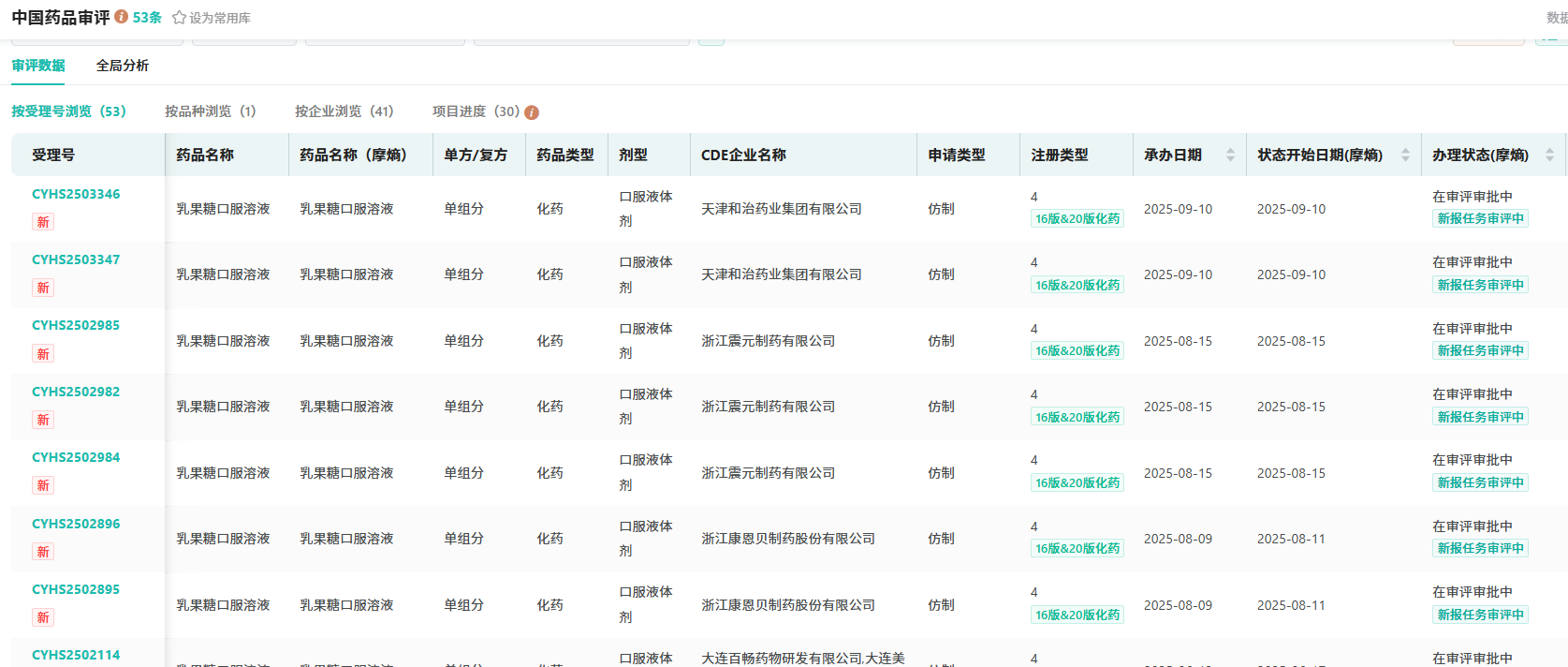
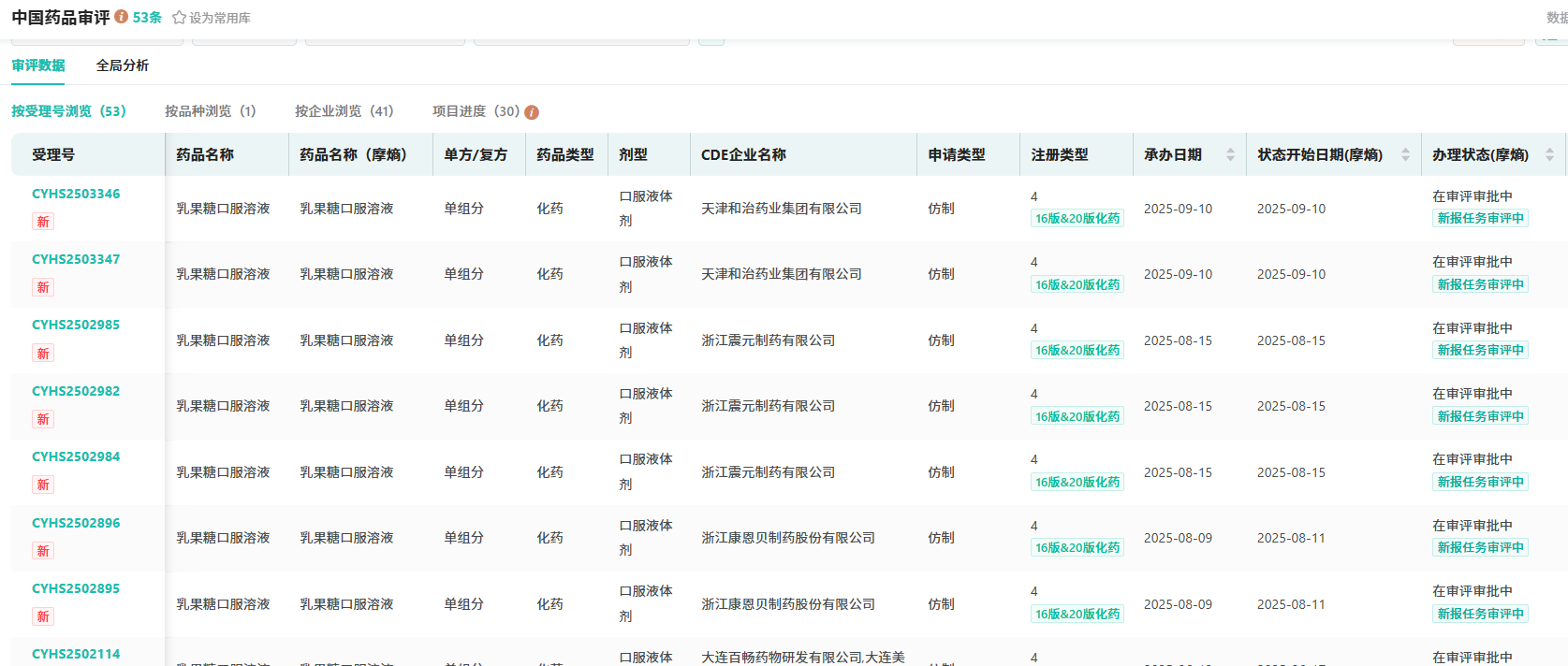
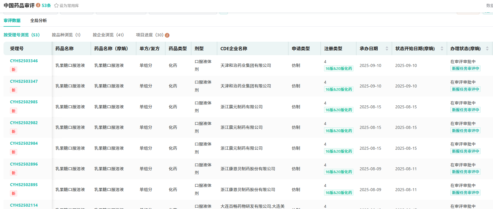
截图来源:摩熵医药过评药品汇总数据库
在仿制药布局方面,乳果糖口服溶液同样吸引了众多药企的目光。有41家药企提交了4类仿制药上市申请,目前均在审评审批中。由于新老批文并存的原因,这个产品还未被国采。不过,随着市场的发展和政策的推进,未来进入国采的可能性较大,这也使得各药企都在积极布局,争取在未来的市场竞争中占据有利地位。

截图来源:摩熵医药中国药品审评数据库
截至目前,国药现代其控股子公司国药集团容生制药有26个品种过评,其中,注射用甲泼尼龙琥珀酸钠被纳入第七批国家药品集中采购,帕拉米韦注射液被纳入第十批集采,地塞米松磷酸钠注射液和注射用阿昔洛韦这两款药品则被纳入第九批集采。

截图来源:摩熵医药过评药品汇总数据库
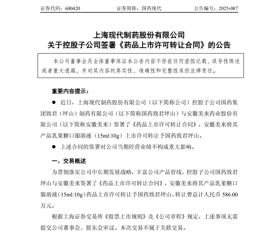
此次国药集团致君(坪山)制药受让乳果糖口服溶液(15ml:10g)上市许可,精准契合公司的战略发展规划。一方面,乳果糖口服溶液作为慢病治疗领域的常用药物,市场需求稳定且持续增长,受让该产品有助于丰富公司慢病治疗产品线,进一步完善公司的产品布局,满足不同患者的用药需求。
参考来源:
[1] 企业官方公告
[2] 摩熵医药(原药融云)数据库
扩展阅读:
1. 摩熵数科资助中国药科大学理学院专项奖学金,共筑医药数智化人才创新生态
2. 2025中国药品院内外市场深度剖析:增长密码与竞争格局揭秘
3. mRNA拿下诺奖!超10家中国药企迎利好
想要解锁更多药物研发信息吗?查询摩熵医药(原药融云)数据库(vip.pharnexcloud.com/?zmt-mhwz)掌握药物基本信息、市场竞争格局、销售情况与各维度分析、药企研发进展、临床试验情况、申报审批情况、各国上市情况、最新市场动态、市场规模与前景等,以及帮助企业抉择可否投入时提供数据参考!注册立享15天免费试用!

收藏
登录后参与评论
暂无评论