2024年销售额下降的主要原因是产品降价,该产品的“垄断”格局曾多次引发争议。2023年7月,产品价格从2303元/支降到了270元/支。同年12月,上海市市场监管局发布通告,对上药第一生化药业等多家相关公司滥用注射用硫酸多黏菌素B市场的支配地位以获取高额利润的行为,作出行政处罚决定,罚没款总额约12.19亿元。
被国家医保局两次约谈后,2024年1月,上药第一生化将注射用硫酸多黏菌素B价格降至123元/支。

截图来源:上海上药第一生化药业官网
从市场格局来看,注射用硫酸多黏菌素B市场长期由上药第一生化药业独占。此前,国内仅有该公司的产品获批上市,为独家生产。

截图来源:摩熵医药全国医院(全终端)销售数据库
2025年4月14日,雅赛利医药咨询(上海)申报的5.2类进口仿制药注射用硫酸多黏菌素B获批,成为国内首仿和首家视同过评的产品,由此打破了上药第一生化的垄断格局。海南倍特药业与汇宇制药于今年6月相继获批。

截图来源:摩熵医药一致性评价数据库
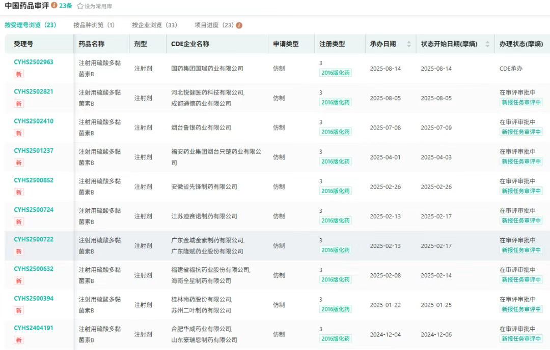
随着众多药企纷纷布局注射用硫酸多黏菌素B,其竞争格局逐渐白热化。在市场规模急剧萎缩的背景下,仍有33家药企竞相入局,均提交了该药物的仿制上市申请。其中不乏齐鲁制药、哈尔滨三联药业、海南合瑞制药、国药集团等知名药企。

截图来源:摩熵医药中国药品审评数据库
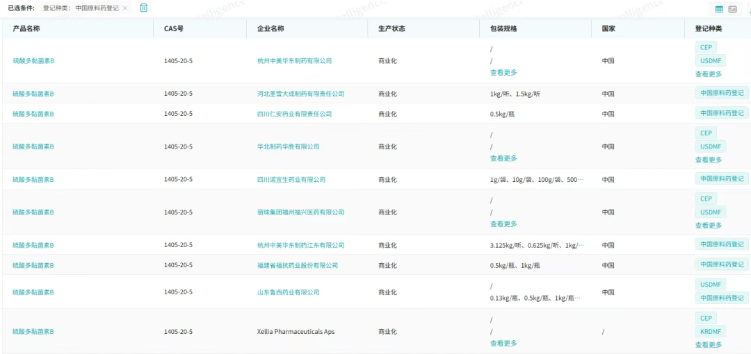
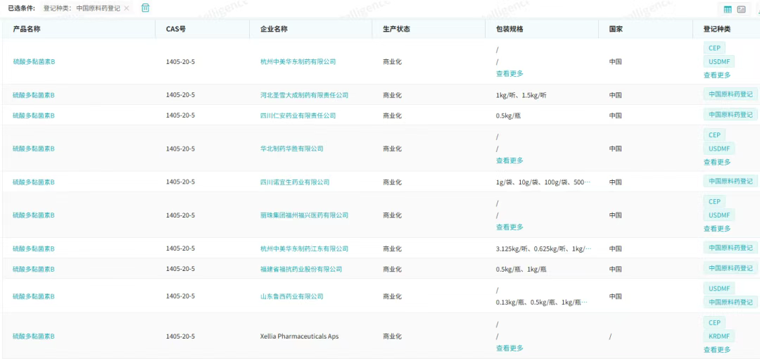
在原料药方面,目前已有10家企业进行了中国原料药登记。

截图来源:摩熵医药原料药数据库
整体而言,注射用硫酸多黏菌素B的市场演变,折射出医药领域政策调控与市场竞争的复杂交织。尽管当前市场规模有所萎缩,但仿制药的密集申报,预示着该领域未来竞争将更趋多元。这场竞争有望进一步提高药品可及性,为抗感染治疗领域的健康发展注入新的活力。
想要解锁更多药物研发信息吗?查询摩熵医药(原药融云)数据库(vip.pharnexcloud.com/?zmt-mhwz)掌握药物基本信息、市场竞争格局、销售情况与各维度分析、药企研发进展、临床试验情况、申报审批情况、各国上市情况、最新市场动态、市场规模与前景等,以及帮助企业抉择可否投入时提供数据参考!注册立享15天免费试用!

收藏
登录后参与评论
暂无评论