
4月,第十批国家药品集中采购(国采)中选结果将在全国范围内正式落地执行。此次国采涉及62个品种,覆盖高血压、糖尿病、肿瘤、心脑血管疾病、感染、精神疾病等多个治疗领域,各省市正紧锣密鼓地进行执标准备工作。
第十批国采中选结果将落地,多地紧锣密鼓筹备执行
按照国家医保局要求,第十批国采中选结果将于4月正式落地执行。据摩熵医药不完全统计,目前已有上海、天津、宁夏、河北、江西、浙江、安徽、湖北、甘肃等省市发布了第十批国采执行工作的相关通知,多地进入执行前的准备阶段。
天津:天津市医药采购中心发布公告,将于2025年4月1日调整第十批国家组织集采中选及备供药品网上采购价格。在此之前,天津已开展一系列准备工作:3月10日至12日进行药品信息维护,针对第十批国采天津中选及备选品种;3月10日至14日确认中选药品配送关系;3月13日至16日17时公示中选药品采购执行量;3月17日至24日17时开展三方协议网上签订。
甘肃:3月27日,甘肃省开展第十批国采甘肃省第二备供企业和残缺规格基药规格供应企业确认工作。3月30日前,第十批国采甘肃中选、备供药品均需按照中选价通过招采管理子系统重新申报。
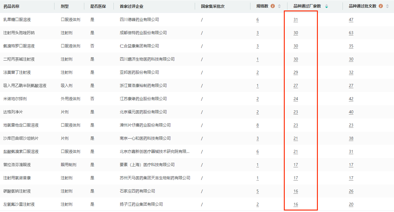
第十批国采品种详细信息查询

图片来源:摩熵医药药品集中采购数据库
上海:3月25日,上海市医药集中招标采购事务管理所明确表示将在4月正式执行中选结果。强调四方面内容:提前做好中选药品进院准备,优先采购和使用中选药品,做好备供药品进院使用,加强医务人员宣传培训。对于未采购的中选药品,医疗机构需及时召开药事委员会,简化采购流程,确保用药渠道畅通;同时,医疗机构应通过中选企业指定的配送企业采购中选药品,回款时间不超过交货验收合格后的次月底。
宁夏:在3月20日发布的公告中指出,即日起开展第十批国家组织药品集中采购中选、备供、第二备供、非主供非备供药品资质申报。中选、备供、第二备供的申报截止日期为3月24日,而对非主供非备供的药品资质申报时间则放宽到4月10日。
河北:在3月19日已完成中选药品以及备供药品企业目录的勾选与报价工作,并于3月25日公布了第十批国家组织药品集中采购河北省残缺规格药品及间苯三酚注射剂中选企业。
浙江、安徽:于3月25日完成部分品种第二备供确认工作,并要求申报价格不得高于其中选价格的1.5倍或同品种最高中选价。相比于浙江省,安徽省的申报要求更加宽松,除安徽省的中选企业和备供企业外,供应清单中相关药品的其他中选企业,均有资格参与本次价格申报工作。
湖北:在3月24日发布公告,称开展了第十批国采供应清单品种集中申报和信息维护工作,并进行了挂网信息调整等工作,并将拟执行结果进行公示,公示日期截止到3月28日。
随着第十批国采中选结果落地,高频的质量监管、供应监测也将同步开始。据国家组织药品联采办日前通报,间苯三酚注射液最低价中标企业已经被取消中选资格,并暂停其产品上市销售,由其作为间苯三酚注射液主供企业的省份,由备供企业替补成为主供企业。
征求意见稿引发热议:禁止恶意压价、爆仓机制、强竞争品种预警...
3月27日,一份《进一步优化药品集采政策的方案(征求意见稿)》在业内流传,针对当前国家药品带量采购中的问题,提出了一系列优化措施。
该征求意见稿的核心内容如下:
优化集采品种和投标企业准入标准:集采将聚焦于已过专利保护期、竞争充分的“老药”,排除新药和市场规模小的品种。投标产品需为参比制剂或通过质量和疗效一致性评价的仿制药,且其生产线近两年需符合药品GMP要求,无抽检不合格记录。高风险品种如治疗窗口药物等,需经药监部门研判后审慎纳入。持有人或受托生产企业应具备累计2年以上同类型制剂药品的实际生产经验。对于近2年未生产的药品,需经药监部门评估确认质量对比一致后方可申报。中选药品如变更生产相关信息,需与一致性评价获批时保持一致。
优化报量和竞价规则:医疗机构报送采购需求量需细化到具体药品品牌,每家医疗机构针对每个采购品种不超过2个品牌,汇总后按报量的60%-80%确定约定采购量,特殊品种适当降低。竞价规则坚持市场竞争机制,参比制剂与仿制药同组竞争,综合考虑质量、供应能力、信用等因素,实行有淘汰的入围机制。引入价差熔断机制,设定偏离度指标,防范恶意低价竞争,报价最低企业需发布成本声明。同时,引入低价保护机制,鼓励企业理性报价,特定价格以下的报价可不受熔断规则限制。
优化分量规则:中选产品将优先满足医疗机构报量,若医疗机构报量企业中选则直接供应,未中选则医疗机构可自主选择剩余量。中选企业按顺位选省,每个省份有1家主供企业,报量品牌部分或全部未中选时,剩余量可选择主供企业或其他低价中选企业。为防范供应垄断,当企业市场份额超50%时触发“爆仓”机制,释放超额部分给其他企业。同时,提升基层医疗机构分量自由度,需求量较少的医疗机构在选择剩余量时可自由选择中选产品。
优化落地实施措施:中选产品将按统一价格供应全国,不再区分主供和非主供省份,并实行统一医保支付标准,以最高中选价1.5倍为上限,适时逐步统一以最高中选价为医保支付标准。各地医保部门将合理监测考核,明确集采协议量为医疗机构报量的一定比例,剩余用量可按需采购非中选产品,同时在临床需求变化时不要求必须完成约定采购量,仅要求优先使用中选产品。对投标过程中的违规行为、产品质量风险、供应短缺等问题,将采取取消中选资格、纳入违规名单等措施,并进行信用评价。此外,全面实施医保基金与医药企业直接结算,提高企业回款效率,并推动集采药品进入基层医疗机构、民营医药机构和零售药店,方便群众就近购买。
强化质量评估和监管:对集采中选企业检查和品种抽检实现“全覆盖”,特别是对低价中选药品、发生重大变更的中选药品强化监管。鼓励企业、医疗机构、科研机构等开展药品上市后再评价或真实世界研究,探索在集中采购中参考相关研究证据。
提高信息透明度:办联采办定期发布“强竞争品种”预警(过评企业超12家),提醒企业避免过度竞争,并在投标前对竞争特别激烈的品种(过评企业超20家)发布提醒。同时,要求投标企业提交并公开药品相关数据及药监检查信息,中选企业需公开质量联系人信息及变更详情,以便各方监督。此外,开展质量开放日活动,并对集采药品实行追溯码管理,确保“带码采购、依码结算、无码不付”,支持药品全生命周期质量监管。
第十一批国采,超百个品种满足基本条件
随着第十批国采落地在即,第十一批国采的准备工作也有望提上日程。国家医保局曾表示,今年上半年将启动第十一批药品集采。
目前,已有110多个品种满足原研企业+过评企业≥7家的竞争格局,初步具备纳入国采的条件。从品种竞争情况看,竞争最激烈的品种是乳果糖口服溶液,过评企业达到31家。注射用头孢唑肟钠、氨溴特罗口服溶液、二羟丙茶碱注射液的过评企业也达30家,法莫替丁注射液达29家,吸入用乙酰半胱氨酸溶液达27家,米诺地尔搽剂达24家。

图片来源:摩熵医药过评药品汇总数据库
从企业情况来看,石家庄四药、齐鲁制药、江苏万高药业、科伦药业、扬子江药业、成都倍特药业、华海药业、山东京卫制药均有10个及以上的品种在列。

图片来源:摩熵医药过评药品汇总数据库
乳果糖口服溶液是一款渗透性泻药,为全国医保乙类、OTC甲类(双跨)品种,用于慢性或习惯性便秘,调节结肠的生理节律;肝性脑病用于治疗和预防肝昏迷或昏迷前状态。
据摩熵医药数据库的销售数据显示,2023年在国内医院终端市场乳果糖口服溶液的销售额达18.40亿元,同比增长1.73%;在治疗便秘的化药产品排名中稳居首位。从TOP10企业竞争格局来看,雅培、韩美、费森尤斯卡比位居前三,分别占据43.46%、28.79%、13.28%的市场份额。

图片来源:摩熵医药全国医院销售(全终端)数据库
注射用头孢唑肟钠,属于第三代头孢菌素类抗生素,具有广谱抗菌作用,对多种革兰阳性菌和革兰阴性菌产生的广谱β内酰胺酶(包括青霉素酶和头孢菌素酶)作用稳定,临床广泛用于治疗下呼吸道感染、尿路感染、腹腔感染、盆腔感染、败血症、皮肤软组织感染、肺炎链球菌或流感嗜血杆菌所致脑膜炎等疾病。
据摩熵医药销售数据显示,注射用头孢唑肟钠2023年在国内医院终端市场的销售额达到46.81亿元,同比增长1.46%。在TOP10企业竞争格局中,西南药业、海口市制药厂、国药集团致君(深圳)制药位居前三,分别占据45.01%、13.71%、11.18%的市场份额。


图片来源:摩熵医药全国医院销售(全终端)数据库
想要解锁更多药品信息吗?查询摩熵医药(原药融云)数据库(vip.pharnexcloud.com/?zmt-mhwz)掌握药品各国上市情况、药品批文信息、销售情况与各维度分析、市场竞争格局、一致性评价情况、集采中标情况、药企申报审批信息、最新动态与前景等,以及帮助企业抉择可否投入时提供数据参考!注册立享15天免费试用!








川公网安备51019002008863号
本网站未发布麻醉药品、精神药品、医疗用毒性药品、放射性药品、戒毒药品和医疗机构制剂的产品信息
收藏
登录后参与评论
暂无评论