作为该市场的TOP1产品,沙库巴曲缬沙坦钠片吸引多家本土药企争相布局。

截图来源:摩熵医药全国医院(全终端)销售数据库
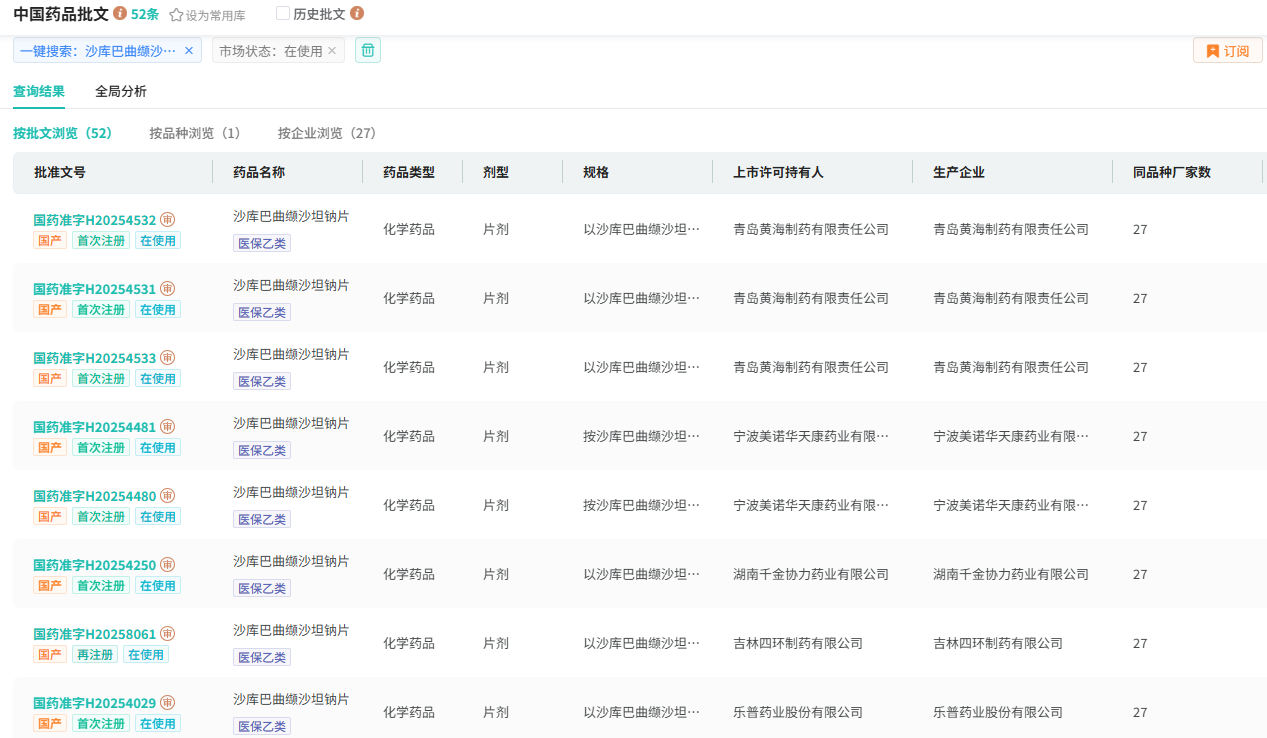
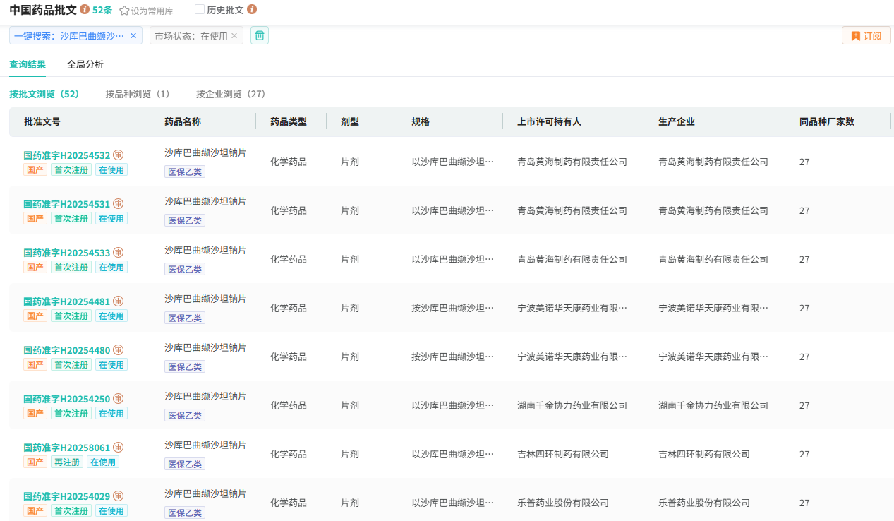
据摩熵医药数据库显示,目前沙库巴曲缬沙坦钠片有27家企业的52个生产批文在使用中,26家企业过评,其中不乏科伦药业、倍特药业、正大天晴、齐鲁制药、石药集团等多家明星药企。

截图来源:摩熵医药中国药品批文数据库

截图来源:摩熵医药过评药品汇总数据库
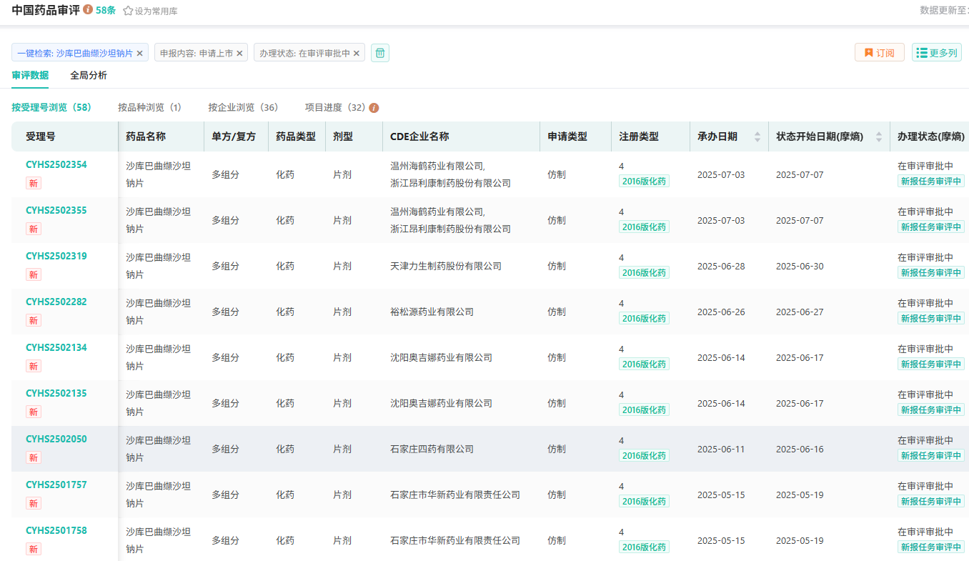
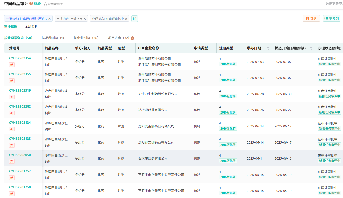
除本次递交上市申请的复星医药外,华北制药、山东鲁抗医药、海南葫芦娃药业、山东新华制药、石家庄四药等36家企业均以仿制4类报产在审,获批后视同过评。

截图来源:摩熵医药中国药品审评数据库
在专利布局上,诺华针对沙库巴曲缬沙坦,在中国上市药品专利信息登记平台登记了3件专利,受到众多仿制药企的专利挑战。
201110029600.7的物理组合物因创造性问题被专利复审委员会宣告全部无效,但目前在法院审理过程中。两件晶型200680001733.0(三钠半五水合物)、201210191052.2(Na3·xH2O,其中x是0-3)经数轮挑战后,保护范围不同程度的缩小,保护期即将于2026年11月届满。预计未来沙库巴曲缬沙坦钠片市场竞争将逐渐加剧。

截图来源:摩熵医药中国上市药品专利数据库
小结
未来,随着原研专利到期及仿制药的陆续上市,沙库巴曲缬沙坦钠片的价格战将愈演愈烈,有望过渡为高性价比的基础用药,为心衰及高血压患者提供更经济的治疗选择。同时,仿制药企还需在“速度”与“成本”两大核心维度持续精进,以在白热化的市场竞争中筑牢优势壁垒。
想要解锁更多药物研发信息吗?查询摩熵医药(原药融云)数据库(vip.pharnexcloud.com/?zmt-mhwz)掌握药物基本信息、市场竞争格局、销售情况与各维度分析、药企研发进展、临床试验情况、申报审批情况、各国上市情况、最新市场动态、市场规模与前景等,以及帮助企业抉择可否投入时提供数据参考!注册立享15天免费试用!

收藏
登录后参与评论
暂无评论