
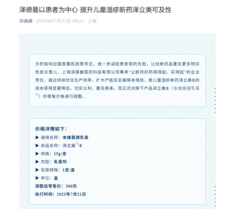
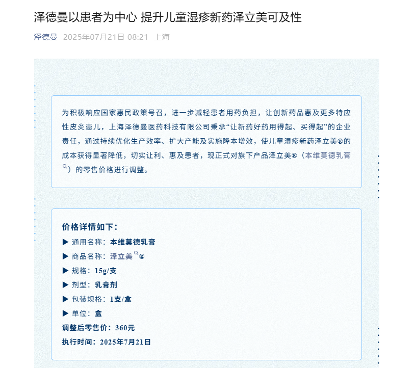
7月21日,上海泽德曼医药科技有限公司正式宣布,即日起将旗下全球首款非激素类AhR靶点特应性皮炎(湿疹)创新药——本维莫德乳膏(泽立美®)15g装零售价格从980元/支调整至360元/支,降幅达63.2%,为数百万特应性皮炎患儿及家庭带来重大利好。

截图来源:泽德曼官方公众号
特应性皮炎是一种慢性、复发性炎症性皮肤病,我国儿童患病率超12%,其中重度患儿常伴发哮喘、过敏性鼻炎等并发症,长期依赖激素类药物导致皮肤萎缩、免疫力下降等副作用频发。传统治疗方案中,外用糖皮质激素虽能快速控炎,但儿童长期使用可能引发生长抑制、代谢紊乱等风险,临床亟需安全有效的替代疗法。
本维莫德乳膏(泽立美®)作为全球首款非激素类AhR(芳香烃受体)调节剂,通过抑制炎症因子、修复皮肤屏障双机制,可实现1天快速止痒、2周显著改善皮损的临床效果。该药填补了2岁以上儿童非激素治疗的空白,儿童组EASI75应答率达83.9%,且无激素副作用,为长期规范治疗提供了可能。

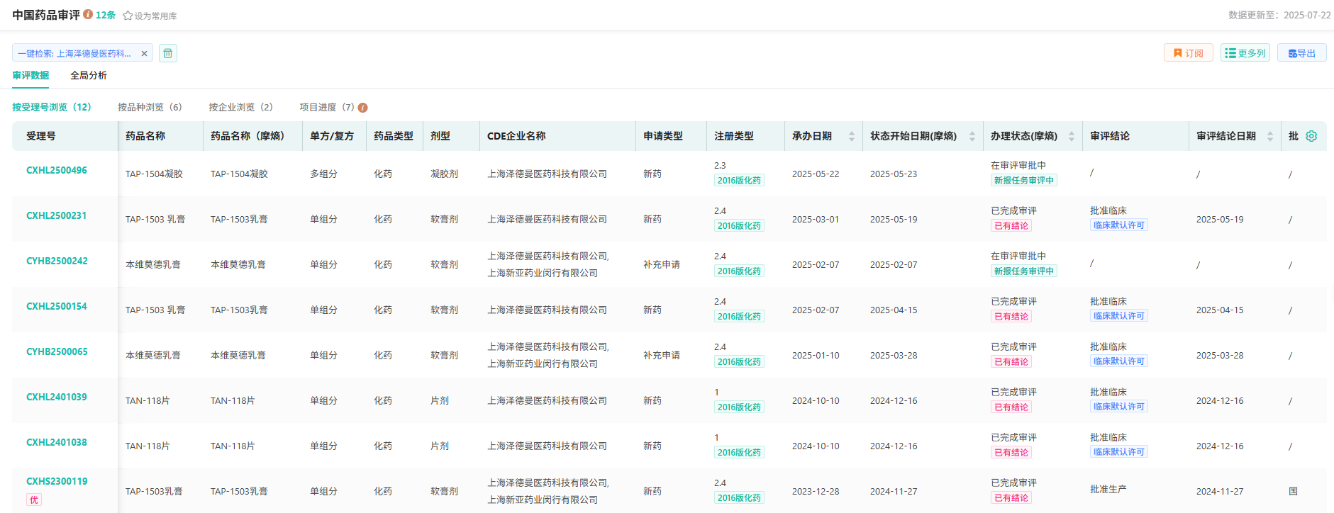
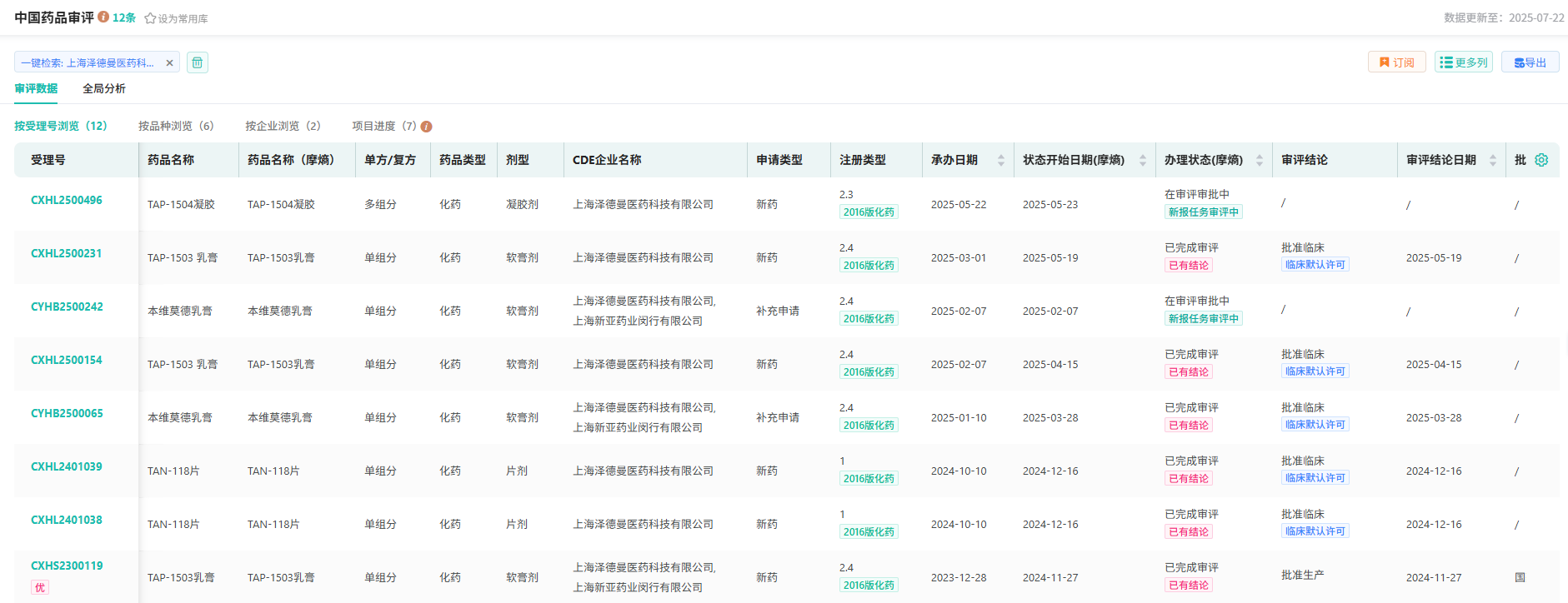
截图来源:摩熵医药全球药物研发数据库
值得关注的是,本维莫德乳膏(泽立美®)于2024年11月通过国家药监局优先审评审批上市,20天后即获美国FDA批准,成为我国首个在中美同步上市的AhR靶点药物。此次降价或为即将启动的医保谈判铺路——若纳入医保目录,患者实际支付价格有望进一步降低。
价格调整政策实施首日,泽立美®在京东健康、阿里健康等电商平台迅速售罄。京东健康数据显示,7月21日上午10时至12时,该产品咨询量激增20倍,补货申请覆盖全国23个省份。
国际市场对此亦高度关注。2025年6月,美国皮肤病学会(AAD)在最新指南中首次将泽立美®列为特应性皮炎“强烈推荐”药物,标志着中国创新药首次获得国际顶级医学机构最高级别认可。目前,该药已在欧盟、日本等15个国家启动注册,预计明年实现全球上市,此次降价或将加速泽立美®在全球市场的渗透,预计2026年海外销售额占比将突破40%。
关于泽德曼医药
泽德曼医药是一家专注于免疫介导疾病治疗领域新药研发的创新型医药企业,致力于患者数量庞大、治疗困难、需求迫切相关疾病领域的新药研发。据摩熵医药数据库显示,除已获批上市的本维莫德乳膏外,还有TAP-1503乳膏、TAN-118片、TAP-1502喷雾剂等5款药品在研中,值得期待。

截图来源:摩熵医药-中国药品审评数据库
小结
本维莫德乳膏(泽立美®)的此次降价标志着我国创新药从“高价值”向“高可及性”迈出关键一步。随着医保谈判推进和产能持续释放,本维莫德乳膏有望成为特应性皮炎治疗的“金标准”,为全球患者提供中国方案。
想要解锁更多药企信息吗?查询摩熵医药(原药融云)数据库(vip.pharnexcloud.com/?zmt-mhwz)掌握药物基本信息、市场竞争格局、销售情况与各维度分析、药企研发进展、临床试验情况、申报审批情况、各国上市情况、最新市场动态、市场规模与前景等,以及帮助企业抉择可否投入时提供数据参考!注册立享15天免费试用!








川公网安备51019002008863号
本网站未发布麻醉药品、精神药品、医疗用毒性药品、放射性药品、戒毒药品和医疗机构制剂的产品信息
收藏
登录后参与评论
暂无评论