
诺瓦瓦克斯(Novavax)是一家具有30余年历史的美国疫苗研发公司,疫情出现之前,该公司未有一款疫苗成功获批上市,在临床试验中反复失败,一度濒临退市。早在2020年10月,在转向开发COVID-19疫苗后,该公司就宣布遇到了生产问题,导致Ⅲ期试验和疫苗上市放缓。而后其冠状病毒疫苗 Nuvaxovid据称存在心肌炎和严重过敏反应等安全性问题。虽然经受住了这些挑战,但该疫苗直到2022年7月才获得FDA的紧急使用授权,而此时辉瑞、BioNTech 和 Moderna 已基本占领了市场。Novavax 在2022年全年财务报告中告知投资者,公司可能无法在2024年2月后继续运营。
如今,陷入困境的疫苗生产商Novavax终于又恢复了盈利。在2023年8月2日公布的第二季度财务报告中,这家总部位于马里兰州的生物技术公司出人意料地实现了5800万美元的净收入,而去年同期的净亏损为5.1亿美元。

根据今日(2023年8月9日)最新消息,韩国SK集团的制药子公司SK Bioscience收购了Novavax 7%的股份,即650万股,交易价值约1100亿韩元(8350万美元)。此外,两家公司还延长了最近签订的Novavax针对COVID-19变种的新疫苗许可合同。Novavax首席执行官John C. Jacobs表示:“SK Bioscience 的战略投资和进一步合作协议表明,他们对我们的技术和潜力充满信心。两家公司将在保护人类健康的道路上不断寻求合作的可能性。”
然而,Novavax并未彻底摆脱困境,因为其扭亏为盈的战略取决于今年秋季推出的新型COVID-19疫苗。在第二季度,Novavax 继续准备为 2023 年秋季接种季提供更新的 XBB COVID 疫苗。在包括美国在内的大多数主要目标市场,Novavax 疫苗一旦获得授权,将成为唯一可用的非mRNA XBB COVID 疫苗。
目前,该公司已获得欧盟委员会对COVID-19疫苗(商品名:Corovax,代号:NVX-CoV2373)的全面市场授权(MA)。美国食品和药物管理局(FDA)预计要到9月底才会对 Novavax 的新型非mRNA XBB COVID 疫苗做出决定。
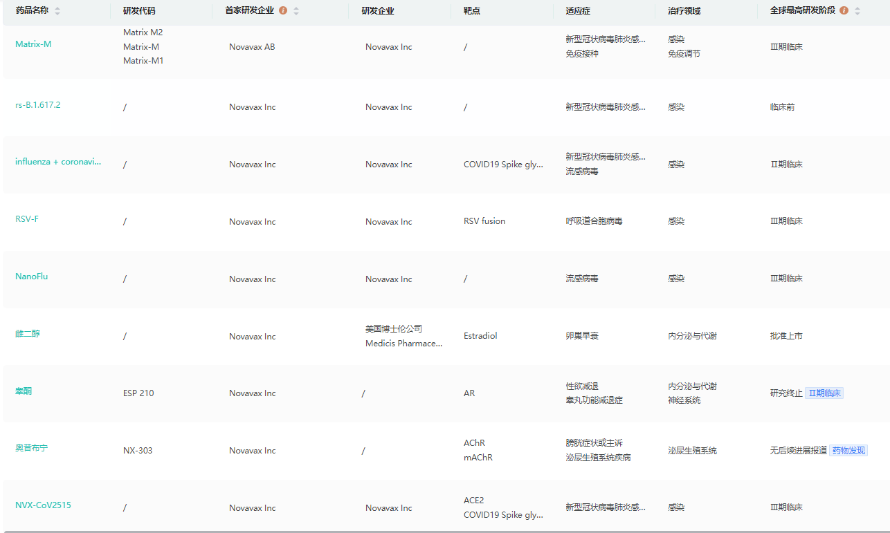
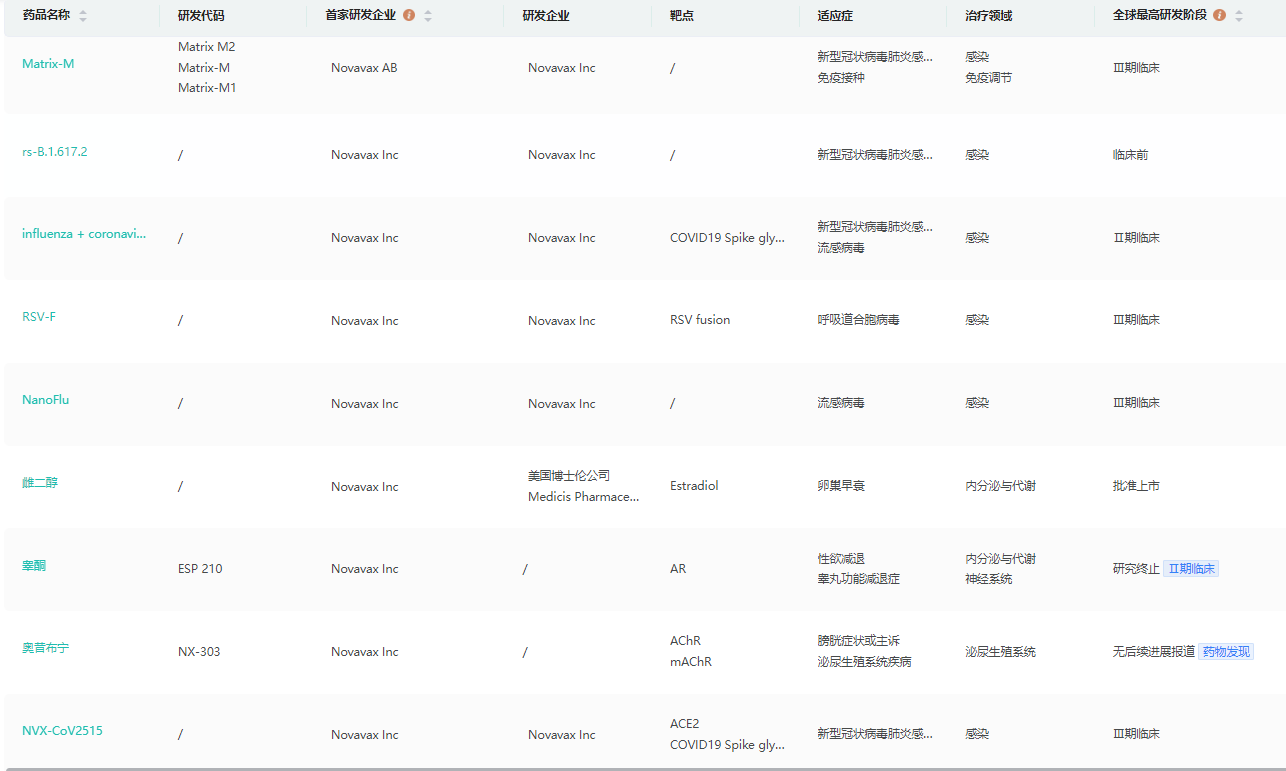
Novavax研发管线(部分)

截图来源:药融云全球药物研发数据库
John C. Jacobs在与投资者的收益电话会议上表示:“我们还有很多工作要做,面临着巨大的执行风险。我们今年能否取得成功,在很大程度上取决于监管机构对我们的申请作出反应的方式和时间,以及秋季的发展情况,包括对COVID疫苗的总体需求。”
根据Novavax发布的2023年半年报,Novavax 公布的第二季度销售额为4.244亿美元,与预期的2.392亿美元和2022年同期的1.859亿美元相比大幅增长。23H1实现营收5.05亿美元,同比下降43.26%,实现净收入23.59亿美元,同比下降23.18%;23Q2实现营收4.24亿美元,同/环比+128.28%/+424.30%,实现净收入0.58亿美元,同/环比-88.64%/-67.39%。
2023年第一季度的情况却比较乐观,削减成本和依靠其唯一的产品--基于蛋白质的冠状病毒疫苗,有助于进一步扭转公司的颓势。第二季度财报支持了这一势头,FDA的COVID疫苗工作方向也是如此。
Novavax2023年第2季度财报

此外Novavax正在继续执行5月份宣布的成本削减计划,其中包括裁员25%。该公司重申,2023年全年的目标是将R&D和SG&A费用总和降至13亿至14亿美元之间,与 2022年相比减少20%至25%。Novavax公司还表示,今年已将流动负债减少了10多亿美元,随着秋季疫苗接种季的临近,公司的现金和应收账款已超过9亿美元,这对这几年困难重重的Novavax来说是个好消息。
2023 年6月,该公司在FDA咨询委员会会议上公布的数据显示,其疫苗可预防多种冠状病毒亚变种,尤其是XBB.1.5。FDA已建议COVID-19疫苗的生产商更新开发含有单价XBB.1.5成分的疫苗。Novavax 首席财务官Jim Kelly在周二的财报电话会议上表示,公司预计其更新的XBB COVID疫苗产品的销售将在第四季度大幅增长。
总结
生物医药是一个随时处于风口浪尖的行业,竞争残酷而激烈。随着各国陆续暂停了有关新冠疫情的紧急计划,全球范围内对于新冠疫苗的需求下降已是不争的事实。不仅仅是 Novavax,mRNA疫苗技术的代表企业辉瑞、BioNTech与 Moderna的股价也在2022年间开始下跌。
最近,Moderna 公司将其候选流感疫苗推进到第三阶段,其基于mRNA的实验性流感疫苗对甲型流感病毒诱导了强烈的免疫反应。除Moderna之外,辉瑞与BioNTech、葛兰素史克(GSK)与赛诺菲也正在合作推动相关管线。
无论如何,这些消息都给了 Novavax一线希望,4月,Novavax另一款新冠/流感组合疫苗在I/II期研究中取得初步结果,显示出良好的耐受性和免疫原性。至于 Novavax能否真正绝处逢生,相关业内人士也无法给出答案。
参考资料:
1.公司官网
2.药融云数据库
<END>
要解锁更多企业药品研发信息吗?查询药融云数据库(vip.pharnexcloud.com/?zmt-mhwz)掌握药品各国上市情况、药品批文信息、销售情况与各维度分析、市场竞争格局、一致性评价情况、集采中标情况、药企申报审批信息、最新动态与前景等,以及帮助企业抉择可否投入时提供数据参考!注册立享15天免费试用!








川公网安备51019002008863号
本网站未发布麻醉药品、精神药品、医疗用毒性药品、放射性药品、戒毒药品和医疗机构制剂的产品信息
收藏
登录后参与评论
暂无评论