
博安生物宣布,其自主开发的靶向CEACAM5(CEA)和CD3的双特异性抗体BA1202已完成I期临床试验的首例受试者给药。该候选药物是中国首个进入临床阶段的CEA/CD3双特异性抗体。

结构机制创新,具备单药和联用前景
BA1202是靶向CD3和CEA的双特异性抗体,通过同时结合T细胞上的CD3和肿瘤细胞的CEA,将T细胞连接到肿瘤细胞从而杀伤肿瘤细胞。CEACAM5(CEA)在结直肠癌、非小细胞肺癌、胰腺癌和胃癌等上皮性肿瘤细胞的表面广泛表达,而在正常组织中表达较少,是肿瘤靶向治疗的潜在靶点;CD3是T细胞表面的跨膜蛋白,可与T细胞上的TCR结合形成受体复合物激活T细胞,并释放颗粒酶及穿孔素,从而有效杀伤肿瘤细胞。CD3双抗还能增加免疫细胞浸润肿瘤组织,促进“冷肿瘤”转变为“热肿瘤”,提高免疫治疗的敏感性,因而具有与免疫检查点抑制剂联合增效的潜力。
BA1202采用一种新型的蝴蝶状抗体结构设计:其一端与肿瘤细胞上的CEA二价且高亲和力结合,另一端与T细胞上的CD3单价且相对低亲和力结合,同时保留Fc区,在降低CRS风险的同时可保证优异的药物疗效。
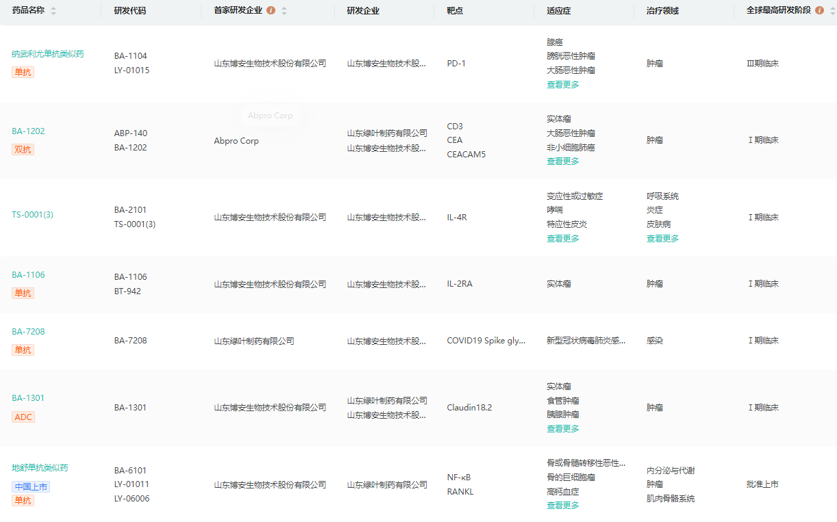
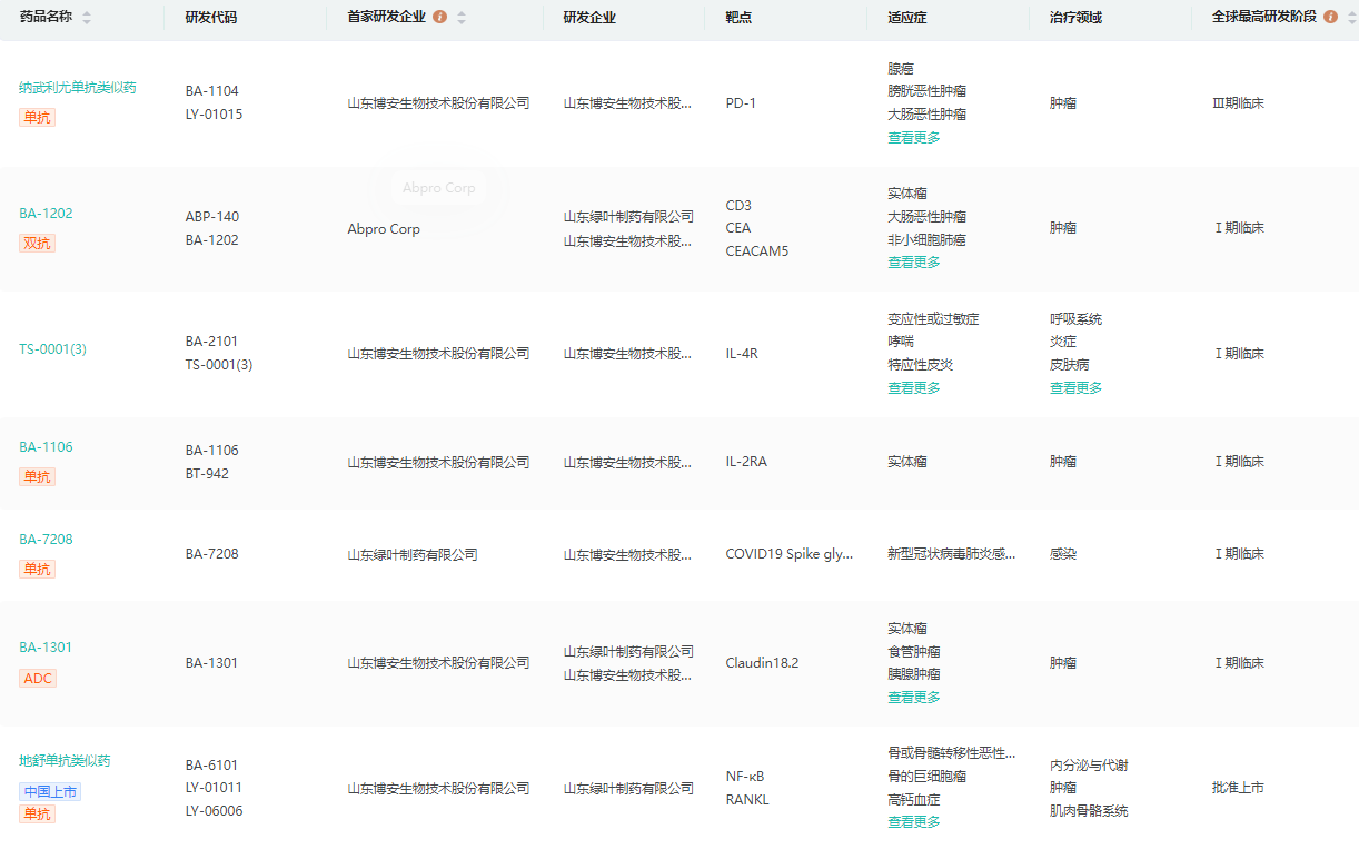
博安生物部分研发管线

数据来源:药融云全球药物研发数据库
开发进度领先,适应症人群广泛
作为国内首个进入临床阶段的CEA/CD3双抗产品,BA1202在临床前研究中展现出良好的治疗潜力:BA1202对CEA阳性肿瘤细胞展示出优异的杀伤活性,在小鼠结直肠癌模型中完全清除了肿瘤,在低剂量0.1mg/kg即有抗肿瘤效应,表现出良好的剂量-效应关系;与PD-L1抗体等联用相比于单药具有更优的体内抗肿瘤作用。同时在转基因小鼠重复给药毒性试验中表现出良好的安全性。相关研究结果已发表于Antibody Therapeutics1。
博安生物研发总裁兼首席运营官窦昌林博士表示:“BA1202是基于博安生物T-cell Engager技术平台自主开发的首个CD3双抗候选药物,结构机制创新、研发进度领先,具有广阔的临床开发前景。博安生物将全力推进BA1202的临床开发,为胃癌、肺癌和结直肠癌等CEA阳性恶性肿瘤患者提供突破性疗法。”
关于博安生物
博安生物(6955.HK)是一家全面综合性生物制药公司,专业从事生物药开发、生产和商业化,专注于肿瘤、自身免疫、眼科和代谢疾病。公司的新药发现活动围绕多个平台展开,包括全人抗体转基因小鼠及噬菌体展示技术平台、双特异T-cell Engager技术平台、抗体药物偶联(ADC)技术平台及细胞治疗平台。
参考资料:
1.公司官网
2.药融云数据库
<END>
要解锁更多企业药品研发信息吗?查询药融云数据库(vip.pharnexcloud.com/?zmt-mhwz)掌握药品各国上市情况、药品批文信息、销售情况与各维度分析、市场竞争格局、一致性评价情况、集采中标情况、药企申报审批信息、最新动态与前景等,以及帮助企业抉择可否投入时提供数据参考!注册立享15天免费试用!








川公网安备51019002008863号
本网站未发布麻醉药品、精神药品、医疗用毒性药品、放射性药品、戒毒药品和医疗机构制剂的产品信息
收藏
登录后参与评论
暂无评论